GM Service Manual Online
For 1990-2009 cars only
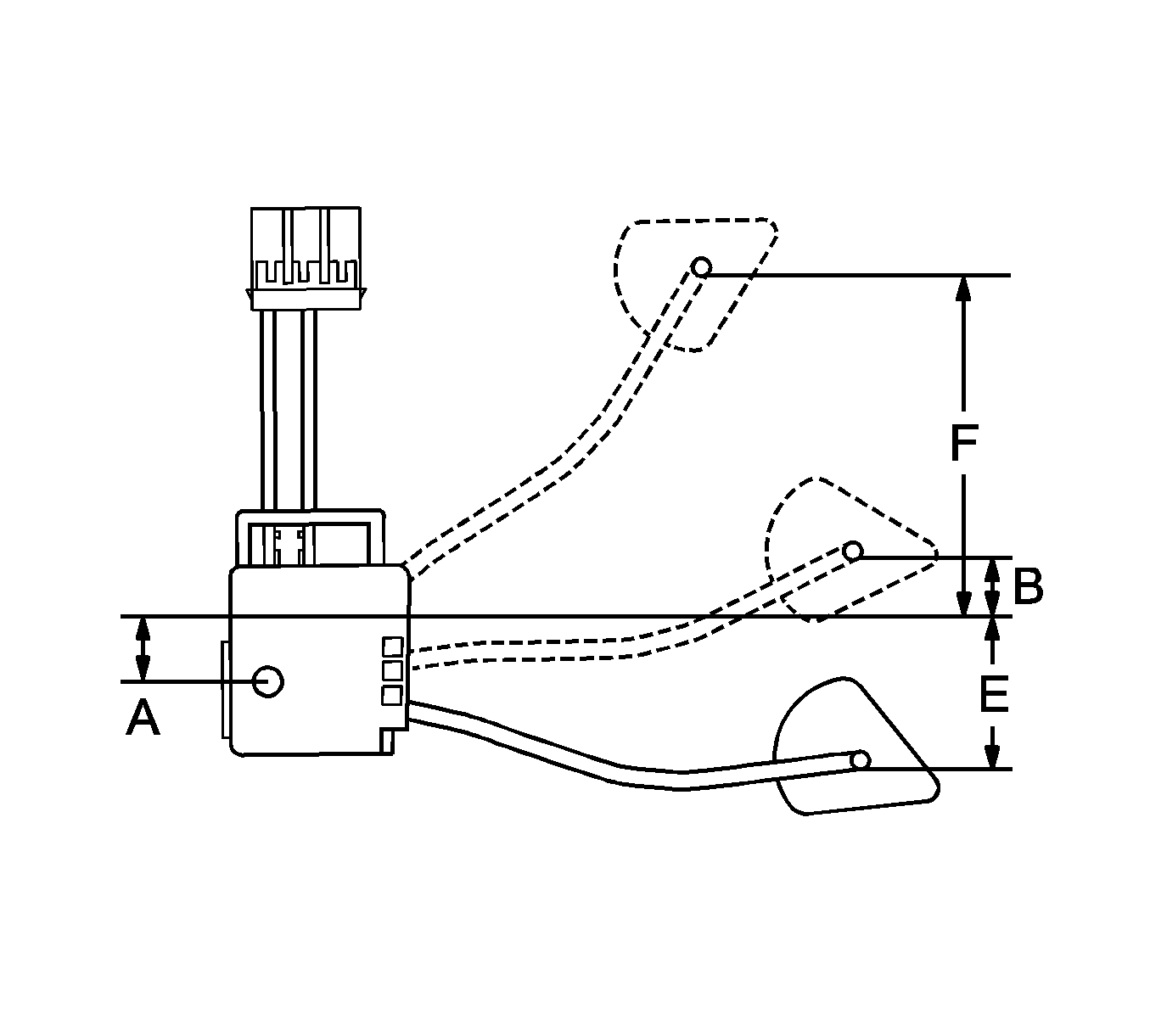
Table 1: Fuel Sender Specifications

Diagnostic Aids


Object Number: 1824868  Size: SH

Fuel Sender Specifications

Float Level

Float Position mm (in.)

Resistance (ohms)

F

64.5 (2.53) ± 3 (0.12)

15.0 ± 1

1/2 (B)

11.6 (0.45) ± 3 (0.12)

54.7 ± 3

E

52.7 (2.07) ± 3 (0.12)

107.0 ± 1

Important: In reference to these specifications: all measurements must be made from the baseline measurement of A  = 12 mm (0 in.).

Step

Action

Values

Yes

No

1

Did you review the and perform the necessary inspections?

--

Go to Step 2

Go to Diagnostic Starting Point - Instrument Panel, Gages and Console

2

Verify that the fuel gage is inaccurate or inoperative.

Does the fuel gage operate normally?

--

Go to Testing for Intermittent Conditions and Poor Connections in Wiring Systems

Go to Step 3

3

  1. Disconnect the fuel sender connector.
  2. Turn the ignition switch to the ON position.

Does the gage read empty?

--

Go to Step 4

Go to Step 6

4

With the fuel sender connector still disconnected and the key still in the ON position. Connect terminals 2 and 3 on the vehicle side of the connector.

Does the fuel gage read full?

--

Go to Step 5

Go to Step 6

5

  1. Remove the sender from the fuel tank
  2. Measure the resistance between terminals 2 and 3 of the fuel sender connector for each float position. Verify that the resistance value changes continuously. Refer to Diagnostic Aids.

Does the fuel gage indicate the appropriate reading at the specified resistance values?

--

Go to Testing for Intermittent Conditions and Poor Connections

Go to Step 8

6

Test for an open or high resistance in the low fuel indicator circuits between the fuel level sensor and in Instrument panel cluster.

Does an open or high resistance condition exist?

--

Go to Step 7

Go to Step 9

7

Repair the open or high resistance in the low fuel indicator circuit between the fuel level sensor and in Instrument panel cluster. Refer to Wiring Repairs in Wiring Systems.

Did you complete the repair?

--

Go to Step 10

--

8

Replace the fuel sender. Refer to Fuel Sender Assembly Replacement in Engine Controls.

Did you complete the repair?

--

Go to Step 10

--

9

Replace the instrument cluster. Refer to Instrument Cluster Replacement

--

Go to Step 10

--

10

Operate the system in order to verify the repair.

Did you correct the condition?

--

System OK

Go to Step 3