GM Service Manual Online
For 1990-2009 cars only

Removal Procedure

  1. Raise and support vehicle. Refer to Lifting and Jacking the Vehicle .

  2. Object Number: 1221955  Size: SH
  3. Remove the push-retainer (1).
  4. Remove the screw (3) and washer (4) from bracket (5).
  5. Remove the bracket (5) from the front bumper fascia extension (2).

  6. Object Number: 1221975  Size: SH
  7. Remove the screw (2) from the front bumper fascia extension (1).

  8. Object Number: 1221989  Size: SH
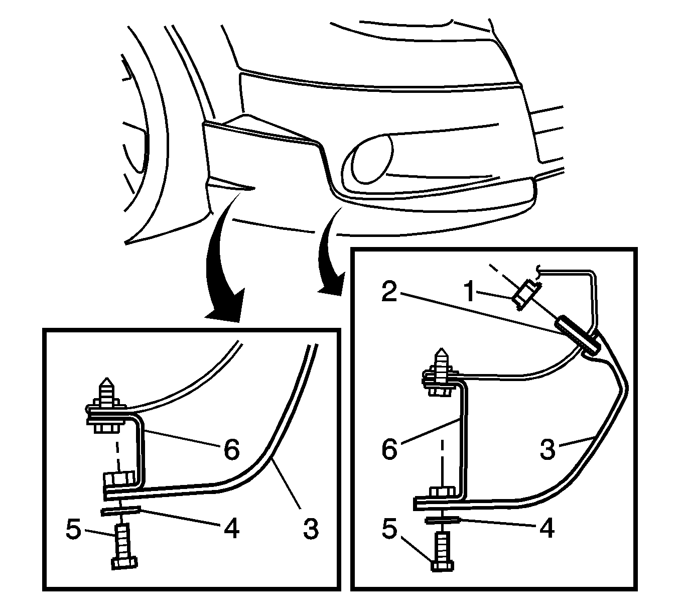
  9. Remove the nuts (1) from the set screws (2).
  10. Remove the screws (5) and washers (4) from the brackets (6).
  11. Remove the front bumper fascia extension. Refer to Exterior Trim Molding/Nameplate Replacement .
  12. Remove the front bumper fascia extension brackets, if necessary.

Installation Procedure

  1. Install the front bumper fascia extension brackets, if removed.
  2. Install 2-way tape to the front bumper fascia extension. Refer to Exterior Trim Molding/Nameplate Replacement .
  3. Peel back 25.0 mm of the tape liner from both ends.
  4. Align front bumper fascia extension to the brackets.
  5. Notice: Refer to Fastener Notice in the Preface section.


    Object Number: 1221989  Size: SH
  6. Install the screws (5) and the washers (4) to the brackets (6).
  7. Tighten
    Tighten the screws to 5 N·m (44 lb in).

  8. Install the nuts (1) to the set screws (2).
  9. Tighten
    Tighten the nuts to 5 N·m (44 lb in).


    Object Number: 1221975  Size: SH
  10. Install the screw (2) to the front bumper fascia extension (1).
  11. Tighten
    Tighten the screw to 2.5 N·m (22 lb in).


    Object Number: 1221955  Size: SH
  12. Install the bracket (5) to the front bumper fascia extension (2).
  13. Install the screw (3) and washer (4) to the bracket (5).
  14. Tighten
    Tighten the screw to 5 N·m (44 lb in).

  15. Install the push in retainer (1).
  16. Remove the tape liner from the rear of the front fascia extension and press down working from the rear to get good adhesion.
  17. Lower vehicle.