GM Service Manual Online
For 1990-2009 cars only
Makes
🢒
Pontiac
🢒
2003
🢒
Vibe - FWD
🢒
Body and Accessories
🢒
Interior Trim
🢒 Body Hinge Pillar Trim Panel Replacement
Removal Procedure
Remove the following components from the vehicle:
•
The front sill plate trim. Refer to
Door Sill Plate Replacement
.
•
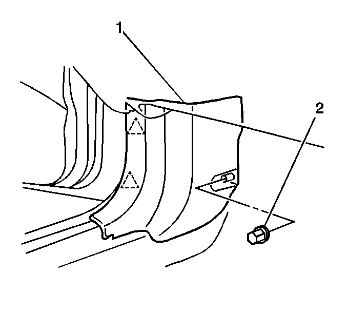
The plastic retainer (2)
•
The body hinge pillar trim panel (1)
Installation Procedure
Install the body hinge pillar trim panel (1) to the vehicle. Secure the trim panel with the plastic retainer (2).
Install the front sill plate trim. Refer to
Door Sill Plate Replacement
.