GM Service Manual Online
For 1990-2009 cars only

Removal Procedure


    Object Number: 853104  Size: SH
  1. Disconnect the negative battery cable. Refer to Battery Negative Cable Disconnection and Connection in Engine Electrical.
  2. Using a flat bladed tool, disengage the 3 upper clips (1) and the 2 lower clips (4) on the accessory power receptacle bezel (3).
  3. Disconnect the electrical connector.

  4. Object Number: 853276  Size: SH
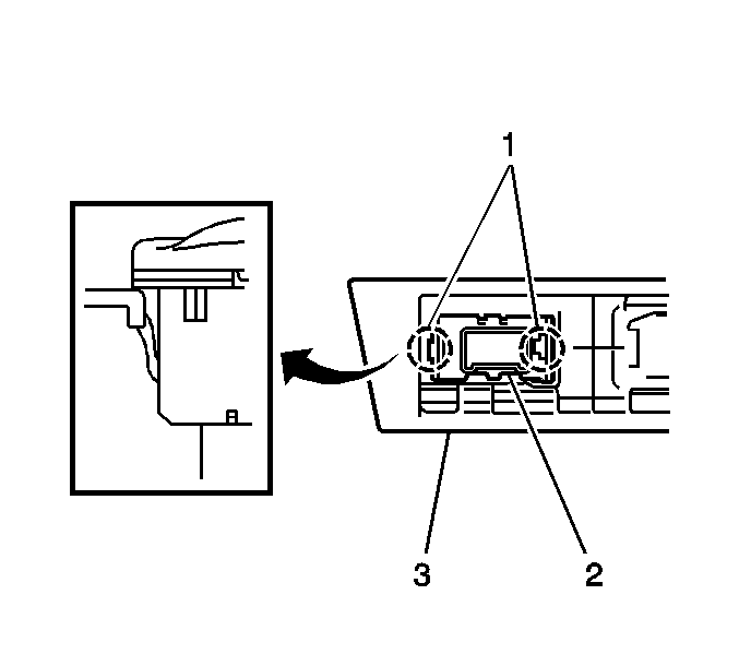
  5. Disengage the 2 clips (1) on the accessory power receptacle (2).

  6. Object Number: 853104  Size: SH
  7. Remove the accessory power receptacle (2) from the bezel (3).

Installation Procedure


    Object Number: 853104  Size: SH
  1. Install the accessory power receptacle (2) to the bezel (3), by pushing in until the tabs lock in.
  2. Connect the electrical connector.
  3. Gently install the accessory power receptacle trim bezel (3) by pressing into place until the upper tabs (1) and lower tabs (4) are fully seated.
  4. Connect the negative battery cable. Refer to Battery Negative Cable Disconnection and Connection in Engine Electrical.