|
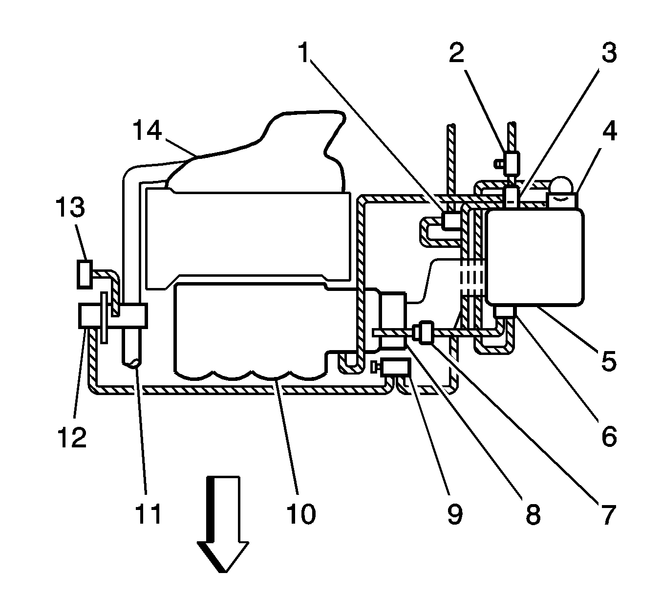
| (1) | EVAP Canister
Vent Solenoid |
| (2) | EVAP Service
Port |
| (3) | EVAP Canister
Purge Solenoid |
| (4) | Intake Air
Door Motor |
| (4) | Air Cleaner |
| (6) | Auxiliary Intake
Air Control Solenoid |
| (7) | Intake Air
Vacuum Check Valve |
| (8) | Throttle Body |
| (9) | Secondary Air
Injection (AIR) Solenoid Valve |
| (10) | Intake Manifold |
| (11) | To Secondary
AIR Pump |
| (12) | Secondary
AIR Shut-Off Valve |
| (13) | Secondary
AIR Pressure Sensor |
| (14) | Exhaust Manifold |