GM Service Manual Online
For 1990-2009 cars only
Makes
🢒
Pontiac
🢒
2005
🢒
Vibe - FWD
🢒
Engine
🢒
Engine Controls - 1.8L (LV6)
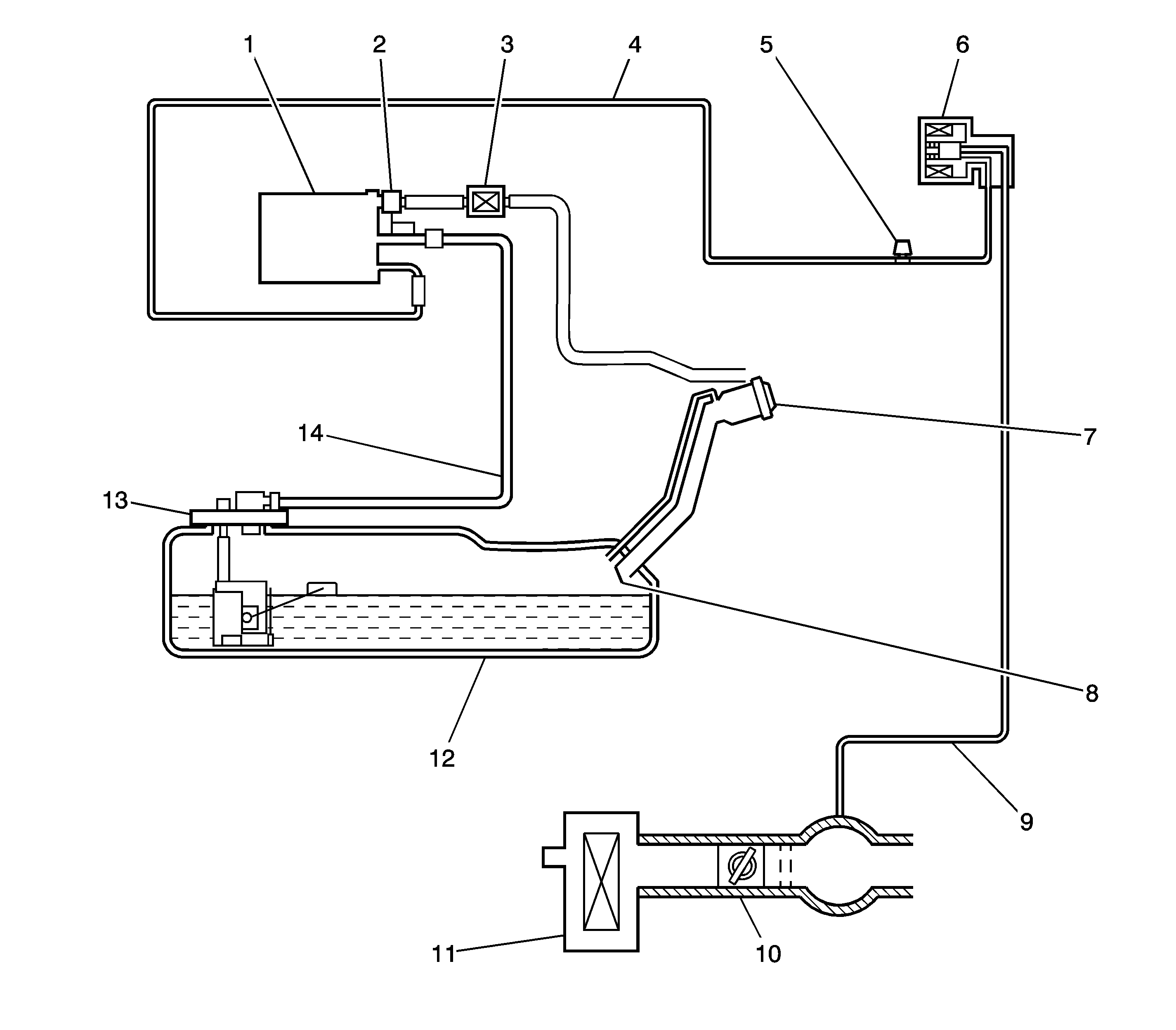
🢒 Evaporative Emissions Hose Routing Diagram
(1)
EVAP Canister
(2)
Fill Limiter Vent Valve (FLVV)
(3)
EVAP Canister Air Filter
(4)
Purge Line from Canister
(5)
EVAP Service Port
(6)
EVAP Canister Purge Solenoid Valve
(7)
Fuel Filler Cap
(8)
Fuel Filler Pipe Check Valve
(9)
Purge Line to Engine
(10)
Throttle Body
(11)
Air Cleaner
(12)
Fuel Tank
(13)
Fuel Sender Assembly
(14)
ORVR Vent Line