GM Service Manual Online
For 1990-2009 cars only

Removal Procedure


    Object Number: 848941  Size: SH
  1. Remove the rear seat back cushion. Refer to Rear Split Folding Seat Back Replacement .
  2. Remove the following components from the vehicle:
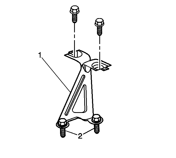
  3. • The 2 bolts (2) that retain the rear seat back cushion center pivot support (1)
    • The rear seat back cushion center pivot support (1)

Installation Procedure


    Object Number: 848941  Size: SH

    Notice: Use the correct fastener in the correct location. Replacement fasteners must be the correct part number for that application. Fasteners requiring replacement or fasteners requiring the use of thread locking compound or sealant are identified in the service procedure. Do not use paints, lubricants, or corrosion inhibitors on fasteners or fastener joint surfaces unless specified. These coatings affect fastener torque and joint clamping force and may damage the fastener. Use the correct tightening sequence and specifications when installing fasteners in order to avoid damage to parts and systems.

  1. Install the rear seat back cushion center pivot support (1) to the vehicle. Secure the support with the 2 bolts (2).
  2. Tighten
    Tighten the center pivot support bolts to 18 N·m (13 lb in).

  3. Install the rear seat back cushion. Refer to Rear Split Folding Seat Back Replacement .