GM Service Manual Online
For 1990-2009 cars only

Tools Required

    • J 34673 Flat Gage Bar
    • J 26900-6 Dial Caliper
    • J 9617 Pump Seal Installer
    • J 36850 Transjel® Lubricant

Removal Procedure


    Object Number: 165164  Size: SH
  1. Remove the fluid pump seal (1) from the fluid pump body (2).

  2. Object Number: 165167  Size: SH
  3. Remove the stator shaft seal rings (1) from the fluid pump stator shaft (2).

  4. Object Number: 165170  Size: SH
  5. Remove the fluid pump thrust washer (2) from the rear of the stator shaft cover (1).

  6. Object Number: 165174  Size: SH
  7. Remove the eleven stator shaft bolts from the fluid pump body (1).

  8. Object Number: 165177  Size: SH
  9. Remove the stator shaft (2) from the fluid pump body (1).
  10. Remove the input shaft seal from the fluid pump body.
  11. Clean all of the fluid pump components and dry the components thoroughly
  12. Inspect the following and components for excessive wear or damage and replace as necessary:
  13. • The fluid pump drive gear
    • The driven gear
    • The stator shaft
  14. Inspect the fluid pump body and the stator shaft cover mating surfaces for distortion or warp. Replace the fluid pump assembly as necessary.

  15. Object Number: 165182  Size: SH
  16. Measure the pump body-to-driven gear clearance using a feeler gage (3).
  17. Push the fluid pump driven gear (1) to one side of the fluid pump body (2) and measure the gap on the opposite side.

    • Standard fluid pump body-to-driven gear clearance should measure between 0.070-0.150 mm (0.0028-0.0059 in).
    • If the fluid pump body-to-driven gear clearance exceeds 0.30 mm (0.012 in), replace the fluid pump assembly.

    Object Number: 165184  Size: SH
  18. Measure the fluid pump driven gear tip clearance using a feeler gage (2).
  19. Measure the gap between the fluid pump driven gear teeth (1) and the fluid pump gear crescent (3).

    • Standard fluid pump driven gear tip clearance should fall within 0.110-0.140 mm (0.0043-0.0055 in).
    • If the fluid pump driven gear tip clearance exceeds 0.30 mm (0.012 in), replace the fluid pump assembly.

    Object Number: 165187  Size: SH
  20. Use a J 34673 and a feeler gage (1) in order to measure the fluid pump drive gear (3) and the fluid pump driven gear (2) side clearance.
  21. • Place the J 34673 across the fluid pump body and measure the clearance between the fluid pump drive gear and the fluid pump driven gear and the fluid pump body mating surface.
    • The standard fluid pump drive gear and the fluid pump driven gear side clearance should fall within 0.0020-0.050 mm (0.0008-0.0020 in).
    • If the fluid pump drive gear and the fluid pump driven gear side clearance exceeds 0.10 mm (0.004 in), replace the fluid pump body.

    Object Number: 165191  Size: SH

    Important: The fluid pump drive gear and the fluid pump driven gear are different sizes. If the thicker of the two gears is not within standard drive gear and driven gear side clearance, replace the fluid pump body.

  22. Use a J 26900-6 in order to measure the fluid pump body bushing (1) inside diameter.
  23. • The maximum fluid pump body bushing inside diameter is 38.180 mm (1.5031 in) (2).
    • If the fluid pump body bushing inside diameter is greater than specified, replace the fluid pump body (3).

    Object Number: 165193  Size: SH
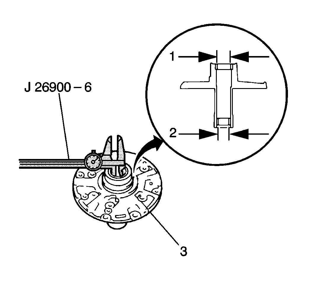
  24. Use a J 26900-6 in order to measure the inside diameter of the front and rear stator shaft bushings.
  25. The maximum inside diameter of the front and rear stator shaft bushings is:

    • Front bushing 21.570 mm (0.8492 in) (1)
    • Rear bushing 27.070 mm (1.0657 in) (2)
    • If the inside diameter of the front and rear stator shaft bushings is greater than specified, replace the stator shaft

Installation Procedure

  1. Use a J 9617 and a hammer in order to install the new input shaft seal into the fluid pump body (2).
  2. Apply J 36850 to the new input shaft seal lip.
  3. Notice: Refer to Fastener Notice in the Preface section.

  4. Connect the stator shaft (1) onto the fluid pump body, securing with 11 bolts.
  5. Tighten
    Tighten the stator shaft-to-fluid pump body bolts to 10 N·m (89 lb in).

  6. Apply J 36850 to the fluid pump thrust washer in order to hold it on the rear of the stator shaft cover.
  7. Install the fluid pump thrust washer onto the rear of the stator shaft cover.
  8. Install two new seal rings onto the fluid pump stator shaft.
  9. Install the new fluid pump seal onto the fluid pump body.

  10. Object Number: 165196  Size: SH
  11. Inspect the fluid pump drive gear for smooth rotation by carefully inserting two small drift punches into the fluid pump body and turning the fluid pump drive gear.
  12. If the fluid pump drive gear does not rotate smoothly, repair or replace the pump, as necessary.