GM Service Manual Online
For 1990-2009 cars only
Makes
🢒
Pontiac
🢒
2005
🢒
Vibe - FWD
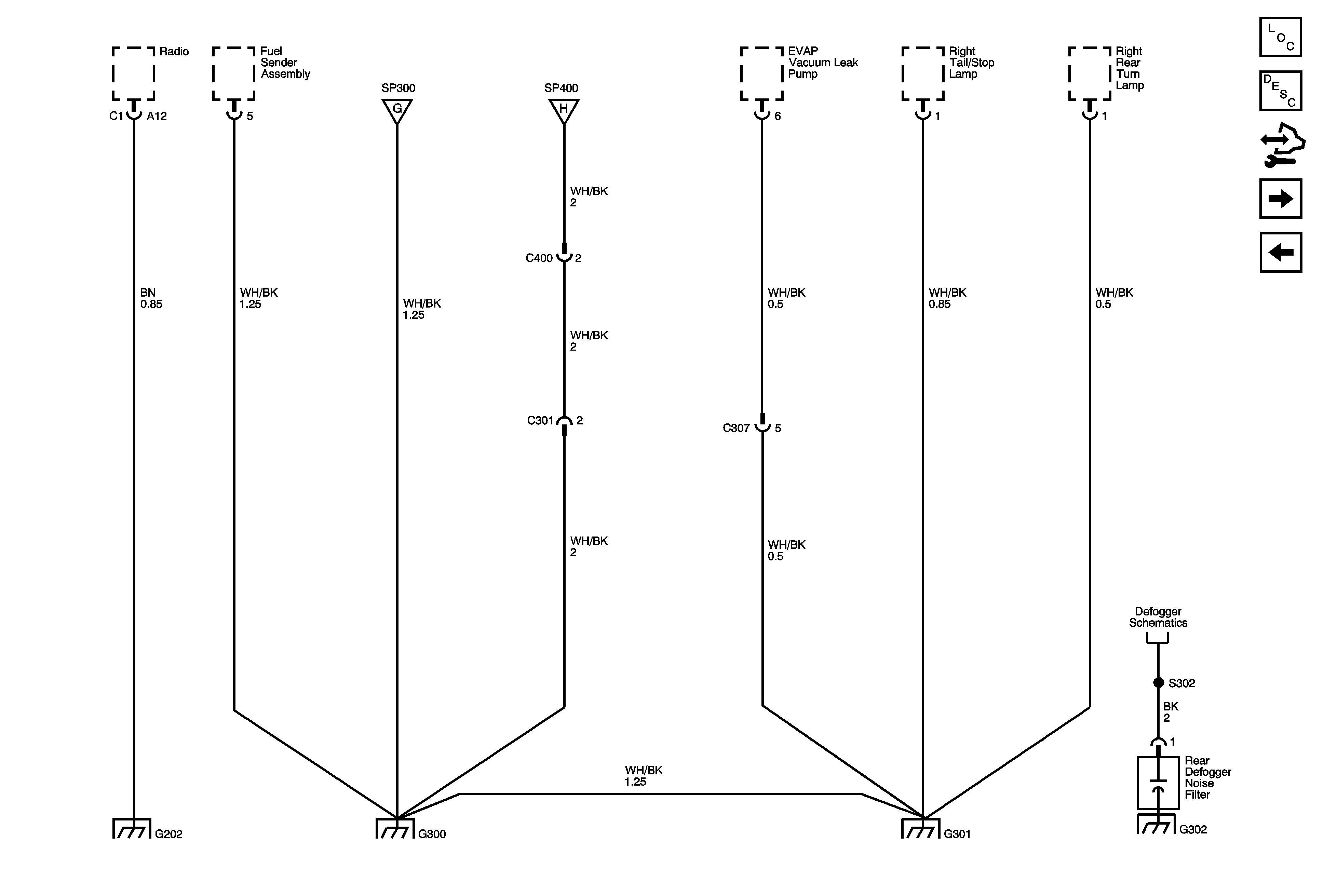
🢒 G202, G300, G301, G302
G202, G300, G301, G302
G202, G300, G301, G302
Master Electrical Component List
Control Module References
SP300
Junction Block Instrument Panel - Right