GM Service Manual Online
For 1990-2009 cars only

Fuel Pump and Fuel Filter Assembly Replacement FWD

Tools Required

Fuel Lock Ring Remover Tool

Removal Procedure

The fuel pump and the fuel filter are an integral part of the fuel sender assembly and cannot be serviced separately. Replacement of the fuel sender assembly is required in order to replace the fuel pump or the fuel filter.

Important: 

   • Always replace the fuel sender assembly O-rings when reinstalling the fuel sender assembly.
   • Always maintain cleanliness when servicing fuel system components.
   • Do not bend the arm of the fuel gage float while removing the fuel sender assembly.

  1. Relieve the fuel system pressure. Refer to Fuel Pressure Relief .

  2. Object Number: 1464194  Size: SH
  3. Remove the 2 fasteners (2) of the right side cushion  (1) and swing the rear seat bottom cushion (1) up and out of the way.
  4. Remove the sill plate from the right side door opening.
  5. Fold back the carpet, in order to maintain metal-to-metal contact, while servicing the fuel sender assembly.

  6. Object Number: 1460703  Size: SH
  7. Remove the 4 fasteners to the access panel (1) for the fuel sender assembly from the rear seat floor (3).
  8. Lift the access panel (1) and disconnect the fuel sender electrical connector (2) from the fuel sender assembly.

  9. Object Number: 1460704  Size: SH
  10. Remove the retaining clip (1) from the fuel line fitting (2).

  11. Object Number: 1460705  Size: SH
  12. Disconnect the fuel line (1) from the fuel sender assembly.

  13. Object Number: 1460718  Size: SH
  14. Unlock the quick connect fitting of the on-board refueling vapor recovery (ORVR) vent line by sliding the lock clasp (1) to unlock position.

  15. Object Number: 1460719  Size: SH
  16. Disconnect the ORVR vent line (2) from the fuel sender assembly (1).

  17. Object Number: 1460720  Size: SH
  18. Use the CH-47717  (1) in order to loosen the fuel sender assembly lock ring.
  19. Clean the area around the fuel and vent lines and the fuel sender assembly in order to prevent possible fuel contamination during removal.

  20. Object Number: 1467715  Size: SH
  21. Locate the 4 safety latches (1, 3) and the safety stop (2) on the fuel sender assembly lock ring.
  22. While rotating the lock ring during removal, ensure that each safety latch is gently depressed in order to pass without engaging the safety stop.

  23. Object Number: 1465529  Size: SH
  24. Remove the lock ring (1).
  25. Important: Do not spill residual fuel or damage the fuel level sensor float while rotating and tilting the sender assembly during removal.

  26. Remove the fuel sender assembly (2) from the fuel tank.

Installation Procedure

Notice: Always re-attach the fuel lines and fuel filter with all original type fasteners and hardware.

Do not repair sections of fuel pipes.


    Object Number: 1460721  Size: SH
  1. Install a new O-ring seal (1) onto the fuel tank.

  2. Object Number: 1465529  Size: SH
  3. Install the fuel sender assembly (2) into the fuel tank through the floor panel opening (3).

  4. Object Number: 1467716  Size: SH
  5. Align the notch (1) on the fuel sender assembly with the slot (2) in the fuel tank opening.

  6. Object Number: 1467717  Size: SH
  7. Align the extra ridge (1) on the fuel tank lock ring with the mark (2) on the fuel tank.
  8. Gently push down on the fuel sender while rotating the lock ring onto the fuel tank.

  9. Object Number: 1460720  Size: SH
  10. Use the CH-47717  (1) in order to tighten the fuel sender assembly lock ring.

  11. Object Number: 1468315  Size: SH
  12. After 2 full rotations of the lock ring, watch for the alignment of the lock ring extra ridge (1) with the 2 triangle marks (2) on the fuel tank.
  13. Rotate the lock ring until the ridge (1) is positioned within the 16 degree area (3) between the 2 marks (2).

  14. Object Number: 1460719  Size: SH
  15. Connect the ORVR vent line (2) to the fuel sender assembly (1).

  16. Object Number: 1465470  Size: SH
  17. Slide the quick connect clasp (1) into the lock position on the ORVR vent line (2).

  18. Object Number: 1460705  Size: SH
  19. Connect the fuel supply line (1) to the fuel sender assembly.

  20. Object Number: 1465471  Size: SH
  21. Secure the fuel supply line (2) to the sender assembly with the retaining clip (1).

  22. Object Number: 1460703  Size: SH
  23. Connect the fuel sender electrical connector (2) to the fuel sender assembly.
  24. Add fuel to the fuel tank.
  25. Notice: Refer to Fastener Notice in the Preface section.

  26. Connect the negative battery cable.
  27. Tighten
    Tighten the retainer for the negative battery cable terminal to 15 N·m (11 lb ft).

  28. Pressurize the fuel system and check for leaks.
  29. Install the access panel (1) to the rear seat floor panel (3).
  30. Secure the access panel to the body with 4 bolts.
  31. Tighten
    Tighten the 4 bolts to 6 N·m (53 lb in).

  32. Relocate the carpet under the ride side seat area and the right sill plate area.
  33. Install the sill plate to the right side door opening .

  34. Object Number: 1464194  Size: SH
  35. Lower the rear seat bottom cushion (1) and secure with 2 bolts (2).
  36. Tighten
    Tighten the 2 bolts to 41 N·m (30 lb ft).

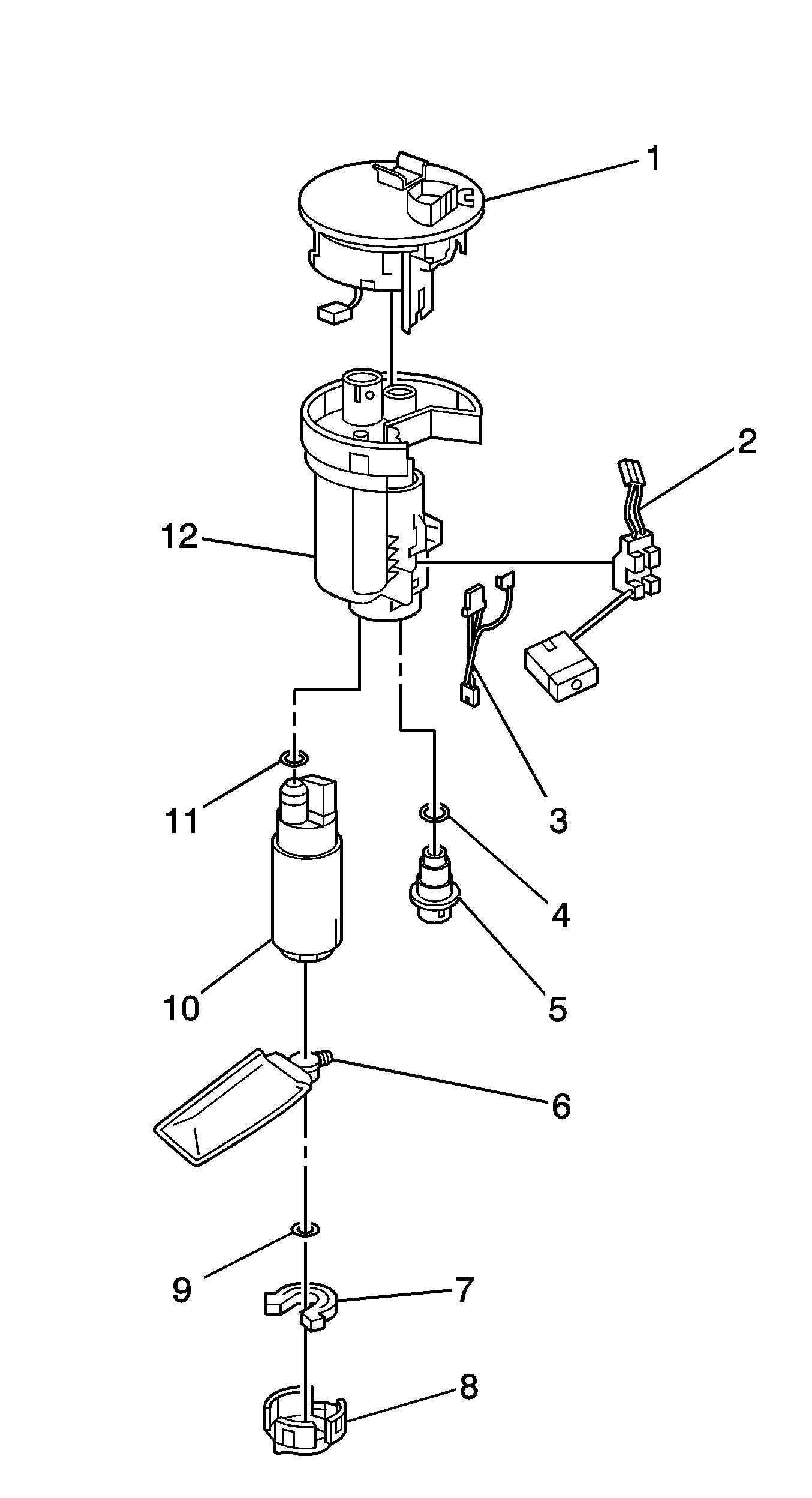
Fuel Pump and Fuel Filter Assembly Replacement AWD

Removal Procedure


    Object Number: 833910  Size: SH
  1. Remove the fuel sender assembly. Refer to Fuel Sender Assembly Replacement .
  2. Remove the bottom cap (2) and the lower cushion (3) from the fuel sender assembly .
  3. Remove the fuel pressure regulator (1).

  4. Object Number: 828364  Size: SH
  5. Disconnect the fuel level sensor electrical connector.
  6. Remove the fuel level sensor (1).

  7. Object Number: 833912  Size: SH
  8. Remove the fuel sender top cap (1) from the fuel filter assembly.
  9. Disconnect the fuel pump electrical connector.

  10. Object Number: 833914  Size: SH
  11. Remove the fuel pump (1) from the fuel filter assembly (2).

  12. Object Number: 833915  Size: SH
  13. Remove the retaining ring for the fuel strainer from the fuel pump.

Installation Procedure


    Object Number: 1659851  Size: LH
  1. Install the fuel pump strainer (6) to the fuel pump (10). Use a new retaining ring (9).
  2. Apply gasoline to fuel pump O-ring (11), and install to the fuel pump.
  3. Install the fuel pump (10) in to the fuel filter assembly (12).
  4. Apply gasoline to fuel pressure regulator O-ring (4), and install the O-ring onto the fuel pressure regulator (5).
  5. Install the fuel pressure regulator (5) into the fuel filter assembly (12).
  6. Connect the electrical connector (3) to the fuel pump . Ensure that connections are secure at the fuel pump and the top cap (1) of the sender assembly.
  7. Install the fuel sender assembly top cap (1) to the fuel filter assembly (12). The fuel sender assembly end caps snap into place.
  8. Install the fuel level sensor (2) to the fuel sender assembly.
  9. Connect the fuel level sensor electrical connector.
  10. Position lower cushion (7) on bottom of fuel pump and install the lower cap (8) to the fuel filter assembly.