GM Service Manual Online
For 1990-2009 cars only

Special Tools

J-43178 Fuel Line Disconnect Tool

Removal Procedure

  1. Discharge the fuel system pressure. Refer to Fuel Pressure Relief.
  2. Warning: Refer to Battery Disconnect Warning in the Preface section.

  3. Disconnect the cable from the negative battery terminal. Refer to Battery Negative Cable Disconnection and Connection
  4. Remove the engine cover. Refer to Engine Cover Replacement.
  5. Remove the air cleaner assembly. Refer to Air Cleaner Element Replacement.

  6. Object Number: 2016876  Size: SH
  7. Remove the fuel tube from the fuel hose clamp.
  8. Remove the fuel pipe clamp.
  9. Wipe off any dirt on the fuel tube connector.

  10. Object Number: 2016877  Size: SH
  11. Hold the fuel tube connector, and then install the J-43178 disconnect tool .
  12. Turn the J-43178 disconnect tool to align the retainer inside the fuel tube connector with the chamfered part of the J-43178 disconnect tool .
  13. Insert the J-43178 disconnect tool into the fuel tube and hold it. Then push the fuel tube connector toward the J-43178 disconnect tool .
  14. Mount the retainer of the fuel tube connector onto the chamfered part of the J-43178 disconnect tool .

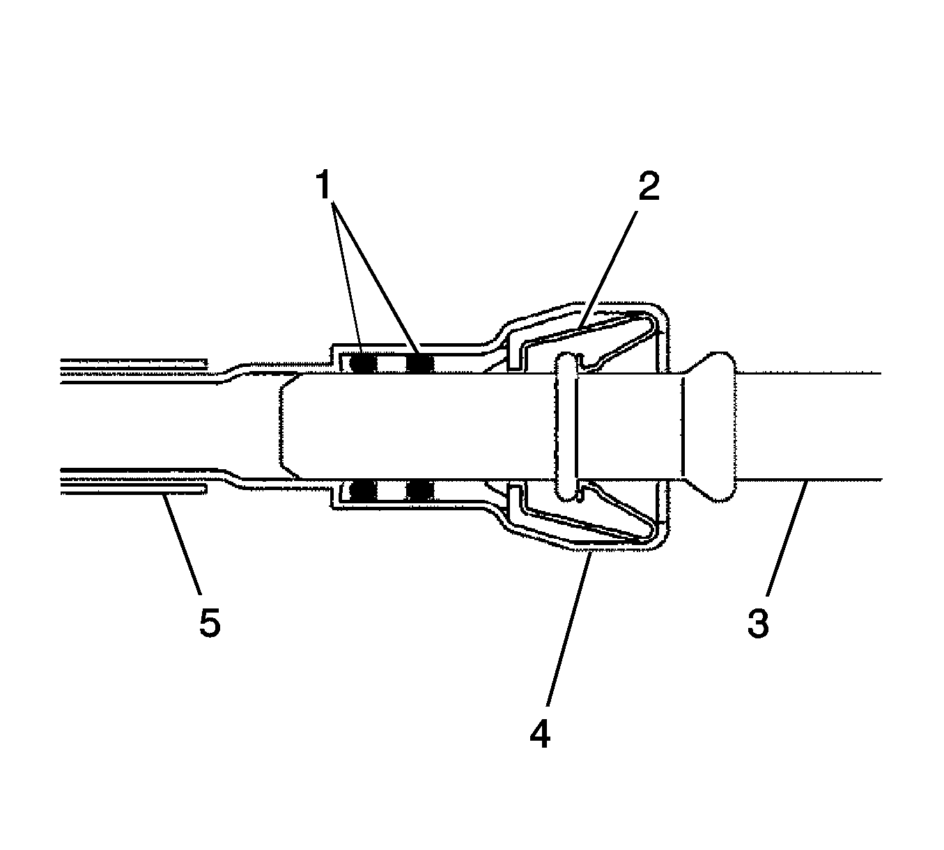
  15. Object Number: 2016879  Size: SH
  16. Slide the J-43178 disconnect tool and fuel tube connector (2) together towards the fuel tube (3) until they make a "click" sound, and then disconnect the fuel tube.
  17. Drain the fuel remaining inside the fuel tube.
  18. Cover the fuel tube and fuel pipe with a plastic bag to protect the disconnected part.

  19. Object Number: 2016886  Size: SH
  20. Disconnect the ventilation hose (1) from the ventilation valve.

  21. Object Number: 2016887  Size: SH
  22. Remove the 2 wire harness clamps (1, 2).
  23. Disconnect the 4 fuel injector connectors (3, 4, 5, 6).

  24. Object Number: 2016897  Size: SH
  25. Remove the 2 bolts (1, 2), then remove the fuel delivery pipe together with the 4 fuel injectors.

  26. Object Number: 2016898  Size: SH
  27. Remove the 2 delivery pipe spacers (1, 2) from the cylinder head.
  28. Remove the 4 insulators (3, 4, 5, 6) from the cylinder head.

  29. Object Number: 2016904  Size: SH
  30. Remove fuel injector assembly.
  31. Pull the 4 fuel injectors out of the fuel delivery pipe.

Installation Procedure


    Object Number: 2016936  Size: SH
  1. Apply a light coat of oil to new O-rings (1), then install one onto each fuel injector.
  2. Apply a light coat of oil to the part of the fuel delivery pipe which comes into contact with the O-ring of the fuel injector.
  3. Apply a light coat of oil to the O-ring again, then install the right and left fuel injectors onto the fuel delivery pipe.
  4. Check that the fuel injector rotates smoothly. If the fuel injector does not rotate, replace the O-ring.

  5. Object Number: 2016898  Size: SH
  6. Install 4 new insulators (3, 4, 5, 6) to the cylinder head.
  7. Install the 2 delivery pipe spacers (1, 2) onto the cylinder head.

  8. Object Number: 2016955  Size: SH
  9. Install the fuel delivery pipe (2) together with the 4 fuel injectors (1), then hand tighten the 2 bolts.
  10. Check that the fuel injector rotates smoothly. If the fuel injector does not rotate, replace the O-ring (3).
  11. Caution: Refer to Fastener Caution in the Preface section.


    Object Number: 2016897  Size: SH
  12. Install the 2 bolts (1, 2) and tighten to 20 N·m (15 lb ft).

  13. Object Number: 2016887  Size: SH
  14. Connect the 4 fuel injector connectors (3, 4, 5, 6).
  15. Install the 2 wire harness clamps (1, 2).

  16. Object Number: 2016966  Size: SH

    Note: Make sure that the paint mark and hose clamp are at the correct angle when installing the hose.

  17. Connect the ventilation hose (1) to the ventilation valve.
  18. Connect the fuel main tube.
  19. Push the fuel tube connector until it makes a "click" sound.
  20. Install the fuel pipe clamp.
  21. Install the fuel tube to the fuel hose clamp.
  22. Install the air cleaner assembly. Refer to Air Cleaner Element Replacement.
  23. Install the engine cover sub-assembly. Refer to Engine Cover Replacement.
  24. Warning: Refer to Battery Disconnect Warning in the Preface section.

  25. Connect the cable to the negative battery terminal.
  26. Inspect for a fuel leak.