GM Service Manual Online
For 1990-2009 cars only

Removal Procedure

  1. Discharge the fuel system pressure. Refer to Fuel Pressure Relief.
  2. Align the front wheels facing straight ahead.
  3. Remove the front wheel.
  4. Remove the engine under cover LH.
  5. Remove the engine under cover RH.
  6. Drain the engine coolant. Refer to Cooling System Draining and Filling.
  7. Drain the manual transaxle oil for the manual transaxle.
  8. Drain the automatic transaxle fluid for the automatic transaxle.

  9. Object Number: 2016873  Size: SH

    Note: Attempting to disengage both front and rear clips at the same time may cause the cover to break.

  10. Remove the engine cover.
  11. Hold the rear of the cover and raise it to disengage the 2 clips on the rear of the cover. Continue to raise the cover to disengage the 2 clips on the front of the cover and remove the cover.

  12. Separate the air cleaner filter element from the air cleaner.

  13. Object Number: 2016875  Size: SH
  14. Disconnect the engine wire harness clamp (4) from air cleaner case.
  15. Remove the 3 bolts (1-3) and the air cleaner case.
  16. Remove the battery. Refer to Battery Replacement.

  17. Object Number: 2016878  Size: SH
  18. Remove the battery carrier. Refer to Battery Tray Replacement.
  19. Separate the 2 wire harness clamps from the battery carrier.

  20. Object Number: 2016881  Size: SH
  21. Remove the 2 bolts (1).
  22. Separate the radiator pipe from the battery carrier.

  23. Object Number: 2016882  Size: SH
  24. Disengage the clamp (1) from the upper radiator hose.
  25. Disconnect the upper radiator hose from the cylinder head.

  26. Object Number: 2016883  Size: SH
  27. Disconnect the lower radiator hose (1) from the water inlet.

  28. Object Number: 2016885  Size: SH
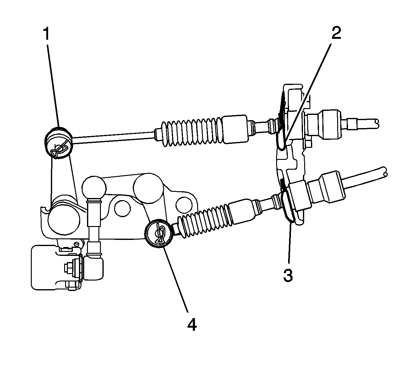
  29. If equipped with manual transmission, remove the 2 clips (1, 4) and disconnect the 2 cables (2, 3) from the transaxle.

  30. Object Number: 2016891  Size: SH
  31. If equipped with automatic transmission, disconnect the control cable from the control cable support.
  32. Remove the nut and disconnect the control cable from the control shaft lever.
  33. Remove the clip (1) and disconnect the control cable from the control cable bracket.
  34. Remove the bolt and disconnect the clamp of the control cable.

  35. Object Number: 2016893  Size: SH
  36. Disconnect the fuel vapor feed hose assembly (1).

  37. Object Number: 2016894  Size: SH
  38. Disconnect the union to connector tube hose (1).

  39. Object Number: 2016899  Size: SH
  40. Disconnect the 2 oil cooler hoses (1, 2) from the oil cooler tube, if equipped with automatic transaxle.

  41. Object Number: 2016901  Size: SH
  42. Disconnect the outlet heater water hose (1) from the engine.

  43. Object Number: 2016902  Size: SH
  44. Disconnect the inlet heater water hose (1) from the engine.

  45. Object Number: 2016544  Size: SH
  46. Release the claw and remove the fuel pipe clamp (1).

  47. Object Number: 2016905  Size: SH

    Note: 

       • Remove any dirt and foreign matter from the fuel tube connector before performing this work.
       • Do not allow any scratches or foreign matter on the parts when disconnecting, as the fuel tube connector has the O-rings that seal the pipe. Perform this work by hand. Do not use any tools.
       • Do not forcibly bend, kink or twist the nylon tube.
       • Protect the disconnected parts by covering them with vinyl bags after disconnecting the fuel tube.
       • If the fuel tube connector and pipe are stuck, push and pull to release them.

  48. Pinch the retainer (1) then pull the fuel tube connector out of the pipe.
  49. Remove the V-ribbed belt.
  50. Remove the generator assembly.
  51. Separate the compressor with pulley assembly with air conditioning system.
  52. Disconnect the connector.

  53. Object Number: 2016907  Size: SH
  54. Remove the 2 bolts and 2 nuts.

  55. Object Number: 2016908  Size: SH

    Note: Secure the compressor and hoses off to the side instead of discharging the A/C system.

  56. Using a TORX socket wrench, remove the 2 stud bolts and compressor with pulley assembly.

  57. Object Number: 2016909  Size: SH
  58. Remove the 4 bolts (1-4) and clutch tube bracket, and separate the clutch release cylinder assembly.

  59. Object Number: 2016911  Size: SH
  60. Disconnect the wire harness from the clamp (1).
  61. Pull up the lever (2) and disconnect the ECM connector.

  62. Object Number: 2016912  Size: SH
  63. Remove the 2 nuts (1, 2).
  64. Remove the 3 connectors and 2 clamps from the engine room junction block and disconnect the wire harness.

  65. Object Number: 2016913  Size: SH
  66. Remove the bolt (2) and clamp (1) for the manual transaxle.

  67. Object Number: 2016917  Size: SH
  68. Remove the bolt (1) and clamp (2) for the automatic transaxle.
  69. Remove the ground cable on the right side of the cylinder head.
  70. Secure the steering wheel.
  71. Remove the column hole cover silencer sheet.
  72. Separate the steering intermediate shaft assembly.
  73. Disconnect the steering column hole cover sub-assembly.
  74. Remove the front exhaust pipe assembly. Refer to Front Pipe Replacement.
  75. Remove the front axle shaft LH nut.
  76. Remove the front axle shaft RH nut.
  77. Disconnect the front speed sensor LH.
  78. Disconnect the front speed sensor RH.
  79. Separate the tie rod end assembly LH.
  80. Separate the tie rod end assembly RH.
  81. Separate the front stabilizer link assembly LH.
  82. Separate the front stabilizer link assembly RH.
  83. Separate the front lower suspension arm assembly LH.
  84. Separate the front lower suspension arm assembly RH.

  85. Object Number: 2016918  Size: SH
  86. Separate the steering knuckle from the axle hub LH.
  87. 62.1. Put matchmarks on the drive shaft and axle hub.
    62.2. Using a plastic-faced hammer, disconnect the front axle assembly LH.
  88. Separate the steering knuckle from the axle hub RH.
  89. Remove the flywheel housing under cover--for automatic transaxle.
  90. Remove the drive plate and torque converter clutch setting bolt--for automatic transaxle.
  91. Remove the front suspension crossmember assembly. Refer to Front Suspension Crossmember Replacement.
  92. Remove the engine assembly with transaxle.
  93. Note: Place the engine on wooden blocks or equivalent so that the engine is level.

  94. Set the engine lifter.

  95. Object Number: 2016921  Size: SH
  96. Remove the bolt (1) and 2 nuts (2, 3), and separate the engine mount RH.

  97. Object Number: 2016922  Size: SH
  98. Remove the through bolt (1) and nut (2), and separate the engine mount LH.
  99. Carefully remove the engine with transaxle from the vehicle.

  100. Object Number: 2016924  Size: SH
  101. Remove the bolt (1) and nut (2), and remove the front engine mount.

  102. Object Number: 2016938  Size: SH
  103. Remove the through bolt (1) and the rear engine mount.

  104. Object Number: 2016939  Size: SH

    Note: Perform this procedure only when replacement of the engine mounting insulator is necessary.

  105. Remove the 4 bolts (1-4) and engine mount LH.

  106. Object Number: 2016940  Size: SH
  107. Remove the engine mount RH.
  108. Disconnect the clamp, and release the relay block assembly.

  109. Object Number: 2016941  Size: SH
  110. Remove the 3 bolts (1-3) and radiator reserve tank.

  111. Object Number: 2016944  Size: SH

    Note: Perform this procedure only when replacement of the engine mounting insulator is necessary.

  112. Remove the 3 bolts (1-3) and engine mount RH.

  113. Object Number: 2016945  Size: SH
  114. Remove the bolt (1) and wire harness bracket.

  115. Object Number: 2016946  Size: SH
  116. Install the 2 engine hangers with the 2 bolts and tighten to 43 N·m (32 lb ft).
  117. Remove the flywheel housing side cover.
  118. Remove the starter assembly.
  119. Remove the transaxle assembly.
  120. Remove the clutch cover assembly for the manual transaxle.
  121. Remove the clutch disc assembly for the manual transaxle.
  122. Remove the flywheel assembly for the manual transaxle.
  123. Remove the drive plate and ring gear assembly for the automatic transaxle.
  124. Remove the engine wire harness.

Installation Procedure

  1. Install the engine wire harness.
  2. Install the flywheel assembly for the manual transaxle.
  3. Install the drive plate and ring gear assembly for the automatic transaxle.
  4. Install the clutch disc assembly for the manual transaxle.
  5. Install the clutch cover assembly for the manual transaxle.
  6. Inspect and adjust clutch cover assembly for the manual transaxle.
  7. Install the transaxle assembly.
  8. Install the starter assembly.
  9. Install the flywheel housing side cover.
  10. Caution: Refer to Fastener Caution in the Preface section.


    Object Number: 2016924  Size: SH
  11. Install the front engine mount with the nut (2) and bolt (1) and tighten to 73 N·m (54 lb ft).

  12. Object Number: 2016938  Size: SH
  13. Install the rear engine mount to the engine mounting bracket with the through bolt (1) and tighten to 65 N·m (50 lb ft).

  14. Object Number: 2016939  Size: SH
  15. Temporarily install the engine mount LH with the 4 bolts (1-4).
  16. Note: Perform this procedure only when replacement of the engine mounting insulator is necessary.

  17. Install the 4 bolts and tighten to 52 N·m (38 lb ft).

  18. Object Number: 2016944  Size: SH
  19. Install the engine mount RH with the 3 bolts (1-3) and tighten to 52 N·m (38 lb ft).

  20. Object Number: 2016941  Size: SH
  21. Install the radiator reserve tank with the 3 bolts (1-3) and tighten to 7.0 N·m (62 lb in).

  22. Object Number: 2016940  Size: SH

    Note: Perform this procedure only when replacement of the engine mount is necessary.

  23. Install the relay block assembly.
  24. Set the engine assembly with transaxle and front suspension crossmember on the engine lifter.
  25. Note: Do not raise the engine more than necessary. If the engine is raised excessively, the vehicle may also be lifted up.

    Note: 

       • Make sure that the engine is clear of all wiring and hoses.
       • While raising the engine into the vehicle, do not allow it to contact the vehicle.

  26. Operate the engine lifter and lift the engine assembly with transaxle and front suspension crossmember to the position where the engine mounts RH and LH can be installed.

  27. Object Number: 2016922  Size: SH
  28. Install the engine mount LH with the through bolt (2) and nut (1) and tighten to 56 N·m (41 lb ft).

  29. Object Number: 2016947  Size: SH
  30. Install the engine mount RH with the bolt (1) and 2 nuts (2, 3) and tighten.
  31. • nut 2 to 95 N·m (70 lb ft)
    • nut 3 to 52 N·m (38 lb ft)
    • bolt to 95 N·m (70 lb ft)
  32. Install the front suspension crossmember assembly. Refer to Front Suspension Crossmember Replacement.
  33. Remove the 2 engine hangers with the 2 bolts.

  34. Object Number: 2016945  Size: SH
  35. Install the wire harness bracket with the bolt (1) and tighten to 60 N·m (44 lb ft).
  36. Install the drive plate and torque converter clutch setting bolt for the automatic transaxle.
  37. Install the flywheel housing under cover for the automatic transaxle.

  38. Object Number: 2016956  Size: SH
  39. Install the steering knuckle with axle hub LH by aligning the matchmarks and connect the front drive shaft assembly to the front axle assembly LH.
  40. Install the steering knuckle with axle hub RH.
  41. Install the front lower suspension arm assembly LH.
  42. Install the front lower suspension arm assembly RH.
  43. Install the front stabilizer link assembly LH.
  44. Install the front stabilizer link assembly RH.
  45. Connect the tie rod end assembly LH.
  46. Connect the tie rod end assembly RH.
  47. Install the front speed sensor LH.
  48. Install the front speed sensor RH.
  49. Install the front axle shaft LH nut.
  50. Install the front axle shaft RH nut.
  51. Install the front exhaust pipe assembly. Refer to Front Pipe Replacement.
  52. Install the steering column hole cover sub-assembly.
  53. Install the steering intermediate shaft assembly.
  54. Install the column hole cover silencer sheet.

  55. Object Number: 2016913  Size: SH
  56. Install the ground wire to the engine compartment wire with the bolt (2) and clamp (1) for the manual transaxle and tighten to 13 N·m (10 lb ft).

  57. Object Number: 2016917  Size: SH
  58. Install the ground wire to the engine compartment wire with the bolt (1) and clamp (2) for the automatic transaxle and tighten to 26 N·m (19 lb ft).

  59. Object Number: 2016963  Size: SH
  60. Install the wire harness with the 2 nuts (2, 3) and tighten to 8.4 N·m (74 lb in).
  61. Connect the 3 connectors and wire harness clamp to the engine room junction block.

  62. Object Number: 2016965  Size: SH
  63. Connect the connector to the ECM with the clamp (1) and lock lever (2).

  64. Object Number: 2016967  Size: SH
  65. Install the clutch release cylinder assembly with the 5 bolts (1-3) and clutch tube bracket for the manual transaxle and tighten.
  66. • bolt 3 to 12 N·m (9 lb ft)
    • bolt 1 to 12 N·m (9 lb ft)
    • bolt 2 to 8.0 N·m (71 lb in)
  67. Install the compressor with pulley assembly with air conditioning system.
  68. Install the generator assembly. Refer to Generator Replacement.
  69. Install the V-ribbed belt. Refer to Drive Belt Replacement.
  70. Note: Align the fuel tube connector with the pipe, then push the fuel tube connector in until the retainer makes a click sound. If the connection is tight, apply a small amount of engine oil to the tip of the pipe. After connecting, pull on the pipe and connector to make sure that they are securely connected.

  71. Connect the fuel tube connector and fuel pipe.

  72. Object Number: 2016544  Size: SH
  73. Engage the claw (2) and install the fuel pipe clamp (1).

  74. Object Number: 2016902  Size: SH
  75. Connect the inlet heater water hose with the clamp (1).

  76. Object Number: 2016901  Size: SH
  77. Connect the outlet heater water hose with the clamp (1).
  78. Connect the union to check valve hose with the clamp.

  79. Object Number: 2016899  Size: SH
  80. Connect the 2 oil cooler hoses with the clamps (1, 2)--for automatic transaxle.

  81. Object Number: 2016894  Size: SH
  82. Connect the union to connector tube hose (1).

  83. Object Number: 2016893  Size: SH
  84. Connect the fuel vapor feed hose (1) assembly.

  85. Object Number: 2016885  Size: SH
  86. Install the transmission control cables (2, 3) to the control cable bracket with 2 new clips (1, 4)--for manual transaxle.

  87. Object Number: 2016891  Size: SH
  88. If equipped with automatic transmission secure the control cable onto the control cable bracket (1) with the clip.
  89. Connect the control cable onto the control shaft lever with the nut and tighten to 12 N·m (9 lb ft).
  90. Connect the control cable to the cable support.
  91. Connect the clamp of the control cable with the bolt and tighten to 12 N·m (9 lb ft).

  92. Object Number: 2016883  Size: SH
  93. Connect the radiator hose with the clamp (1).

  94. Object Number: 2016972  Size: SH
  95. Connect the radiator hose with the clamp (1).
  96. Install the battery carrier with the 4 bolts and tighten to 19 N·m (14 lb ft).

  97. Object Number: 2016881  Size: SH
  98. Connect the radiator pipe with the 2 bolts (1, 2) and tighten to 8.8 N·m (78 lb in).

  99. Object Number: 2016878  Size: SH
  100. Connect the 2 wire harness clamps.
  101. Install the battery clamp with the bolt and nut and tighten.
  102. • the bolts to 6.5 N·m (58 lb in)
    • the nut to 3.5 N·m (31 lb in)
  103. Connect the battery cables and tighten to 5.4 N·m (48 lb in).

  104. Object Number: 2016875  Size: SH
  105. Install the air cleaner case with the 3 bolts (1-3) and tighten to 7.0 N·m (62 lb in).
  106. Install the wire harness clamp (4) to the air cleaner case.
  107. Add transaxle oil for the manual transaxle.
  108. Add automatic transaxle fluid for the automatic transaxle.
  109. Inspect transaxle fluid level for the automatic transaxle.
  110. Inspect for automatic transaxle fluid leak for the automatic transaxle.
  111. Inspect the shift lever position for the automatic transaxle.
  112. Adjust the shift lever position for the automatic transaxle.
  113. Add the engine coolant. Refer to Cooling System Draining and Filling.
  114. Add the engine oil.
  115. Inspect the engine oil level.
  116. Inspect the for fuel leak.
  117. Inspect the for engine coolant leak.
  118. Inspect the for oil leak.
  119. Inspect the for exhaust gas leak.
  120. Install the engine under cover LH.
  121. Install the engine under cover RH.
  122. Install the front wheels and tighten the nuts to 103 N·m (76 lb ft).
  123. Inspect the ignition timing.
  124. Inspect the engine idle speed.
  125. Adjust the front wheel alignment. Refer to Wheel Alignment Measurement.

  126. Object Number: 2016873  Size: SH

    Note: Be sure to engage the clips securely. Do not apply excessive force or do not hit the cover to engage the clips. This may cause the cover to break.

  127. Engage the 4 clips to install the No. 2 cylinder head cover.
  128. Check the ABS speed sensor signal.