GM Service Manual Online
For 1990-2009 cars only

    Object Number: 2017275  Size: SH
  1. Inspect cylinder block for warpage.
  2. Using a precision straightedge and feeler gauge, measure the warpage of the surface that is in contact with the cylinder head gasket.
  3. Specification
    Maximum warpage: 0.05 mm (0.0020 in)

  4. If the warpage is greater than the maximum, replace the cylinder block.

  5. Object Number: 2017276  Size: SH
  6. Inspect the cylinder bore.
  7. Using a cylinder gauge, measure the cylinder bore diameter at positions A and B in both thrust and axial directions (1,2).
  8. Specification

        • Standard diameter: 80.500-80.513 mm (3.1693-3.1698 in)
        • Maximum diameter: 80.633 mm (3.1745 in)
  9. If the average diameter of the 4 positions is greater than the maximum, replace the cylinder block.

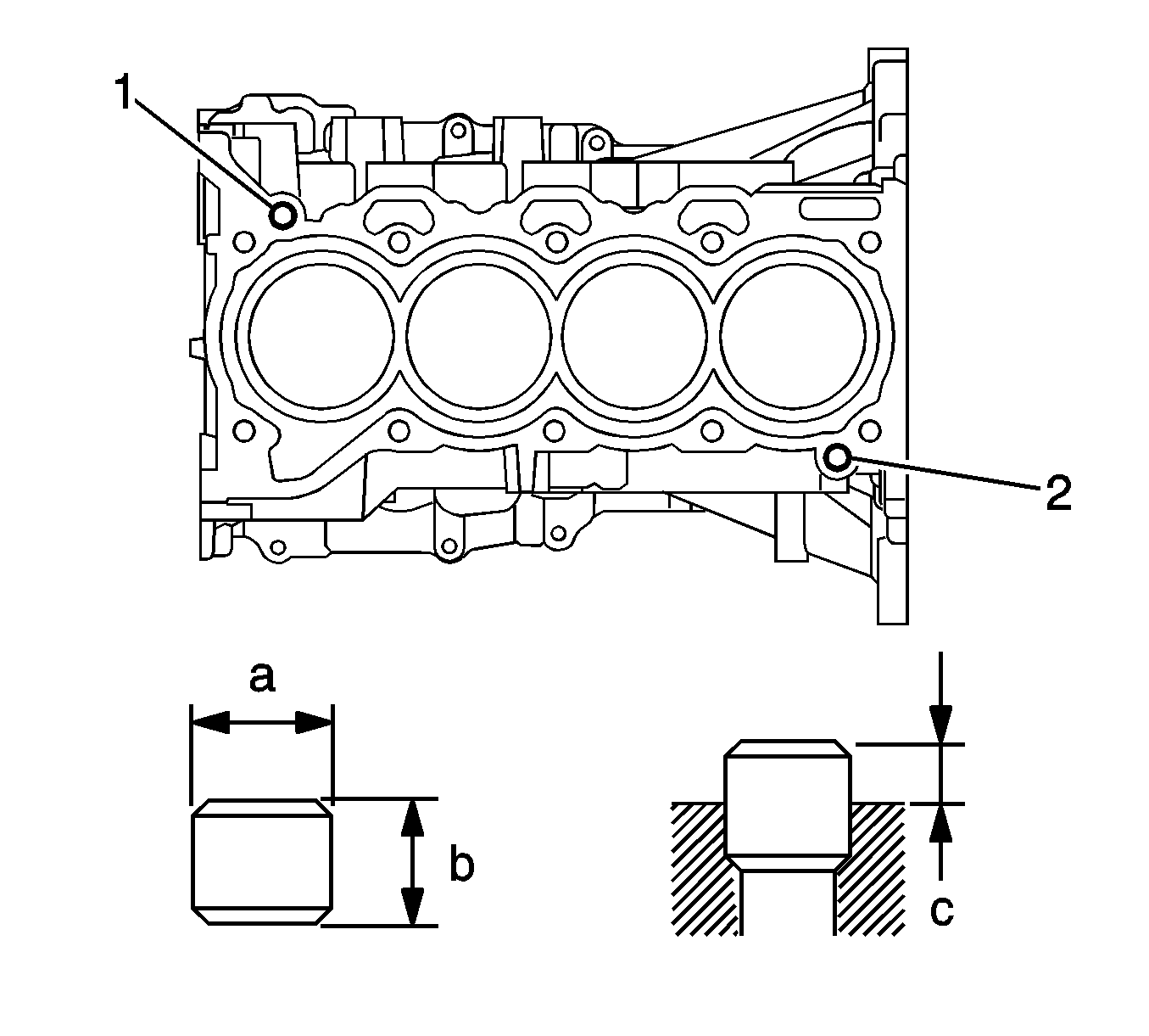
  10. Object Number: 2017307  Size: SH

    Note: It is not necessary to remove the ring pins unless they are being replaced.

  11. Remove the ring pins (1,2).
  12. Using a plastic hammer, tap in the ring pins.
  13. Specification
    Standard protrusion (c): 7.5-8.5 mm (0.295-0.335 in)


    Object Number: 2017308  Size: SH

    Note: If any of the studs are deformed or the threads are damaged, replace it.

  14. Remove the studs(1,2).
  15. Caution: Refer to Fastener Caution in the Preface section.

  16. Using a TORX socket E6, install the studs and tighten to 5.0  N·m (44 lb in).

  17. Object Number: 2017270  Size: SH
  18. Using a 5 mm socket hexagon wrench, install the oil nozzles with the bolts (1-4) and tighten to 10 N·m (7 lb ft).