GM Service Manual Online
For 1990-2009 cars only

    Object Number: 2017310  Size: SH

    Note: Make sure that the end gap of the snap ring is not aligned with the pin hole cutout portion of the piston.

  1. Using a screwdriver, install a new snap ring (1) at one end of the piston pin hole.
  2. Gradually heat the piston to approximately 80-90°C (176-194°F).

  3. Object Number: 2017311  Size: SH

    Note: The piston and pin are a matched set.

  4. Align the front marks of the piston and connecting rod (1), and push in the piston with your thumb.
  5. Note: Make sure that the end gap of the snap ring is not aligned with the pin hole cutout portion of the piston.

  6. Using a screwdriver, install a new snap ring on the other end of the piston pin hole.

  7. Object Number: 2017312  Size: SH
  8. Check the fitting condition between the piston and piston pin by trying to move the piston back and forth on the piston pin.

  9. Object Number: 2017313  Size: SH

    Note: 

       • Install the expander (1) and oil ring (2) so that their ring ends are at opposite sides (3,4).
       • Securely install the expander to the inner groove of the oil ring.

  10. Install the oil ring expander and oil ring rail by hand.

  11. Object Number: 2017314  Size: MH

    Note: 

       • Install the compression ring No. 1 with the code mark (A1) facing upward (2).
       • Install the compression ring No. 2 with the code mark (A2) facing upward (5).
       • Paint marks can only be checked on new piston rings. When reusing piston rings, check each piston ring profile in order to install them into the correct positions.

  12. Using a piston ring expander (1), install the 2 compression rings so that the paint marks are positioned as shown in the illustration.

  13. Object Number: 2017317  Size: SH
  14. Position the piston rings so that the ring ends (1,2) are as shown in the illustration.

  15. Object Number: 2017318  Size: SH
  16. Install the upper bearing (for except No. 3 journal).
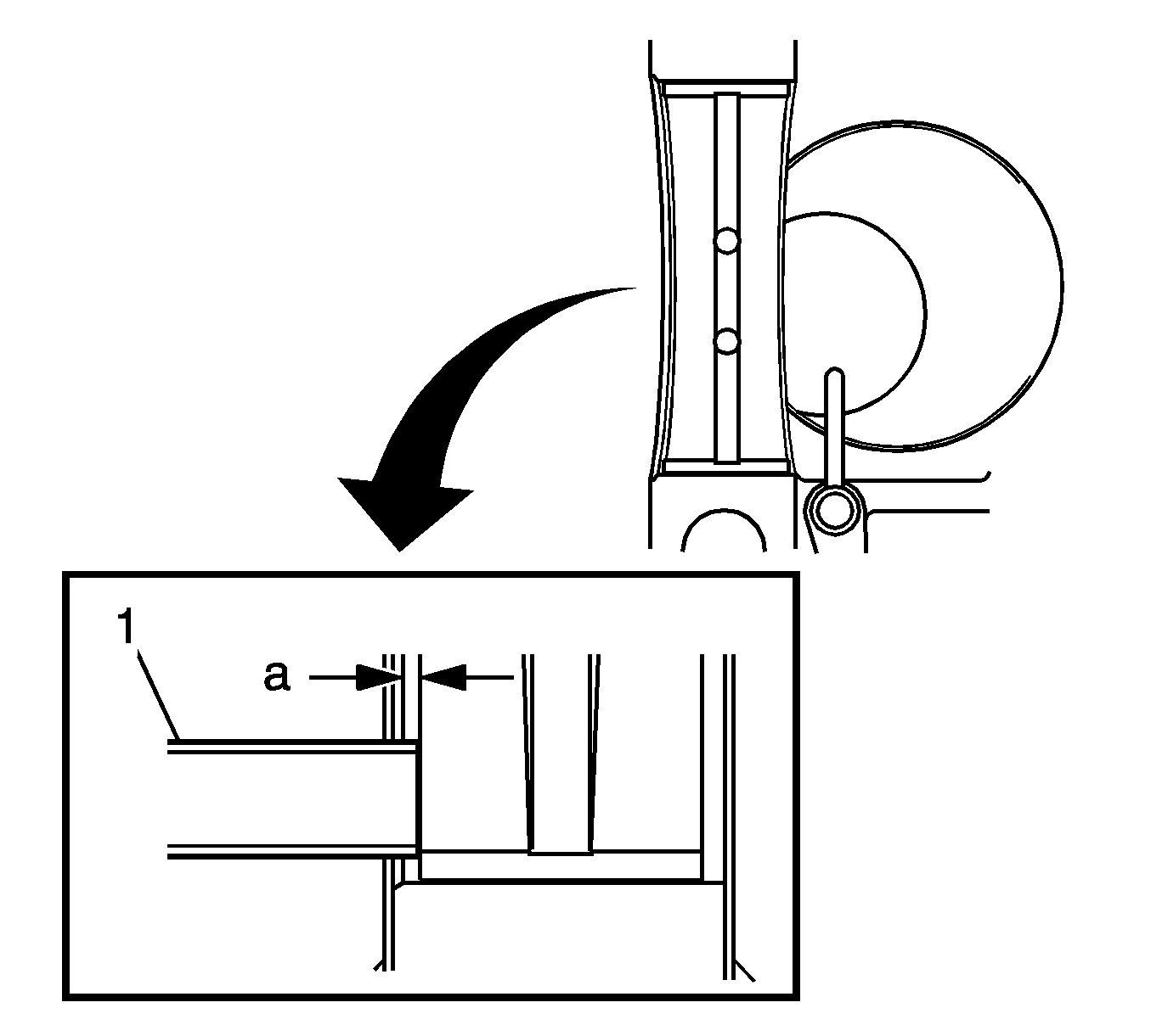
  17. Install the upper bearing with an oil groove on the cylinder block.
  18. Note: Do not apply engine oil to the bearings or the contact surfaces. Dimension (A): 0.5 to 1.0 mm (0.020 to 0.039 in)

  19. Using a scale, measure the distance between the cylinder block edge and the upper bearing edge.

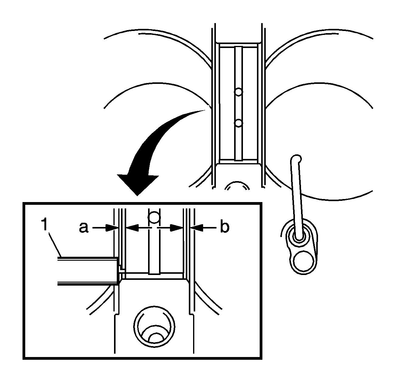
  20. Object Number: 2017319  Size: SH
  21. Install the upper bearing with an oil groove on the cylinder block.
  22. Note: Do not apply engine oil to the bearings or the contact surfaces. Dimension (A - B): 0.5 mm (0.0197 in) or less.

  23. Using vernier calipers, measure the distance between the cylinder block edge and the upper bearing edge.
  24. Install the lower bearing onto the bearing cap.

  25. Object Number: 2017320  Size: SH

    Note: Do not apply engine oil to the bearings or the contact surfaces.

  26. Using vernier calipers, measure the distance between the bearing cap edge and the lower bearing edge.
  27. Dimension (A - B): 0.5 mm (0.0197 in) or less