GM Service Manual Online
For 1990-2009 cars only
  1. Install the camshaft timing gear.
  2. Check the lock of the camshaft timing gear and confirm it is locked.

  3. Object Number: 2017086  Size: SH
  4. Release the lock pin.
  5. Note: There are 4 oil paths in the groove of the camshaft. Plug three of the paths with pieces of rubber.

  6. Cover the 4 oil paths of the cam journal with vinyl tape (5) as shown in the illustration.
  7. Prick a hole in the tape placed on the advance side path. Prick a hole in the tape placed on the retard side path, on the opposite side to that of the advance side path, as shown in the illustration.

  8. Object Number: 2017087  Size: SH

    Note: 

       • Cover the paths with a piece of cloth when applying pressure to keep oil from splashing.
       • Do not lock the camshaft timing gear assembly. If it is locked, release the lock pin again.
       • The camshaft timing gear assembly may be turned in the advance direction without applying any force.
       • If enough air pressure cannot be applied because of air leakage from the port, releasing the lock pin may be difficult.

  9. While applying approximately 150 kPa (22 psi) of air pressure to the oil paths, forcibly turn the camshaft timing gear assembly in the advance direction (counterclockwise).
  10. Note: Do not lock the camshaft timing gear assembly. If it is locked, release the lock pin again.

  11. Turn the camshaft timing gear within its movable range (26.5-28.5 degrees) 2 or 3 times, but do not turn it to the most retarded position. Make sure that the gear turns smoothly.
  12. Inspect the camshaft timing exhaust gear assembly.
  13. Install the camshaft timing gear.
  14. Make sure that the camshaft timing exhaust gear is locked.

  15. Object Number: 2017088  Size: SH
  16. Release the lock pin.
  17. Note: The 4 oil paths are provided in the grooves. Plug 2 paths with rubber pieces.

  18. Cover the 4 oil paths of the cam journal with vinyl tape (6) as shown in the illustration.
  19. Prick a hole in the tape placed on the advance side path. Prick a hole in the tape placed on the retard side path, on the opposite side to that of the advance side path, as shown in the illustration.

  20. Object Number: 2017089  Size: SH

    Note: Cover the paths with a piece of cloth when applying pressure to keep oil from splashing.

  21. Apply approximately 200 kPa (28 psi) of air pressure to the 2 paths (the advance side path (1) and the retard side path (2)).

  22. Object Number: 2017090  Size: SH

    Note: The lock pin is released and the camshaft timing exhaust gear turns in the retard direction.

  23. Make sure that the camshaft timing exhaust gear turns in the retard direction when reducing the air pressure applied to the advance side path (2).
  24. Note: Be sure to release the air pressure from the advance side path first. If the air pressure of the retard side path is released first, the camshaft timing exhaust gear may abruptly shift in the advance direction and break the lock pin or other parts.

  25. When the camshaft timing exhaust gear moves to the most retarded position, release the air pressure from the advance side path (1), and then release the air pressure from the retard side path (2).
  26. Note: When the air pressure is released from the advance side path and then from the retard side path, the gear automatically returns to the most advanced position due to the advance assist spring operation and locks. Gradually release the air pressure from the retard side path before performing the smooth rotation check.

  27. Turn the camshaft timing exhaust gear within its movable range (19-21 degrees) 2 or 3 times, but do not turn it to the most advanced position. Make sure that the gear turns smoothly.
  28. Make sure that the camshaft timing exhaust gear is locked at the most advanced position.

  29. Object Number: 2017091  Size: SH
  30. Pull the chain with a force of 147 N (33 lb ft) as shown in the illustration.
  31. Note: Perform the measurement at 3 random places. Use the average of the measurements. If the average elongation is greater than the maximum, replace the chain.

  32. Using vernier calipers, measure the length (a) of 15 links.
  33. Specification
    Maximum Chain Elongation -- 115.2 mm (4.535 in).


    Object Number: 2017098  Size: SH
  34. Inspect the camshaft timing gear assembly.
  35. Place the chain around the gear.
  36. Note: The vernier calipers must be in contact with the chain rollers when measuring.

  37. Using vernier calipers, measure the diameter of the gear and chain.
  38. If the diameter is less than the minimum, replace the chain and gear.

    Specification
    Minimum gear diameter (with chain) -- 96.8 mm (3.811 in).


    Object Number: 2017099  Size: SH
  39. Inspect camshaft timing exhaust gear assembly
  40. Place the chain around the sprocket.
  41. Note: The vernier calipers must be in contact with the chain rollers when measuring.

  42. Using vernier calipers, measure the diameter of the sprocket and chain.
  43. If the diameter is less than the minimum, replace the chain and sprocket.

    Specification
    Minimum sprocket diameter (with chain) -- 96.8 mm (3.811 in).


    Object Number: 2017094  Size: SH
  44. Inspect crankshaft timing gear.
  45. Place the chain around the gear.
  46. Note: The vernier calipers must be in contact with the chain rollers when measuring.

  47. Using vernier calipers, measure the diameter of the gear and chain.
  48. If the diameter is less than the minimum, replace the chain and gear.

    Specification
    Minimum gear diameter (with chain) -- 51.1 mm (2.012 in).


    Object Number: 2017101  Size: SH
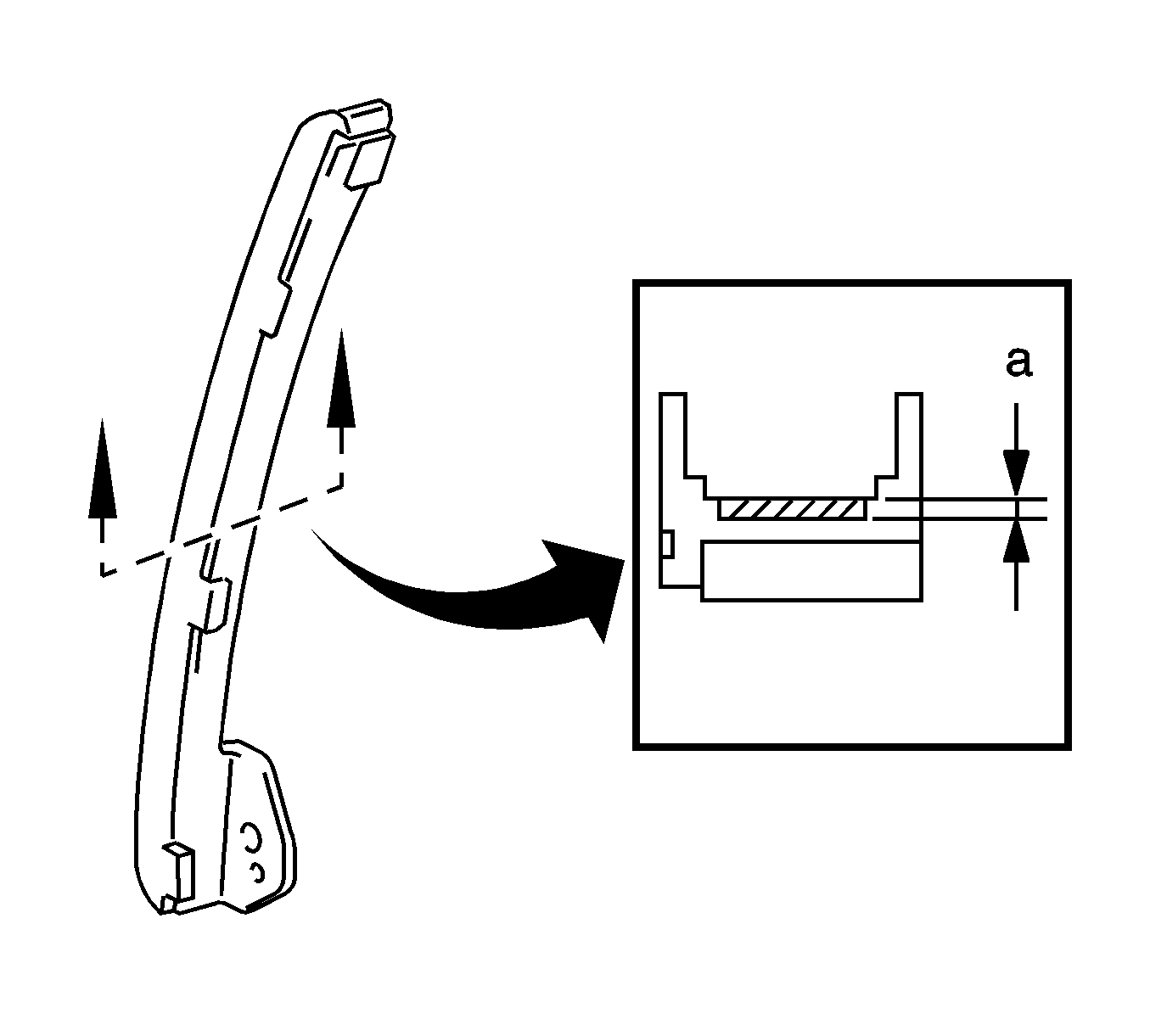
  49. Inspect chain tensioner slipper.
  50. Using vernier calipers, measure the tensioner slipper wear (a).
  51. If the wear is greater than the maximum, replace the chain tensioner slipper.

    Specification
    Maximum wear -- 1.0 mm (0.039 in).


    Object Number: 2017102  Size: SH
  52. Inspect chain vibration damper.
  53. Using vernier calipers, measure the vibration damper wear (a).
  54. If the wear is greater than the maximum, replace the chain vibration damper.

    Specification
    Maximum wear -- 1.0 mm (0.039 in).


    Object Number: 2017103  Size: SH
  55. Inspect No. 2 chain vibration damper.
  56. Using vernier calipers, measure the vibration damper wear (a).
  57. If the wear is greater than the maximum, replace the No. 2 chain vibration damper.

    Specification
    Maximum wear -- 1.0 mm (0.039 in).


    Object Number: 2017104  Size: SH
  58. Inspect chain tensioner plate.
  59. Using vernier calipers, measure the chain tensioner plate wear (a).
  60. If the wear is greater than the maximum, replace the chain tensioner plate.

    Specification
    Maximum wear -- 1.0 mm (0.039 in).


    Object Number: 2017107  Size: SH
  61. Inspect chain tensioner.
  62. Check that the plunger moves smoothly when the ratchet pawl is raised with your finger.
  63. Release the ratchet pawl, then check that the plunger is locked in place by the ratchet pawl and does not move when pushed with your finger.

  64. Object Number: 2017094  Size: SH
  65. Inspect oil pump drive gear.
  66. Place the chain around the gear.
  67. Note: The vernier calipers must be in contact with the chain rollers when measuring.

  68. Using vernier calipers, measure the diameter of the gear and chain.
  69. If the diameter is less than the minimum, replace the chain and gear.

    Specification
    Minimum gear diameter w/chain -- 48.2 mm (1.898 in).


    Object Number: 2017095  Size: SH
  70. Inspect the oil pump drive shaft gear.
  71. Place the chain around the gear.
  72. Note: The vernier calipers must be in contact with the chain rollers when measuring.

  73. Using vernier calipers, measure the diameter of the gear and chain.
  74. If the diameter is less than the minimum, replace the chain and gear.

    Specification
    Minimum gear diameter (with chain) -- 48.8 mm (1.921 in).