GM Service Manual Online
For 1990-2009 cars only

Special Tools

EN-49184 Valve Guide Bushing Replacer

Valve Guides

  1. Replace intake valve guide bush.
  2. Heat the cylinder head to 80-100°C (176-212°F).
  3. Place the cylinder head on wooden blocks.

  4. Object Number: 2017225  Size: SH
  5. Using EN-49184 replacer  (1) and a hammer, tap out the guide bush.

  6. Object Number: 2017226  Size: SH
  7. Using a caliper gauge, measure the bush bore diameter of the cylinder head.
  8. Specification
    Cylinder Bore Diameter: 10.285 to 10.306 mm (0.4049 to 0.4057 in)

  9. Select a new guide bush (STD or O/S 0.05).
  10. If the bush bore diameter of the cylinder head is greater than 10.306 mm (0.4057 in), machine the bush bore to the dimension of 10.335 to 10.356 mm (0.4069 to 0.4077 in) to install an O/S 0.05 valve guide bush. If the bush bore diameter of the cylinder head is greater than 10.356 mm (0.4077 in), replace the cylinder head.
  11. Heat the cylinder head to 80-100°C (176-212°F).
  12. Place the cylinder head on wooden blocks.

  13. Object Number: 2017227  Size: SH
  14. Using EN-49184 replacer  (1) and a hammer, tap in a new guide bush to the specified protrusion height.
  15. Specification
    Protrusion Height: 9.9-10.3 mm (0.3898-0.4055 in)


    Object Number: 2017228  Size: SH
  16. Using a sharp 5.5 mm reamer, ream the guide bush to obtain the standard clearance between the guide bush and valve stem.
  17. Specification
    Standard Oil Clearance: 0.025-0.060 mm (0.0010-0.0024 in)

  18. Replace the exhaust valve guide bush.
  19. Heat the cylinder head to 80-100°C (176-212°F).
  20. Place the cylinder head on wooden blocks.

  21. Object Number: 2017229  Size: SH
  22. Using EN-49184 replacer  (1) and a hammer, tap out the guide bush.

  23. Object Number: 2017230  Size: SH
  24. Using a caliper gauge, measure the bush bore diameter of the cylinder head.
  25. Specification
    Diameter: 10.285-10.306 mm (0.4049-0.4057 in), select a new guide bush (STD or O/S 0.05)

  26. If the bush bore diameter of the cylinder head is greater than 10.306 mm (0.4057 in), machine the bush bore to the dimension of 10.335 to 10.356 mm (0.4069 to 0.4077 in) to install an O/S 0.05 valve guide bush. If the bush bore diameter of the cylinder head is greater than 10.356 mm (0.4077 in), replace the cylinder head.
  27. Heat the cylinder head to 80-100°C (176-212°F).
  28. Place the cylinder head on wooden blocks.

  29. Object Number: 2017231  Size: SH
  30. Using EN-49184 replacer  (1) and a hammer, tap in a new guide bush to the specified protrusion height.
  31. Specification
    Protrusion Height: 11.15-11.55 mm (0.4390-0.4547 in.)


    Object Number: 2017232  Size: SH
  32. Using a sharp 5.5 mm reamer, ream the guide bush to obtain the standard clearance between the guide bush and valve stem.
  33. Specification
    Standard Oil Clearance: 0.030- 0.065 mm (0.0012-0.0026 in)

    Note: It is not necessary to remove the ring pins unless they are being replaced.

  34. Remove the ring pins.

  35. Object Number: 2017233  Size: SH
  36. Using a plastic-faced hammer, tap in new ring pins (1) to the specified protrusion height.
  37. Specification
    Protrusion Height: 6.5-7.5 mm (0.26-0.30 in)


    Object Number: 2017234  Size: SH

    Note: If any of the stud bolts is deformed or the threads are damaged, replace it.

  38. Remove the stud bolts (1).
  39. Caution: Refer to Fastener Caution in the Preface section.


    Object Number: 2017235  Size: SH
  40. Using an E8 TORX socket, install the stud bolts (1).
  41. Tighten
    Tighten the bolts to 9.5 N·m (84 lb in).

Intake and Exhaust Valves


    Object Number: 2017242  Size: SH

    Note: 

       • Repair the seat while checking the seating position.
       • Keep the lip free of foreign matter.

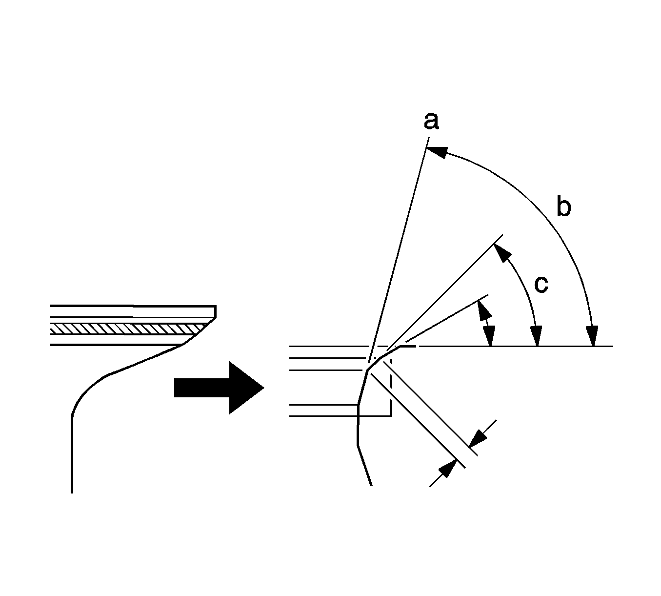
  1. Using a 45 degree cutter, resurface the valve seat so that the valve seat width is more than the specification.

  2. Object Number: 2017244  Size: SH
  3. Using 30 degree and 75 degree cutters, correct the valve seat so that the valve contacts the entire circumference of the seat. The contact should be in the center of the valve seat, and the valve seat width should be maintained within the specified range around the entire circumference of the seat.
  4. Handrub the valve and valve seat with an abrasive compound.
  5. Check the valve seating position.