GM Service Manual Online
For 1990-2009 cars only

    Object Number: 2017321  Size: SH
  1. Install the 2 upper crankshaft thrust washers (1) under the No. 3 journal of the cylinder block with the oil grooves (3) facing outward.
  2. Apply the engine oil to the crankshaft thrust washer.
  3. Apply the engine oil to the upper bearing and install the crankshaft on the cylinder block.
  4. Apply the engine oil to the lower bearing.

  5. Object Number: 2017323  Size: SH
  6. Examine the number marks (1) and install the bearing caps on the cylinder block in order.
  7. Apply a light coat of engine oil to the threads and under the bearing cap bolts.

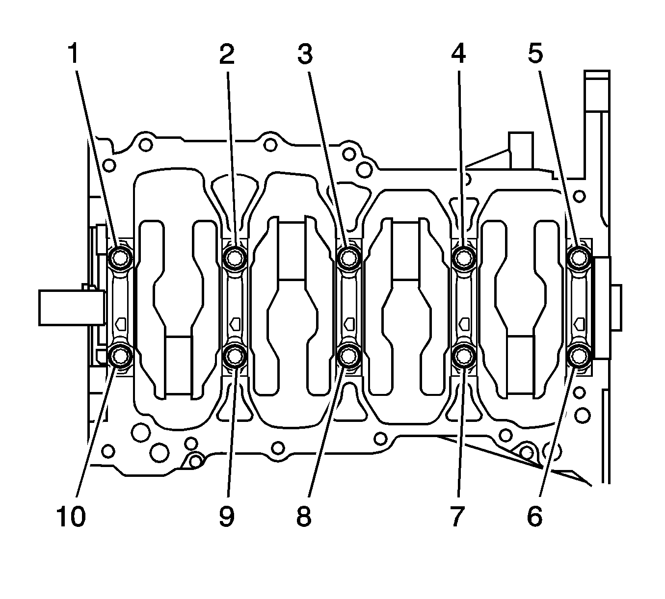
  8. Object Number: 2017324  Size: SH
  9. Temporarily install the 10 main bearing cap bolts (1 -- 10).

  10. Object Number: 2017325  Size: SH
  11. Thread the main bearing cap bolts in with your hand until the clearance (a) between the main bearing cap and the cylinder block is less than 5 mm (0.20 in) using the 2 internal bearing cap bolts as guides.

  12. Object Number: 2017326  Size: SH
  13. Using a plastic hammer, lightly tap the bearing cap to ensure a proper fit.
  14. Note: The main bearing cap bolts are tightened in 2 progressive steps.

  15. Install the crankshaft bearing cap bolts.

  16. Object Number: 2017327  Size: SH
  17. Install and uniformly tighten the 10 main bearing cap bolts in sequence to 40 N·m (30 lb ft).

  18. Object Number: 2017328  Size: SH
  19. Mark the front of the bearing cap bolts with paint (1).
  20. Further tighten the bearing cap bolts an additional 90 degree in the numerical order shown in the previous illustration.
  21. Check that the paint mark is now at a 90 degree angle to the front.
  22. Check that the crankshaft turns smoothly.
  23. Check the crankshaft thrust clearance. Refer to Crankshaft and Bearing Cleaning and Inspection.