GM Service Manual Online
For 1990-2009 cars only
  1. Install the connecting rod bearing to the connecting rod and bearing cap.

  2. Object Number: 2017329  Size: SH

    Note: Do not apply engine oil to the bearings or the contact surfaces.

  3. Using vernier calipers, measure the distance between the connecting rod and bearing cap edges and the connecting rod bearing edge.
  4. Specification
    Dimension (A - B): 0.7 mm (0.0276 in) or less

  5. Apply engine oil to the cylinder walls, the pistons, and the surfaces of the connecting rod bearings.

  6. Object Number: 2017317  Size: SH

    Note: Do not align the ring ends.

  7. Position the piston rings so that the ring ends (1,2) are as shown in the illustration.

  8. Object Number: 2017330  Size: SH

    Note: 

       • When inserting the piston with connecting rod, do not allow it to make contact with the oil nozzle.
       • Match the numbered connecting rod cap with the connecting rod (2).

  9. Using a piston ring compressor, push the correctly numbered piston (1) and connecting rod assembly into the cylinder with the front mark of the piston facing forward.

  10. Object Number: 2017273  Size: SH
  11. Check that the protrusion of the connecting rod cap (1) is facing in the correct direction.
  12. Apply a light coat of engine oil to the threads and under the heads of the connecting rod cap bolts.
  13. Note: The connecting rod cap bolts should be tightened in 2 progressive steps.

  14. Install the connecting rod cap bolts.
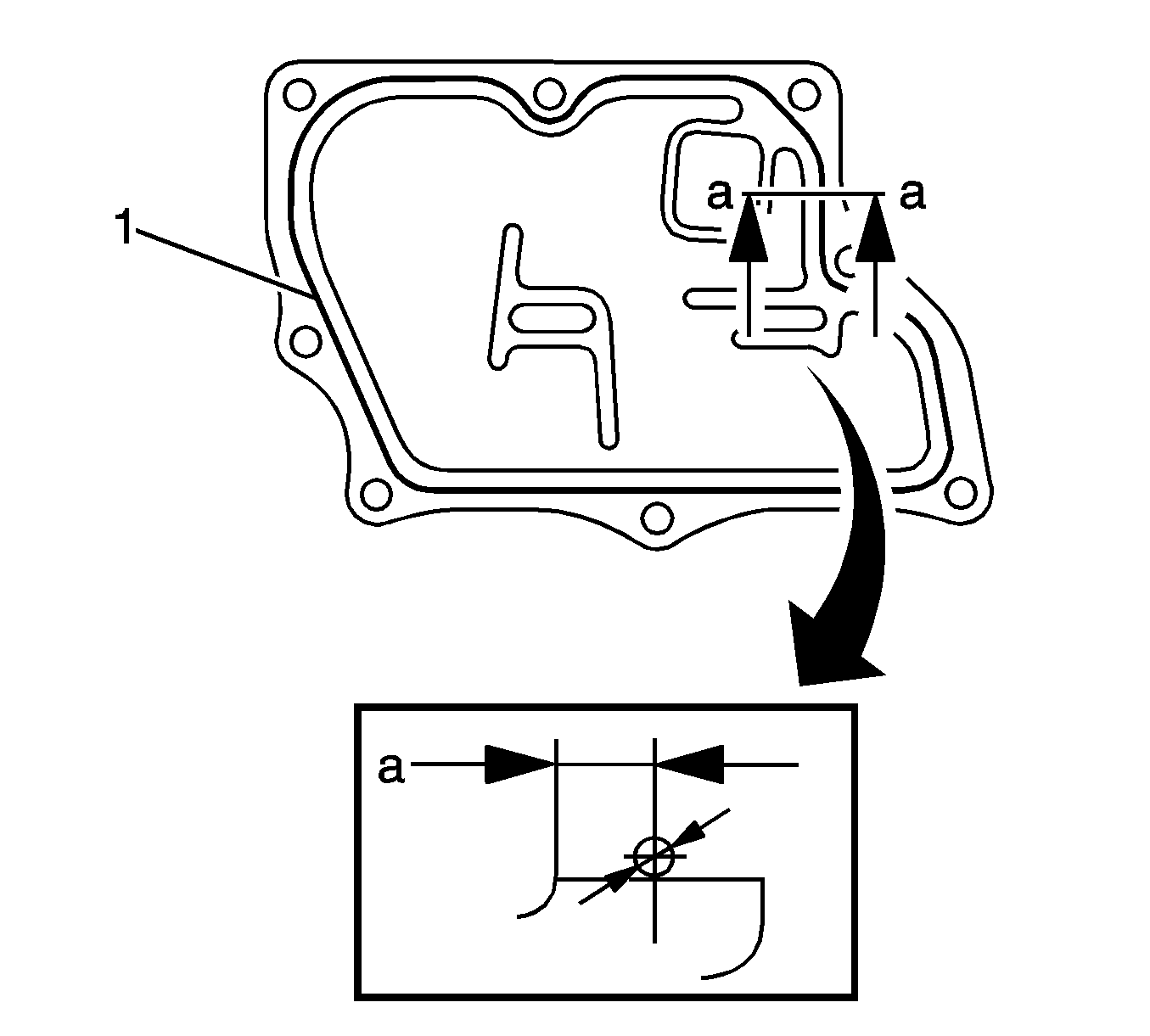
  15. Caution: Refer to Fastener Caution in the Preface section.


    Object Number: 2017331  Size: SH
  16. Using a suitable socket, install and alternately tighten the bolts (1) of the connecting rod cap in several steps to 20 N·m(15 lb ft).

  17. Object Number: 2017332  Size: SH
  18. Mark the front of the connecting rod cap bolts with paint (1).
  19. Further tighten the cap bolts an additional 90 degrees as shown.
  20. Check that the crankshaft turns smoothly.
  21. Check the connecting rod thrust clearance.

  22. Object Number: 2017333  Size: SH

    Note: 

       • Remove any oil from the contact surface.
       • Install the No. 1 ventilation case within 3 minutes and tighten the bolts and nuts within 15 minutes after applying seal packing.
       • Do not start the engine for at least 2 hours after installing.

  23. Apply Three Bond 1207B or equivalent Bead diameter: 2.0 mm (0.0787 in) sealant (1) in a continuous bead as shown in the illustration.

  24. Object Number: 2017250  Size: SH
  25. Install the ventilation case with the 6 bolts (1) and 2 nuts (2) and tighten to 10 N·m (7 lb ft).