GM Service Manual Online
For 1990-2009 cars only

    Note: 

       • Keep the lash adjuster free of dirt and foreign matter.
       • Only use clean engine oil.

  1. Install the valve lash adjuster assembly.
  2. Place the lash adjuster into a container filled with engine oil.
  3. Note: Install the lash adjuster to the same place it was removed from.

  4. Install the lash adjusters.
  5. Install the valve rocker arm subassembly
  6. Apply engine oil to the lash adjuster tip and valve stem cap end.

  7. Object Number: 2016751  Size: SH
  8. Make sure that the valve rocker arms (1) are installed properly.
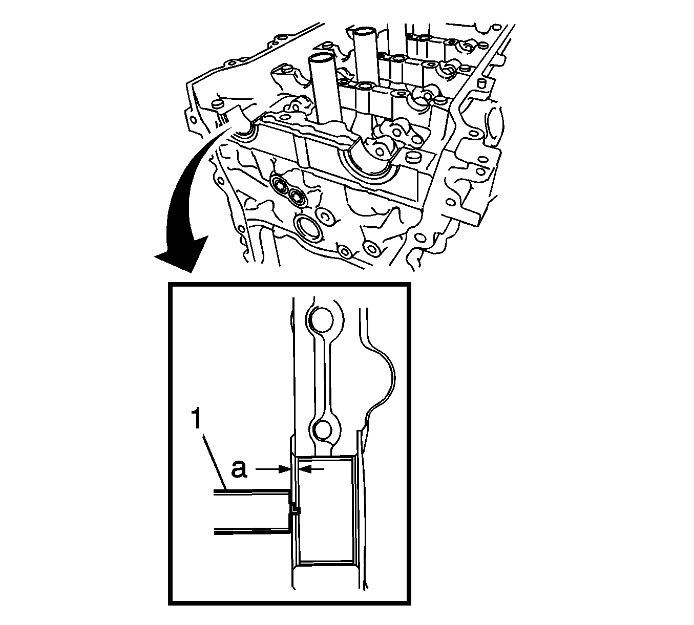
  9. Clean both surfaces of the bearings.
  10. Install the 2 camshaft bearings.
  11. Note: Position the bearings to the center of the bearing cap.

  12. Using vernier calipers, measure the distance between the bearing cap edge and the camshaft bearing edge.
  13. Specification
    Dimension: 0.7 mm (0.0276 in) or less


    Object Number: 2017144  Size: SH
  14. Install the oil control valve filter (1).
  15. Clean both surfaces of the bearings.
  16. Install the 2 camshaft bearings.

  17. Object Number: 2016747  Size: SH

    Note: Position the bearings to the center of the bearing cap by measuring dimension A.

  18. Using vernier calipers, measure the distance between the bearing cap edge and the camshaft bearing edge.
  19. Specification
    Dimension A: 1.05 to 1.75 mm (0.041 to 0.069 in)

  20. Clean the camshaft journals.
  21. Apply a light coat of engine oil to the camshaft journals, camshaft housings and bearing caps.

  22. Object Number: 2016738  Size: SH
  23. Install the exhaust camshaft to the camshaft housing.
  24. Clean the camshaft journals.
  25. Apply a light coat of engine oil to the camshaft journals, camshaft housing.

  26. Object Number: 2016737  Size: SH
  27. Install the intake camshaft to the camshaft housing.
  28. Install the camshaft bearing cap.
  29. Apply the engine oil to the bearing caps.

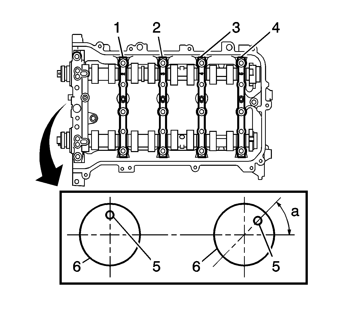
  30. Object Number: 2016748  Size: SH

    Note: Make sure that the knock pin (5,6) of the camshaft is positioned as shown.

  31. Make sure of the marks and numbers on the camshaft bearing caps and place them in each proper position and direction.
  32. Caution: Refer to Fastener Caution in the Preface section.


    Object Number: 2016750  Size: SH
  33. Install the 10 bolts and tighten in sequence to 16 N·m (12 lb ft).
  34. Install the camshaft housing sub-assembly.

  35. Object Number: 2016752  Size: SH

    Note: 

       • Remove any oil from the contact surface.
       • Install the camshaft housing sub-assembly within 3 minutes and tighten the bolts within 15 minutes after applying seal packing.
       • Do not start the engine for at least 2 hours after installing.

  36. Apply Three Bond 1207B or equivalent, seal packing in a continuous bead (1).
  37. Specification
    Bead diameter: 3.5 to 4.0 mm (0.138 to 0.158 in)


    Object Number: 2016755  Size: SH
  38. Set the intake and exhaust camshafts.
  39. Note: 

       • After installing the camshaft housing, make sure that the cam lobes are positioned as shown.
       • If any of the bolts are loosened during installation, remove the camshaft housing, clean the installation surfaces, and reapply seal packing.
       • If the camshaft housing is removed because any of the bolts are loosened during installation, make sure that the previously applied seal packing does not enter any oil passages.
       • After installing the camshaft housing, wipe off any seal packing that seeped out from between the housing and the cylinder head.

  40. Install the camshaft housing and 17 bolts and tighten in sequence to 27 N·m (20 lb ft).
  41. Install the camshaft timing gear assembly.
  42. Check that the knock pin is installed on the camshaft.

  43. Object Number: 2016756  Size: SH
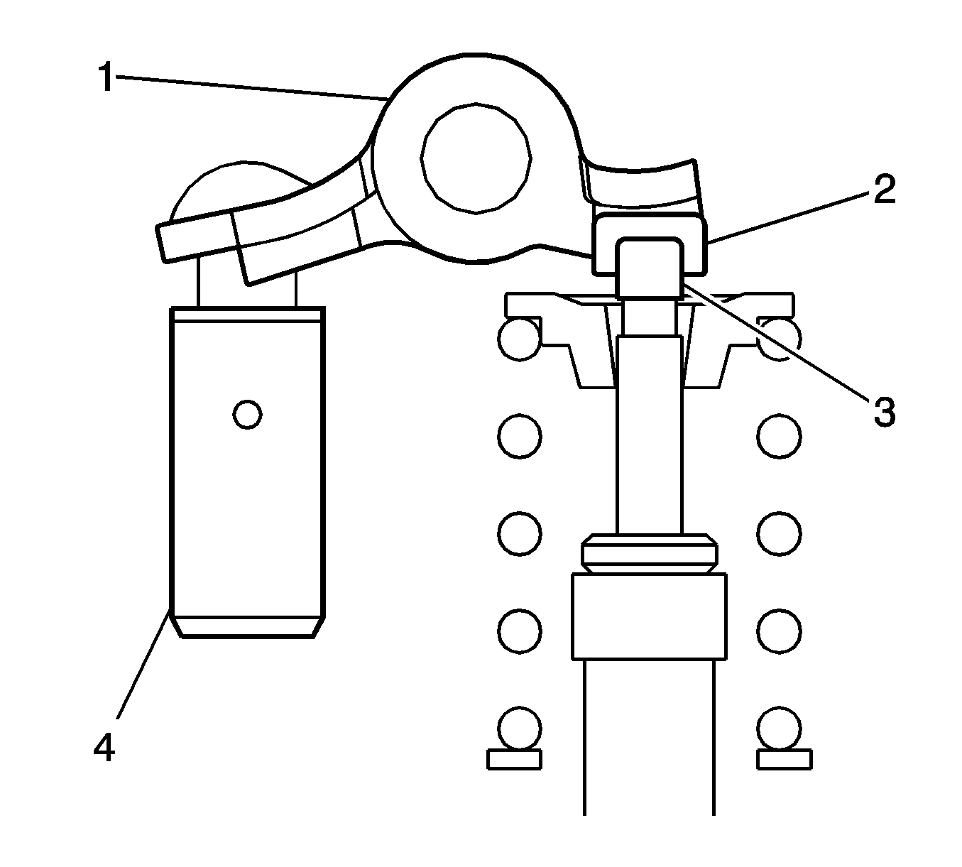
  44. Put the camshaft timing gear and camshaft together with the straight pin (1) and key groove (2) misaligned.
  45. Note: Do not turn the camshaft timing gear in the retard direction (clockwise).

  46. Turn the camshaft timing gear, while pushing it gently against the camshaft. Push further at the position where the pin fits into the groove.

  47. Object Number: 2017150  Size: SH
  48. Measure the clearance between the gear (1) and the camshaft (2).
  49. Specification
    Clearance: 0.1-0.4 mm (0.004-0.016 in)


    Object Number: 2016760  Size: SH
  50. Install the flange bolt (1) with the camshaft timing gear fixed in place and tighten to 54 N·m (40 lb ft).

  51. Object Number: 2016761  Size: SH
  52. Check that the camshaft timing gear can move in the retard direction (clockwise) and locks in the most retarded position.
  53. Install the camshaft timing exhaust gear assembly.
  54. Check that the knock pin is installed on the camshaft.

  55. Object Number: 2016762  Size: SH
  56. Put the camshaft timing exhaust gear and camshaft together by aligning the key groove (1) and straight pin (2).
  57. Note: Be sure not to turn the camshaft timing exhaust gear in the retard direction (clockwise).

  58. Lightly press the gear against the camshaft, and turn the gear. Push further at the position where the pin enters the groove.
  59. Check that there is no clearance between the gear flange and the camshaft.

  60. Object Number: 2016769  Size: SH
  61. Install the flange bolt (1) with the camshaft timing exhaust gear fixed and tighten to 54 N·m (40 lb ft).
  62. Make sure that the camshaft timing exhaust gear is locked.