GM Service Manual Online
For 1990-2009 cars only

    Object Number: 2018112  Size: SH
  1. Inspect the camshaft chain drive assembly.
  2. Pull the chain with a force of 43 N·m (31.5 lb ft) as shown in the illustration.
  3. Note: Perform the measurement at 3 random places. Use the average of the measurements. If the elongation (a) is greater than the maximum, replace the chain.

  4. Using vernier calipers, measure the length of 15 links.
  5. Maximum Chain Elongation
    114.5 mm (4.508 in)

  6. Inspect the oil pump chain drive assembly.
  7. Pull the chain with a force of 43 N·m (31.5 lb ft) as shown in the illustration.
  8. Note: Perform the measurement at 3 random places. Use the average of the measurements.

  9. Using vernier calipers, measure the length of 15 links.
  10. Maximum Chain Elongation
    102.2 mm (4.024 in)

  11. If the elongation is greater than the maximum, replace the No. 2 chain.

  12. Object Number: 2017094  Size: SH
  13. Inspect oil pump drive gear.
  14. Wrap the chain around the sprocket.
  15. Note: The vernier calipers must be in contact with the chain rollers when measuring.

  16. Using vernier calipers, measure the sprocket diameter with the chain wrapped around.
  17. Minimum Gear Diameter (With Chain)
    48.2 mm (1.898 in)

  18. If the diameter is less than the minimum, replace the chain and sprocket.
  19. Inspect oil pump drive shaft gear.
  20. Wrap the chain around the sprocket.
  21. Note: The vernier calipers must be in contact with the chain rollers when measuring.

  22. Using vernier calipers, measure the sprocket diameter with the chain wrapped around.
  23. Minimum Gear Diameter (With Chain)
    48.2 mm (1.898 in)

  24. If the diameter is less than the minimum, replace the chain and sprocket.

  25. Object Number: 2017098  Size: SH
  26. Inspect camshaft timing gear assembly.
  27. Wrap the chain around the sprocket.
  28. Note: The vernier calipers must be in contact with the chain rollers when measuring.

  29. Using vernier calipers, measure the sprocket diameter with the chain wrapped around.
  30. Minimum Gear Diameter (With Chain)
    97.3 mm (3.831 in)

  31. If the diameter is less than the minimum, replace the chain and sprocket.

  32. Object Number: 2018222  Size: SH
  33. Inspect camshaft timing gear or sprocket.
  34. Wrap the chain around the sprocket.
  35. Note: The vernier calipers must be in contact with the chain rollers when measuring.

  36. Using vernier calipers, measure the sprocket diameter with the chain wrapped around.
  37. Minimum Gear Diameter (With Chain)
    97.3 mm (3.831 in)

  38. If the diameter is less than the minimum, replace the chain and sprocket.

  39. Object Number: 2017094  Size: SH
  40. Inspect crankshaft timing gear or sprocket.
  41. Wrap the chain around the timing sprocket.
  42. Note: The vernier calipers must be in contact with the chain rollers when measuring.

  43. Using vernier calipers, measure the timing gear diameter with the chain wrapped around.
  44. Minimum Gear Diameter (With Chain)
    51.6 mm (2.031 in)

  45. If the gear diameter is less than the minimum, replace the chain sub-assembly and crankshaft timing sprocket.

  46. Object Number: 2018113  Size: SH
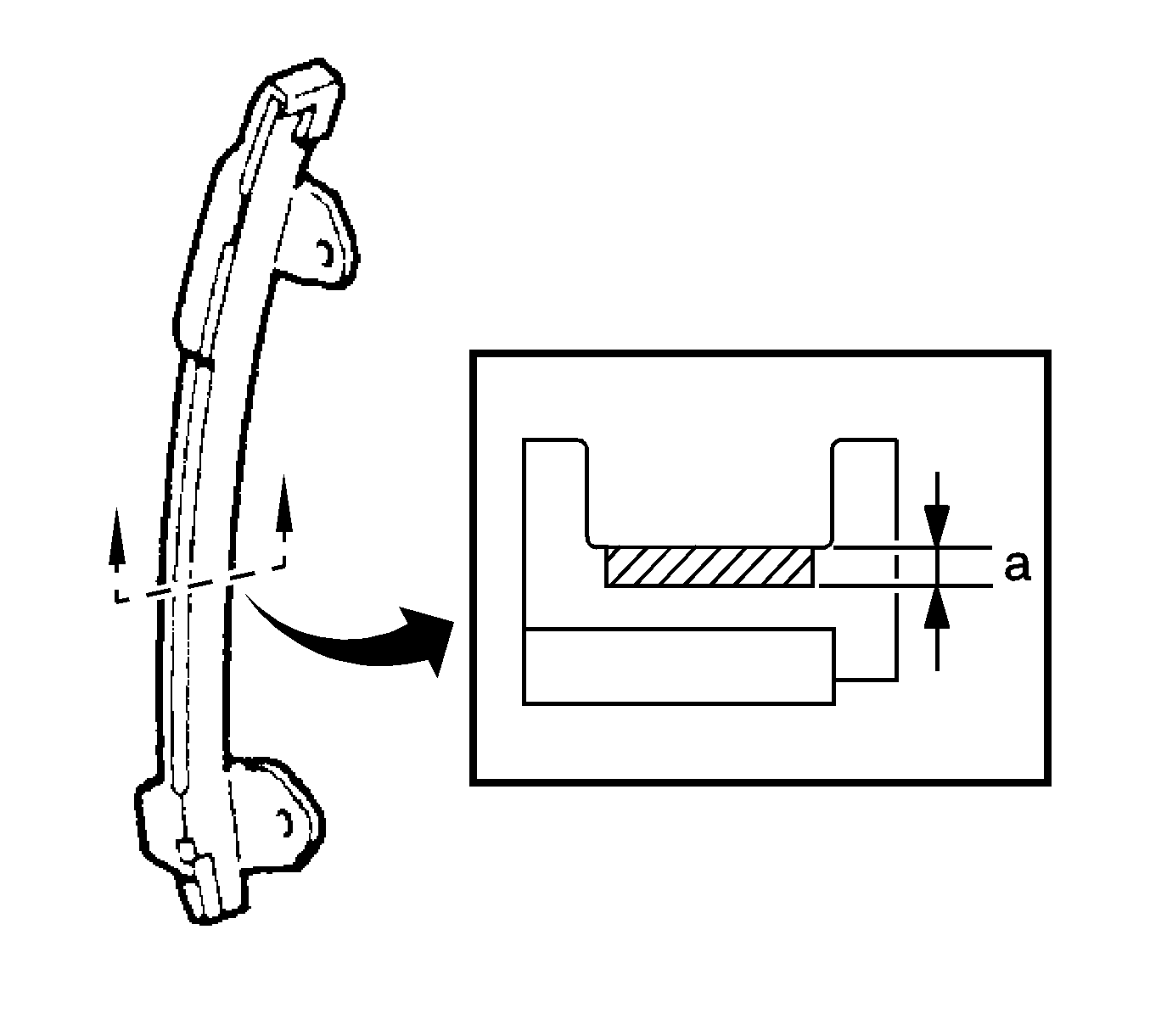
  47. Inspect chain tensioner slipper.
  48. Using vernier calipers, measure the tensioner slipper wear (a).
  49. Maximum Wear
    1.0 mm (0.039 in)

  50. If the wear is greater than the maximum, replace the chain tensioner slipper.

  51. Object Number: 2018117  Size: SH
  52. Inspect No. 1 chain vibration damper.
  53. Using vernier calipers, measure the vibration damper wear (a).
  54. Maximum Wear
    1.0 mm (0.039 in)

  55. If the wear is greater than the maximum, replace the No. 1 chain vibration damper.

  56. Object Number: 2017104  Size: SH
  57. Inspect chain tensioner plate.
  58. Using vernier calipers, measure the vibration damper wear (a).
  59. Maximum Wear
    0.5 mm (0.020 in)

  60. If the wear is greater than the maximum, replace the chain tensioner plate.

  61. Object Number: 2017107  Size: SH
  62. Inspect No. 1 chain tensioner assembly.
  63. Check that the plunger moves smoothly when the ratchet pawl is raised with your finger.
  64. Release the ratchet pawl, then check that the plunger is locked in place by the ratchet pawl and does not move when pushed with your finger.