GM Service Manual Online
For 1990-2009 cars only

Special Tools

    • EN 46116 Valve Spring Compressor Adapter
    • J 8062 Valve Spring Compressor

Assembly Procedure

    Caution: Refer to Fastener Caution in the Preface section.


    Object Number: 2017131  Size: SH
  1. Using a 14 mm straight hexagon wrench, install 2 new gaskets and the 2 straight screw plugs.
  2. Tighten
    Tighten screw plugs to 86 N·m (64 lb ft).


    Object Number: 2018067  Size: SH
  3. Install the valve spring seats into the cylinder head.

  4. Object Number: 2018078  Size: SH

    Note: The intake valve oil seal is gray and the exhaust valve oil seal is black.

  5. Apply a light coat of engine oil to a new oil seal (1, 2).

  6. Object Number: 2018084  Size: SH
  7. Using EN 46116 remover/installer  (1) , push in the oil seal.

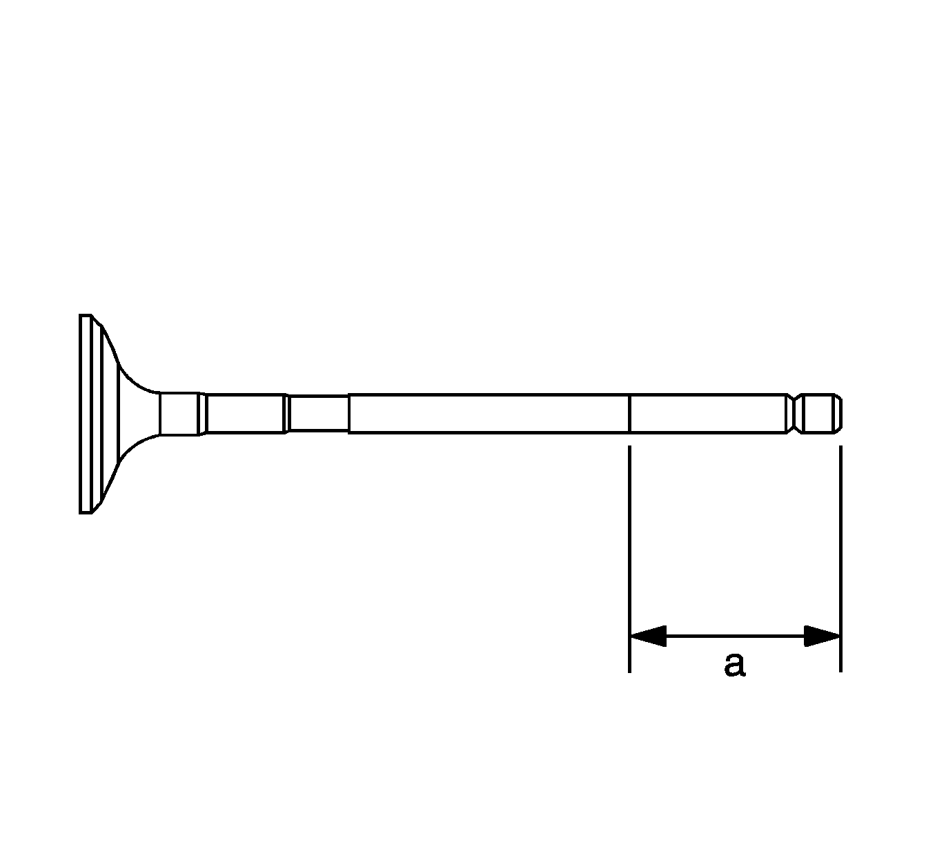
  8. Object Number: 2017238  Size: SH
  9. Apply a sufficient coat of engine oil to the tip area of the intake valve (a) shown in the illustration.
  10. Note: Install the same parts in the same combination to the original locations.

  11. Install the valve, compression spring and spring retainer to the cylinder head.

  12. Object Number: 2016953  Size: SH
  13. Using J 8062 compressor  (1) and wooden blocks (2), compress the spring and install the 2 retainer locks.

  14. Object Number: 2018087  Size: SH

    Note: Be careful not to damage the valve stem tip.

  15. Using a 5 mm pin punch and plastic hammer, lightly tap the valve stem tip to ensure a proper fit.

  16. Object Number: 2018090  Size: SH
  17. Apply a sufficient coat of engine oil to the tip area of the intake valve shown in the illustration.
  18. Note: Install the same parts in the same combination to the original locations.

  19. Install the valve, compression spring and spring retainer to the cylinder head.

  20. Object Number: 2016959  Size: SH
  21. Using J 8062 compressor  (1) and wooden blocks (2), compress the spring and install the 2 retainer locks.

  22. Object Number: 2018094  Size: SH

    Note: Be careful not to damage the valve stem tip.

  23. Using a 5 mm pin punch (1) and plastic hammer, lightly tap the valve stem tip to ensure a proper fit.
  24. Apply a light coat of engine oil.

  25. Object Number: 2016843  Size: SH

    Note: Install the same parts in the same combination to the original locations.

  26. Assemble the valve lifter and the tip of the valve stem.