GM Service Manual Online
For 1990-2009 cars only

Removal Procedure

    Warning: Refer to Battery Disconnect Warning in the Preface section.


    Object Number: 2014952  Size: SH

    Note: The vehicle communication interface module (VCIM) has a specific set of unique numbers that tie the module to each vehicle. These numbers, the 10-digit station identification and the 11-digit electronic serial number, are used by the National Cellular Network and OnStar® to identify the specific vehicle. Because these numbers are tied to the vehicle identification number of the vehicle, you must never exchange these parts with those of another vehicle.

  1. Disconnect the battery ground cable.
  2. Remove the front seat. Refer to Front Seat Replacement - Bucket.
  3. Remove the two clips (1).
  4. Disengage two guides (2) and remove the communication interface module cover (3).

  5. Object Number: 2014955  Size: SH
  6. Disconnect vehicle communication interface module electrical connectors (1).
  7. Remove the three nuts (2).
  8. Remove the vehicle communication interface module from the vehicle.

Installation Procedure


    Object Number: 2014995  Size: SH
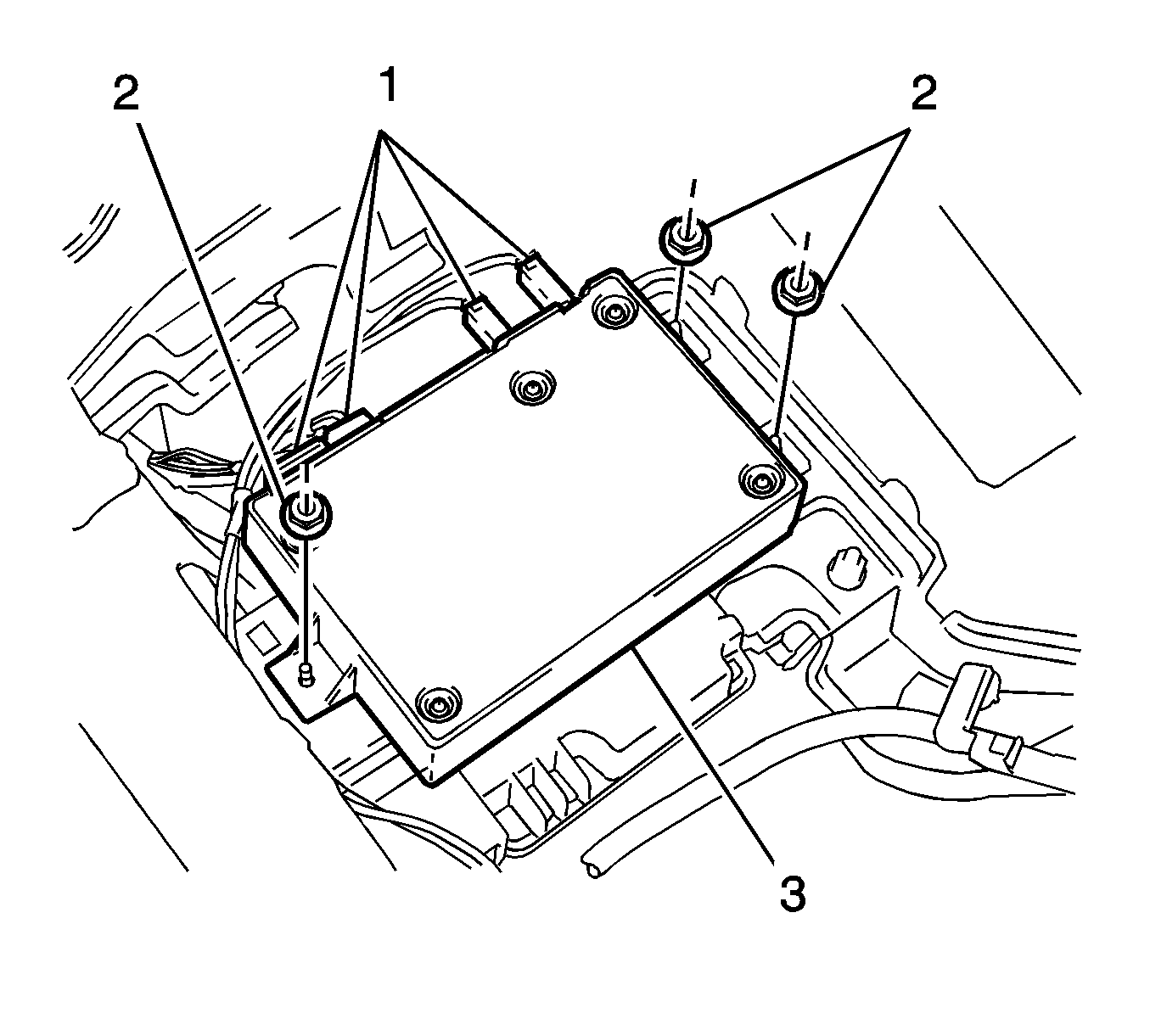
  1. Position the vehicle communication interface module (3) in the vehicle.
  2. Caution: Refer to Fastener Caution in the Preface section.

  3. Install the three nuts (2).
  4. Tighten
    Tighten the nuts (2) to 7.5 N·m (66 lb in).

  5. Connect vehicle communication interface module electrical connectors (1).

  6. Object Number: 2014952  Size: SH
  7. Engage two guides (2) and install the communication interface module cover (3).
  8. Install the two clips (1).
  9. Connect two vehicle communication interface module electrical connectors (1).
  10. Install the front seat. Refer to Front Seat Replacement - Bucket.
  11. Warning: Refer to Battery Disconnect Warning in the Preface section.

  12. Connect the battery ground cable.
  13. Note: If replacing the vehicle communication interface module, you must reconfigure the OnStar® system.

  14. Reconfigure the OnStar® system. Refer to Control Module References for programming and setup information.