GM Service Manual Online
For 1990-2009 cars only

Removal Procedure

Special Tools

CH-47717 Fuel Lock Ring Remover Tool

  1. Remove the rear seat cushion assembly. Refer to Rear Seat Cushion Replacement.

  2. Object Number: 2016999  Size: SH
  3. Remove the rear floor service hole cover (1).
  4. Disconnect the connector (2) from the fuel suction tube assembly for AWD.

  5. Object Number: 2016526  Size: SH
  6. Disconnect the connector (2) from the fuel suction tube assembly for FWD.
  7. Warning: Refer to Battery Disconnect Warning in the Preface section.

  8. Discharge the fuel system pressure. Refer to Fuel Pressure Relief.
  9. Disconnect the fuel tank main tube sub-assembly.
  10. Disconnect the fuel tank main tube.

  11. Object Number: 2017003  Size: SH

    Note: Check that there is no dirt or other foreign objects around the fuel tube joint before disconnecting it. Clean the joint if necessary. It is necessary to prevent mud or dirt from entering the joint. If mud or dirt gets in the joint, the O-rings may not seal properly. Only disconnect the joint by hand. Do not bend, kink or twist the nylon tubes. Protect the joint by covering it with a plastic bag.

  12. Remove the tube joint clip (3), and pull the fuel tube joint (1) out of the plug of the fuel suction plate.

  13. Object Number: 2017010  Size: SH
  14. Disconnect the fuel tank vent hose for FWD.
  15. Pinch the retainer and pull the fuel tank vent connector out of the fuel tank to disconnect the fuel tank vent hose from the fuel suction plate.

  16. Object Number: 2017023  Size: SH
  17. Remove the 8 bolts (1-8) and the fuel pump gage retainer for AWD.

  18. Object Number: 1460720  Size: SH
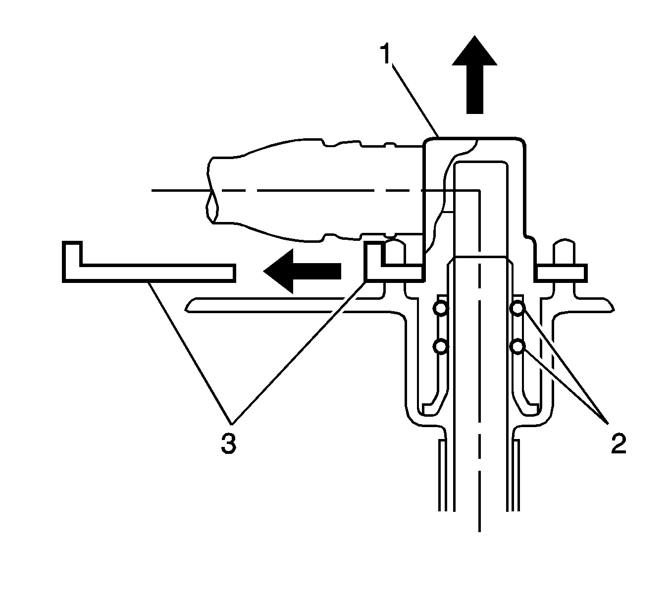
  19. Using the CH-47717 remover tool , loosen the fuel pump gage retainer.
  20. Remove the fuel pump gage retainer while holding the fuel suction tube assembly by hand.

  21. Object Number: 2017030  Size: SH
  22. Remove the fuel suction tube assembly.
  23. Disconnect the hose and remove the fuel suction tube assembly.
  24. Note: Make sure that the fuel sender gage arm does not bend.

  25. Remove the gasket from the fuel suction tube assembly.

  26. Object Number: 2016701  Size: SH
  27. Remove the gasket (1) from the fuel tank.

Disassembly Procedure


    Object Number: 2016673  Size: SH
  1. Release the claw and disconnect the fuel pump filter hose (1).

  2. Object Number: 2016971  Size: SH
  3. Disengage the claw (1) of the jet pump nozzle for AWD.
  4. Using a screwdriver with the tip taped, remove the jet pump for AWD.

  5. Object Number: 2016973  Size: SH
  6. Remove the O-ring (2) from the jet pump (1) for AWD.

  7. Object Number: 2016677  Size: SH

    Note: Do not separate the tube (4) in the illustration.

  8. Remove the E-ring (2) and separate the 2 claws, then remove the fuel pump sub-tank.

  9. Object Number: 2016703  Size: SH
  10. Disconnect the fuel pump harness connector (1).

  11. Object Number: 2016679  Size: SH
  12. Using a screwdriver with its tip wrapped in protective tape, disengage the 2 claws and remove the fuel suction support.

  13. Object Number: 2016714  Size: SH

    Note: Do not remove the suction filter. Do not use either the fuel pump or the suction filter if the suction filter is removed from the fuel pump.

  14. Using a screwdriver with its tip wrapped in protective tape, disengage the 5 claws, and remove the suction filter and fuel pump from the fuel filter.

  15. Object Number: 2016683  Size: SH
  16. Disconnect the fuel pump connector (1).

  17. Object Number: 2016686  Size: SH
  18. Remove the O-ring (1) from the fuel pump.

Reassembly Procedure


    Object Number: 2016712  Size: SH
  1. Apply a light coat of gasoline or spindle oil to a new O-ring (1), then install it into the fuel pump.

  2. Object Number: 2016683  Size: SH
  3. Connect the fuel pump harness connector (1).
  4. Apply a light coat of gasoline or spindle oil to the O-ring of the fuel pump again.

  5. Object Number: 2016714  Size: SH

    Note: Make sure that the O-ring is not cracked or jammed when installing.

  6. Engage the 5 claws, and install the fuel pump filter onto the fuel pump with fuel filter.

  7. Object Number: 2016679  Size: SH
  8. Engage the 2 claws of the fuel suction support.

  9. Object Number: 2016703  Size: SH
  10. Connect the fuel pump harness connector (1).

  11. Object Number: 2016677  Size: SH
  12. Engage the 2 claws and install the E-ring (2) and the fuel pump sub-tank.

  13. Object Number: 2016973  Size: SH
  14. Apply gasoline to a new O-ring (1) and install it to the jet pump (1) for AWD.

  15. Object Number: 2017106  Size: SH
  16. Install the jet pump (1) to the tank for AWD.

  17. Object Number: 2017108  Size: SH
  18. Align the groove of the fuel pump filter hose with the cutout of the fuel sub-tank and install the hose for AWD.

Installation Procedure

  1. Install the fuel suction tube assembly for AWD.
  2. Install a new gasket (1) to the fuel suction tube assembly.

  3. Object Number: 2017030  Size: SH

    Note: Make sure that the fuel sender gage arm does not bend.

  4. Connect the fuel hose (1) with the clip.
  5. Set the fuel suction tube to the fuel tank.
  6. Install the fuel suction tube assembly.
  7. Connect the hose and set the fuel suction tube assembly to the fuel tank.

  8. Object Number: 2017023  Size: SH
  9. While holding the fuel suction tube by hand, install the fuel tank vent tube to the fuel tank with the 8 bolts (1-8) for AWD and tighten to 6.0 N·m (53 lb in).

  10. Object Number: 2017116  Size: SH
  11. Align the protrusion (1) of the fuel suction tube with the notch (2) of the fuel tank for AWD.

  12. Object Number: 2016723  Size: SH
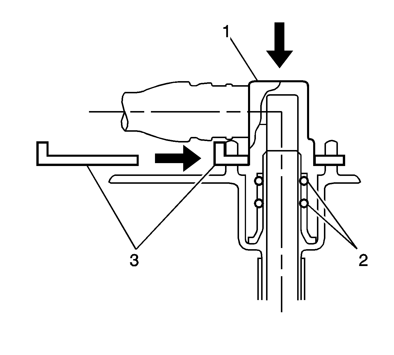
  13. While holding the fuel suction tube by hand, align the marks (1) of a new fuel pump gage retainer and fuel tank, then install the fuel pump gage retainer.

  14. Object Number: 1460720  Size: SH
  15. Using the CH-47717 remover tool  (1) and your hand, tighten the fuel pump gage retainer 2 revolutions so that the mark of the retainer comes within the range.

  16. Object Number: 2016729  Size: MH
  17. Install the fuel tank vent hose for FWD.
  18. Connect the fuel tank vent hose.
  19. Align the fuel tank vent connector with the pipe, then push in the fuel tank vent connector until the retainer makes a "click" sound to connect the fuel tank vent hose to the fuel suction plate.
  20. Install the fuel tank main tube sub-assembly.
  21. Connect the fuel tank main tube.

  22. Object Number: 2017117  Size: SH

    Note: Check that there are no scratches or foreign objects around the connecting surfaces of the fuel tube joint and plug before performing this work. Check that the fuel tube joint is securely inserted to the end. Check that the tube joint clip is on the collar of the fuel tube joint (1). After installing the tube joint clip, check that the fuel tank main tube cannot be pulled out.

  23. Push the fuel tube joint (1) in the plug of the fuel suction plate, then install the tube joint clip (3).
  24. Warning: Refer to Battery Disconnect Warning in the Preface section.

  25. Connect the cable to the negative battery terminal.
  26. Inspect for a fuel leak.

  27. Object Number: 2016999  Size: SH
  28. Install the rear floor service hole cover (1).
  29. Connect the fuel pump connector.

  30. Object Number: 2016526  Size: SH
  31. Connect the fuel pump connector (2).
  32. Install the rear seat cushion assembly. Refer to Rear Seat Cushion Replacement.