GM Service Manual Online
For 1990-2009 cars only

Removal Procedure

  1. Discharge the fuel system pressure.
  2. Drain coolant.
  3. Remove the windshield wiper motor and link assembly. Refer to Windshield Wiper Motor Replacement
  4. Remove the outer cowl top panel.
  5. Remove the engine cover. Refer to Engine Cover Replacement
  6. Remove the air cleaner cap with hose.
  7. Remove the throttle body assembly. Refer to Throttle Body Assembly Replacement
  8. Remove the fuel delivery pipe with fuel tube.

  9. Object Number: 2016561  Size: SH
  10. Remove the intake manifold. Refer to Intake Manifold Replacement
  11. Disconnect the ventilation hose (1).
  12. Disconnect the union to check valve hose.

  13. Object Number: 2016564  Size: SH
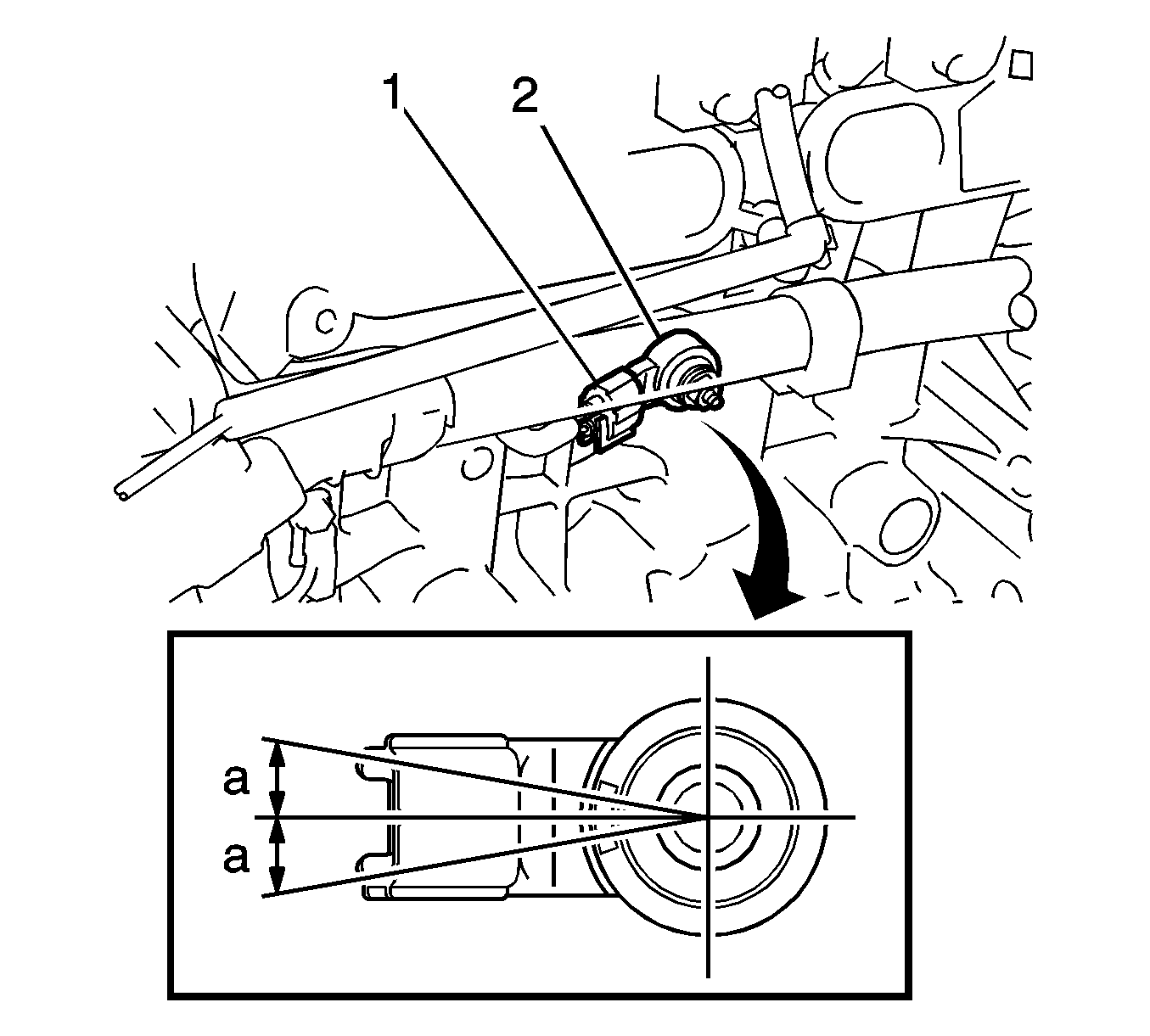
  14. Separate the wire harness clamp (1) from the intake manifold.

  15. Object Number: 2016567  Size: SH
  16. Disconnect the knock sensor connector (2).
  17. Remove the nut (1) and knock sensor.

Installation Procedure

    Caution: Refer to Fastener Caution in the Preface section.


    Object Number: 2016568  Size: SH
  1. Install the knock sensor (2) with the nut and tighten to 20 N·m (15 lb ft).
  2. Connect the sensor connector (1).
  3. Install the intake manifold. Refer to Intake Manifold Replacement.

  4. Object Number: 2016561  Size: SH
  5. Connect the ventilation hose (1).
  6. Install the fuel delivery pipe with fuel tube.
  7. Connect the fuel tube.
  8. Install the throttle body assembly. Refer to Throttle Body Assembly Replacement.
  9. Install the outer cowl top panel.
  10. Install the windshield wiper motor and link assembly. Refer to Windshield Wiper Motor Replacement
  11. Install the air cleaner cap with hose.
  12. Add engine coolant.
  13. Inspect for coolant leak.
  14. Inspect for fuel leak.
  15. Install the engine cover. Refer to Engine Cover Replacement.