GM Service Manual Online
For 1990-2009 cars only

Object Number: 2034347  Size: MF
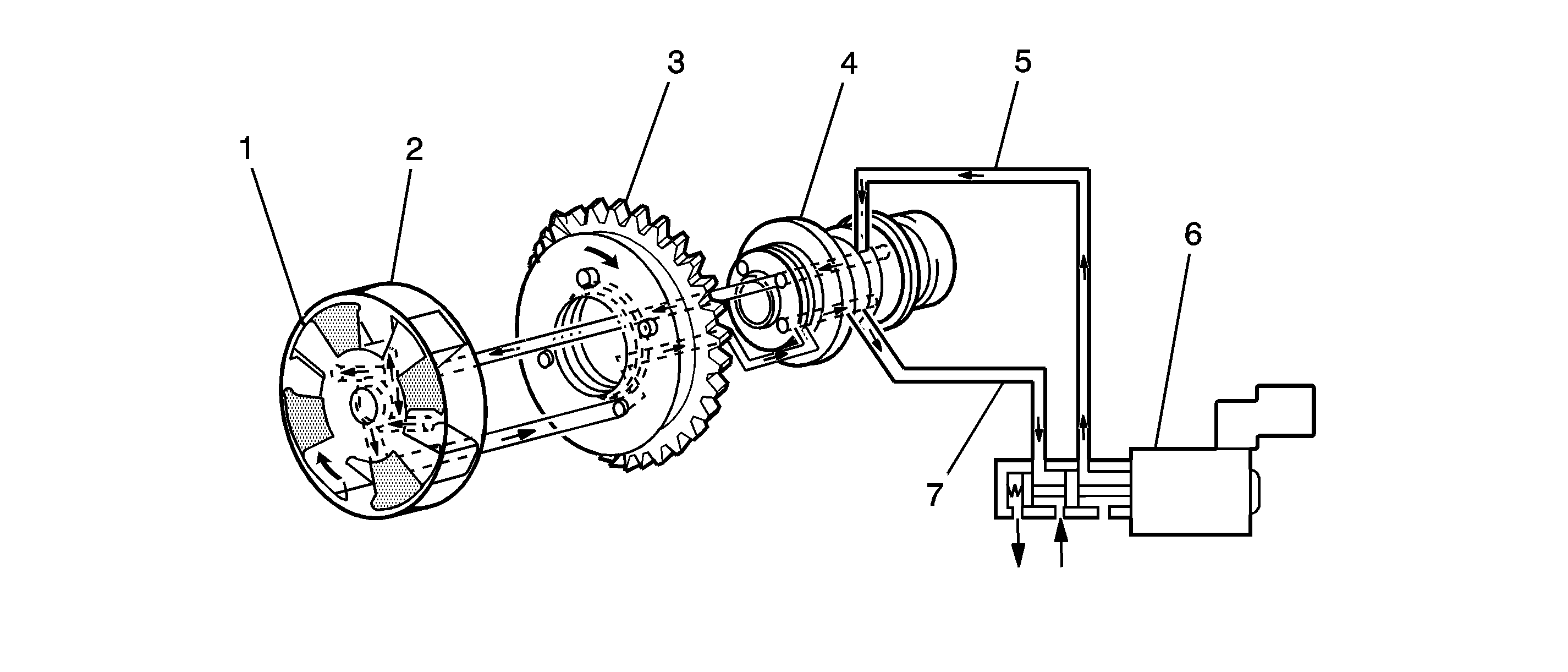
(1)Camshaft Position (CMP) Actuator Solenoid Valve - Exhaust
(2)Camshaft Position (CMP) Actuator Solenoid Valve - Intake
(3)Exhaust Camshaft Position (CMP) Sensor
(4)Intake Camshaft Position (CMP) Sensor
(5)Crankshaft Position (CKP) Sensor
(6)CMP Actuator Assembly - Intake
(7) CMP Actuator Assembly - Exhaust

The camshaft position (CMP) actuator system enables the powertrain control module (PCM) to change camshaft timing while the engine is running. The CMP actuators (6 and 7) vary camshaft position in response to directional changes in oil pressure. The CMP actuator solenoid valve controls the oil pressure that is applied to advance or retard the camshaft. Modifying camshaft timing under changing engine demand provides better balance between the following performance concerns:

    • Engine power output
    • Fuel economy
    • Lower tailpipe emissions

The CMP actuator solenoid valves (1 and 2) are controlled by the PCM. The crankshaft position (CKP) sensor (5) and the CMP sensors (3 and 4) are used to monitor changes in camshaft position. The PCM uses information from the following sensors in order to calculate the desired camshaft position:

    • The engine coolant temperature (ECT) sensor
    • The mass air flow (MAF) sensor
    • The throttle position (TP) sensors
    • The vehicle speed sensor (VSS)

Camshaft Position (CMP) Actuator Assembly


Object Number: 654182  Size: SH
(1)Lock Pin
(2)Vane Wheel
(3)Intake Camshaft
(4)CMP Actuator Housing

The CMP actuator assembly has an outer housing (4) that is driven by the engine timing chain. Inside the assembly is a wheel (2) with fixed vanes that is attached to the intake camshaft (3). The CMP actuator assembly also contains a lock pin (1) that prevents movement between the outer housing and the wheel vane assembly. The lock pin is released by oil pressure before any movement in the CMP actuator assembly takes place.

Intake Camshaft Position (CMP) Actuator Solenoid Valve


Object Number: 607615  Size: SH
(1)Spool Valve
(2)Solenoid Plunger
(3)Solenoid Coil
(4)Oil Return During Retard
(5)Oil Supply
(6)Oil Return During Advance
(7)Oil Supply to Camshaft Position Actuator for Advance
(8)Oil Supply to Camshaft Position Actuator for Retard

The intake CMP actuator solenoid valve directs the oil flow that controls the camshaft phase movement. The PCM commands the intake camshaft CMP solenoid to move the solenoid plunger (2) and spool valve (1) until oil flows from the advance passage (7) or the retard passage (8). In most operating conditions the opposite oil return passage is open at the same time as the oil supply passage.

Exhaust Camshaft Position (CMP) Actuator Solenoid Valve


Object Number: 607615  Size: SH
(1)Spool Valve
(2)Solenoid Plunger
(3)Solenoid Coil
(4)Oil Return During Retard
(5)Oil Supply
(6)Oil Return During Advance
(7)Oil Supply to Camshaft Position Actuator for Retard
(8)Oil Supply to Camshaft Position Actuator for Advance

The exhaust CMP actuator solenoid valve operates the same as the intake CMP actuator solenoid valve. One significant difference is that the oil flow that advances the exhaust camshaft is supplied from passage (8) and the oil flow to retard the camshaft is from passage (7). As with intake CMP solenoid, in most operating conditions the opposite oil return passage is open at the same time as the oil supply passage.

Operation

The PCM operates the CMP actuator solenoid valve by pulse width modulation (PWM) of the solenoid coil. The higher the PWM duty cycle, the larger the change in camshaft timing. Oil pressure that is applied to the advance side of the fixed vanes will rotate the camshaft in a clockwise direction. The clockwise movement of the camshaft will advance the timing. When oil pressure is applied to the return side of the vanes, the camshaft will rotate counterclockwise until returning to 0 degrees.

Intake Camshaft

CMP Actuator System Advance


Object Number: 858565  Size: SF
(1)Vane Wheel
(2)CMP Actuator Housing, part of CMP actuator assembly
(3)Intake Camshaft Gear, part of CMP actuator assembly
(4)Intake Camshaft
(5)Advance Side Oil Passage, applying pressure
(6)CMP Actuator Solenoid Valve
(7)Retard Side Oil Passage, relieving pressure

Oil flowing to the CMP actuator housing (2) from the CMP solenoid advance passage (5) applies pressure to the advance side of the vane wheel (1) in the CMP actuator assembly. At the same time the CMP solenoid retard passage (7) is open, allowing oil pressure to decrease on the retard side of the vane wheel. These two simultaneous actions cause the vane wheel (1) to rotate clockwise, advancing the intake camshaft up to a maximum of 40 degrees.

CMP Actuator System Retard


Object Number: 858573  Size: SF
(1)Vane Wheel
(2)CMP Actuator Housing, part of CMP actuator assembly
(3)Intake Camshaft Gear, part of CMP actuator assembly
(4)Intake Camshaft
(5)Advance Side Oil Passage, relieving pressure
(6)CMP Actuator Solenoid Valve
(7)Retard Side Oil Passage, applying pressure

When the oil flowing to the CMP actuator housing (2) is from the CMP solenoid retard passage (7), oil pressure is applied to the retard side of the vane wheel (1). Because the solenoid advance passage (5) is open, allowing oil pressure to decrease on the advance side of the vane wheel (1), the intake camshaft position retards.

Exhaust Camshaft

CMP Actuator System Advance


Object Number: 2037862  Size: SF
(1)Vane Wheel
(2)CMP Actuator Housing, part of CMP actuator assembly
(3)Exhaust Camshaft Gear, part of CMP actuator assembly
(4)Ehaust Camshaft
(5)Advance Side Oil Passage, applying pressure
(6)CMP Actuator Solenoid Valve
(7)Retard Side Oil Passage, relieving pressure

Oil flowing to the CMP actuator housing (2) from the CMP solenoid advance passage (5) applies pressure to the advance side of the vane wheel (1) in the CMP actuator assembly. At the same time the CMP solenoid retard passage (7) is open, allowing oil pressure to decrease on the retard side of the vane wheel. These two simultaneous actions cause the vane wheel (1) to rotate clockwise, advancing the exhaust camshaft up to a maximum of 55 degrees.

CMP Actuator System Retard


Object Number: 2037864  Size: SF
(1)Vane Wheel
(2)CMP Actuator Housing, part of CMP actuator assembly
(3)Exhaust Camshaft Gear, part of CMP actuator assembly
(4)Exhaust Camshaft
(5)Advance Side Oil Passage, relieving pressure
(6)CMP Actuator Solenoid Valve
(7)Retard Side Oil Passage, applying pressure

When the oil flowing to the CMP actuator housing (2) is from the CMP solenoid retard passage (7), oil pressure is applied to the retard side of the vane wheel (1). Because the solenoid advance passage (5) is open, allowing oil pressure to decrease on the advance side of the vane wheel (1), the exhaust camshaft position retards.

The PCM can also command the CMP actuator solenoid valves to stop oil flow from both passages in order to hold the current camshaft position. The PCM is continuously comparing CMP sensor input with CKP sensor input in order to monitor camshaft position and detect any system malfunctions. The following table provides camshaft phase commands for common driving conditions:

CMP Actuator System Operation

Driving Condition

Change in Camshaft Position

Objective

Result

Engine Warm-up

No Change, Zero Advance

Minimize Valve Overlap

Stabilize Fast Idle Speeds and Improved Fuel Economy

Light Engine Load

Retard Valve Timing

Decrease Valve Overlap

Stable Engine Output

Medium Engine Load

Advance Intake and Exhaust Valve Timing

Increase Valve Overlap

Better Fuel Economy and Increased Internal EGR Effect for Lower Emissions

Low to Medium RPM with Heavy Load

Advance Intake and Exhaust Valve Timing

Advance Intake Valve Closing

Improved Low to Mid-range Torque

High RPM with Heavy Load

Retard Valve Timing

Retard Intake Valve Closing

Improve Engine Output

Idle

No Change, Zero Advance

Minimize Valve Overlap

Stabilize Idle Speed