GM Service Manual Online
For 1990-2009 cars only

Special Tools

J 45400 Strut Spring Compressor

Removal Procedure

  1. Remove the strut assembly. Refer to Strut Assembly Replacement.

  2. Object Number: 821343  Size: SH
  3. Use the compressor J 45400 , or equivalent, in order to compress the spring (8).
  4. Remove the strut mount cover (2).
  5. Remove the strut mount nut (3).
  6. Remove the strut mount (4).
  7. Remove the seal (5).
  8. Remove the spring seat (6).
  9. Remove the strut shield (7).
  10. Remove the spring (8).
  11. Remove the strut bumper (1).
  12. Remove the spring lower insulator (10).
  13. Remove the absorber portion of the strut (9).

Installation Procedure


    Object Number: 2011384  Size: SH
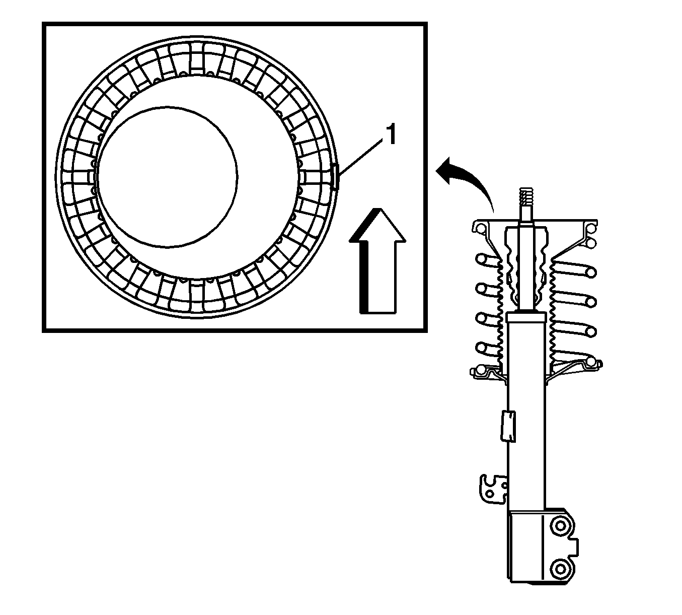
  1. Install the spring lower insulator to the strut. Ensure the insulator fits properly in the depression of the lower spring seat (1).

  2. Object Number: 821343  Size: SH
  3. Install the strut bumper (1).
  4. Use the compressor J 45400 , or equivalent, in order to compress the spring (8).

  5. Object Number: 827902  Size: SH
  6. Install the spring. Position the lower tip of the coil on the gap in the lower insulator (3).

  7. Object Number: 2011387  Size: SH
  8. Install the strut shield. Position the protrusion (1) on the strut shield toward the outer side of the vehicle.

  9. Object Number: 827905  Size: SH
  10. Install the spring seat (1). Position the cutout on the spring seat toward the outer side of the vehicle. Align the cutout on the spring seat with the protrusion (2) on the strut shield.
  11. Align the slot on the piston rod (3) with the spring seat.
  12. Install the seal.
  13. Install the strut mount.
  14. Note: Do not tighten the strut mount nut yet.

  15. Install, but do not tighten, the strut mount nut.
  16. Remove the strut from the compressor J 45400 , or equivalent.
  17. Install the strut assembly to the vehicle. Refer to Strut Assembly Replacement.
  18. Caution: Refer to Fastener Caution in the Preface section.


    Object Number: 2011382  Size: SH
  19. Tighten the strut mount nut (2).
  20. Tighten
    Tighten the nut to 47 N·m (35 lb ft).


    Object Number: 827925  Size: SH
  21. Apply Special Lubricant, GM P/N 12345879 (Canadian P/N 10953511), or the equivalent multi-purpose lubricant, to the crevice around the nut. Ensure the lubricant does not contact the rubber part of the upper strut mount.
  22. Install the strut mount cover (1).