GM Service Manual Online
For 1990-2009 cars only

Removal Procedure


    Object Number: 2026189  Size: SH
  1. Place matchmarks (1) on both the flanges.
  2. Remove the nuts, bolts and washers.

  3. Object Number: 2026190  Size: SH
  4. Place matchmarks (2) on the rear flange and rear propeller shaft.
  5. Using a hexagon wrench (6 mm), remove the bolts and washers and remove the intermediate shaft from the rear propeller shaft.
  6. Using a hammer and a chisel, loosen the staked part of the nut.
  7. Hold the universal joint flange and remove the nut and washer.

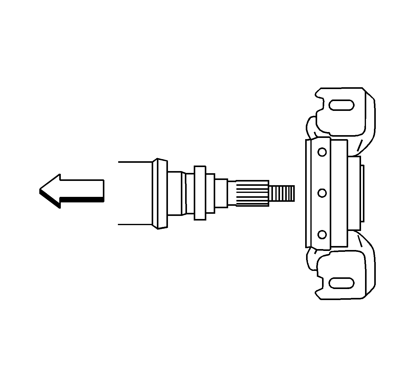
  8. Object Number: 2026193  Size: SH
  9. Place matchmarks (1) on the universal joint flange and intermediate shaft.

  10. Object Number: 2026197  Size: MH
  11. Hold the intermediate shaft in a vise using aluminum plates, using a suitable puller (1), remove the universal joint flange.
  12. Remove the No. 1 center support bearing assembly and washer.
  13. Using a hammer and a chisel, loosen the staked part of the nut.

  14. Object Number: 2026206  Size: SH
  15. Hold the universal joint flange with a suitable tool (1) then remove the nut and washer.

  16. Object Number: 2026222  Size: SH
  17. Place matchmarks (1) on the universal joint flange and intermediate shaft.

  18. Object Number: 2026253  Size: MH
  19. Hold the intermediate shaft in a vise using aluminum plates, using a suitable puller (1), remove the universal joint flange.
  20. Remove the No. 1 center support bearing assembly and washer.

  21. Object Number: 2026259  Size: MH
  22. Check the universal joint axial play by turning the flange while holding the shaft tightly.
  23. If damaged or worn, replace the propeller shaft with the center bearing shaft as an assembly.


    Object Number: 2026275  Size: SH

    Note: The dial indicator must be set at a right angle to the center of the intermediate shaft.

  24. Using a dial indicator, inspect the intermediate shaft sub-assembly.
  25. Specification
    Maximum runout - 0.4  mm (0.016 in)

  26. If the shaft runout is greater than the maximum, replace the propeller shaft with the center bearing shaft as an assembly.

  27. Object Number: 2026279  Size: SH
  28. Using a dial indicator, inspect the front side of the universal joint flange runout in the vertical direction.
  29. Specification
    Maximum runout - 0.1 mm (0.004 in)


    Object Number: 2026281  Size: SH
  30. Using a dial indicator, inspect the rear side of the universal joint flange runout in the vertical direction.
  31. Specification
    Maximum runout - 0.1 mm (0.004 in)


    Object Number: 2026286  Size: SH
  32. Using a dial indicator, inspect the rear side of the universal joint flange runout in the horizontal direction.
  33. Specification
    Maximum runout - 0.1 mm (0.004 in)


    Object Number: 2026288  Size: SH

    Note: The dial indicator must be set at a right angle to the center of the propeller shaft.

  34. Using a dial indicator, inspect the propeller shaft assembly.
  35. Specification
    Maximum runout - 0.4 mm (0.016 in)

  36. If the shaft runout is greater than the maximum, replace the propeller with the center bearing shaft assembly.

  37. Object Number: 2026299  Size: SH

    Note: The dial indicator must be set at a right angle to the center of the rear propeller shaft.

  38. Using a dial indicator, inspect the rear propeller shaft sub-assembly.
  39. Specification
    Maximum runout - 0.4 mm (0.016 in)

  40. If the shaft runout is greater than the maximum, replace the propeller shaft with center bearing shaft as an assembly.

  41. Object Number: 2026303  Size: SH
  42. Turn the No. 1 center support bearing assembly by hand while applying force in the rotation direction. Check that the bearing turns smoothly.
  43. Check that the seals and bracket are not cracked or damaged.
  44. If the No. 1 center support bearing assembly is damaged, worn, or does not turn freely, replace it.

Installation Procedure


    Object Number: 2026306  Size: SH

    Note: Make sure to install the bearing in the correct position.

  1. Set the No. 1 center support bearing on the intermediate shaft.
  2. Install the new washer to the intermediate shaft.

  3. Object Number: 2026193  Size: SH
  4. Align the matchmarks (1) on the universal joint flange and intermediate shaft and place the flange on the shaft.
  5. Caution: Refer to Fastener Caution in the Preface section.


    Object Number: 2026327  Size: SH
  6. Hold the universal joint flange using a suitable tool (1), then press the No. 1 center support bearing assembly into position by tightening down a new nut and washer. Tighten the nut to 182 N·m (134 lb ft).
  7. Loosen the nut.
  8. Tighten the nut again to 69 N·m (51 lb ft).
  9. Using a chisel and a hammer, stake the nut.

  10. Object Number: 2026330  Size: SH

    Note: Make sure to install the bearing in the correct position.

  11. Set the No. 1 center support bearing on the intermediate shaft.
  12. Install the new washer to the intermediate shaft.

  13. Object Number: 2026222  Size: SH
  14. Align the matchmarks (1) on the universal joint flange and intermediate shaft and place the flange on the shaft.

  15. Object Number: 2026332  Size: SH
  16. Hold the universal joint flange using a suitable tool (1), then press the No. 1 center support bearing assembly into position by tightening down a new nut and washer. Tighten the nut to 182 N·m (134 lb ft).
  17. Loosen the nut.
  18. Tighten the nut again to 69 N·m (51 lb ft).
  19. Using a chisel and a hammer, stake the nut.

  20. Object Number: 2026190  Size: SH
  21. Align the matchmarks (2) on the intermediate shaft and rear propeller shaft, and install the washers and bolts.
  22. Using a hexagon wrench (6 mm), tighten the bolts with washers temporarily.
  23. Align the matchmarks (1) on the propeller shaft assembly and the universal joint flange.

  24. Object Number: 2026189  Size: SH

    Note: 

       • Install the washers between the bolts and the propeller shaft.
       • Do not allow grease to adhere to the bolts, washers, or nuts.

  25. Install the propeller shaft assembly to the front flange with the bolts, washers and nuts. Tighten the bolts and nuts to 74 N·m (55 lb ft).

  26. Object Number: 2026339  Size: SH
  27. Check that each joint (1, 2, 3) of the propeller with the center bearing shaft assembly is facing the direction shown in the illustration.