GM Service Manual Online
For 1990-2009 cars only

Special Tools

    • J-22912-01 Bearing Remover
    • J-23907 Slide Hammer
    • J-35405 Differential Preload Wrench
    • J-46002 Drive Pinion Lock Nut Wrench
    • J-46004 Rear Axle Drive Pinion Holding Tool

    Object Number: 2012216  Size: SH
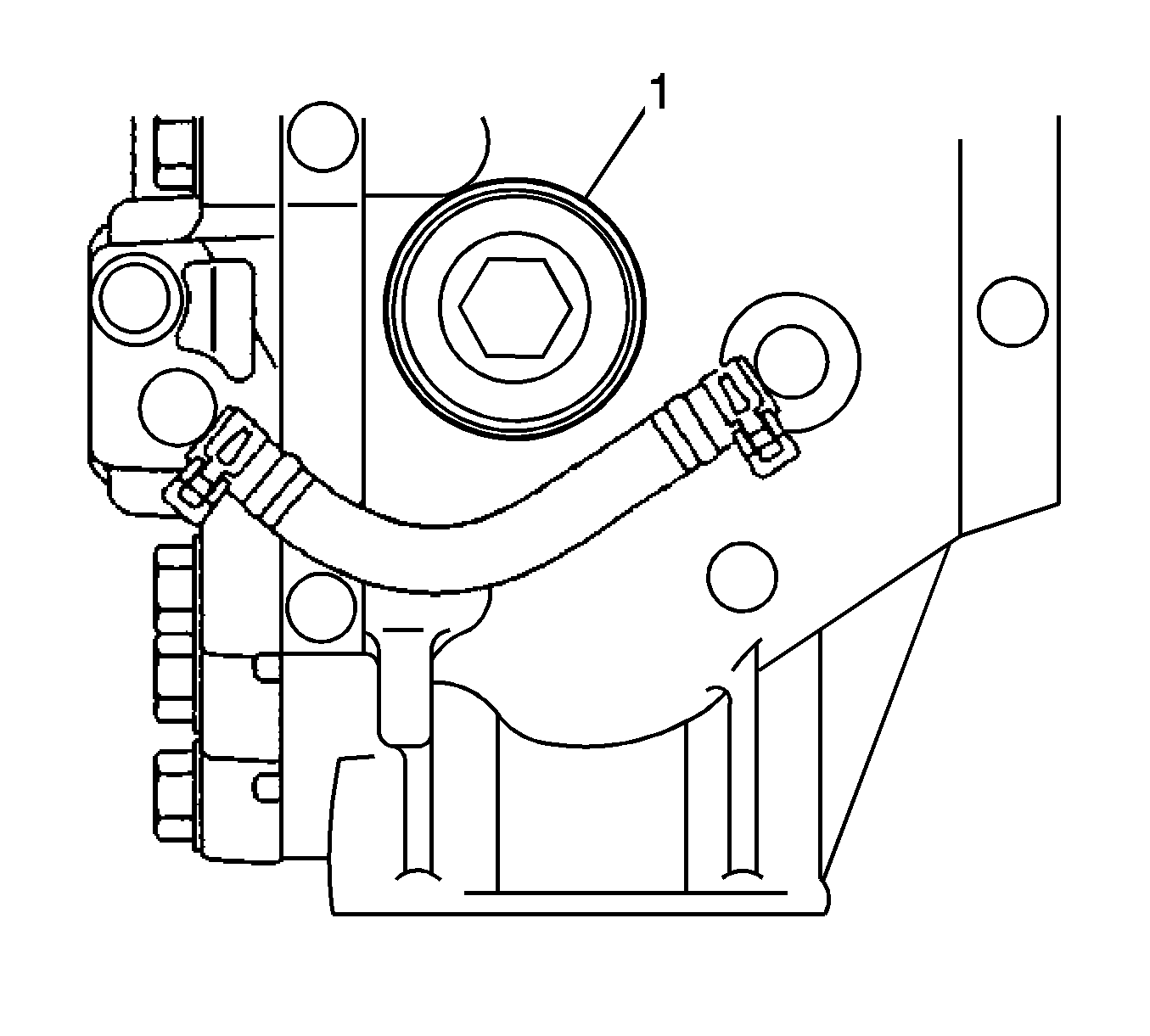
  1. Using a hexagon wrench (17 mm), remove the rear differential filler plug (1) (inspection plug) and gasket.
  2. Remove the stud bolts.

  3. Object Number: 2013092  Size: SH
  4. Install a dial indicator perpendicular to the inner side of the electromagnetic control coupling subassembly.
  5. Rotate the electromagnetic control coupling sub-assembly forward and backward and measure the vertical runout.
  6. Specification
    Maximum runout - 0.04 mm (0.00157 in)

  7. If the runout is greater than the maximum value, replace the electromagnetic control coupling sub-assembly.

  8. Object Number: 2012222  Size: SH
  9. Install a dial indicator (1) perpendicular to the electromagnetic control coupling sub-assembly.
  10. Rotate the electromagnetic control coupling sub-assembly forward and backward and measure the lateral runout.
  11. Specification
    Maximum runout - 0.06 mm (0.00236 in)

  12. If the runout is greater than the maximum value, replace the electromagnetic control coupling sub-assembly.

  13. Object Number: 2012227  Size: SH
  14. Remove the bolts (1, 2, 3, 4) and, using a plastic-faced hammer, lightly tap the electromagnetic control coupling sub-assembly to remove it from the rear differential carrier.

  15. Object Number: 2011550  Size: SH
  16. Remove the transmission coupling conical spring washer (1) from the differential carrier.

  17. Object Number: 2011554  Size: SH
  18. Remove the transmission coupling conical spring washer (1) from the differential carrier.

  19. Object Number: 2012228  Size: SH
  20. Using a screwdriver, remove the rear differential dust deflector.
  21. Insert a dial indicator (1) through the rear differential carrier cover plug hole, and set it perpendicular to a ring gear tooth tip.

  22. Object Number: 2012232  Size: MH
  23. Using J-46004 Rear Axle Drive Pinion Holding Tool  (2), hold the drive pinion in place.
  24. Note: Measure at 3 or more areas around the circumference of the ring gear.

  25. Using J-35405 Differential Preload Wrench , rotate the rear differential case forward and backward, and measure the backlash.
  26. Specification
    Backlash - 0.10-0.15 mm (0.0039-0.0059 in)

  27. If the backlash is not within the specification, adjust the side bearing preload or repair as necessary.

  28. Object Number: 2012233  Size: SH

    Note: For a more accurate measurement, rotate the case bearing forward and backward before measuring.

  29. Using J-46004 Holding Tool  (1) and a torque wrench, inspect the preload (starting torque) within the differential drive pinion and differential ring gear backlash area.
  30. Specification
    Standard drive pinion preload - 0.4-0.7 N·m (3.0-6.0 lb in)

  31. If the preload is not within the specified range, adjust the total preload or repair as necessary.
  32. Note: For a more accurate measurement, rotate the case bearing forward and backward before measuring.

  33. Using J-46004 Holding Tool and a torque wrench, inspect the preload (starting torque) with the teeth of the differential drive pinion and differential ring gear in contact.
  34. Specification
    Standard total preload - Standard drive pinion preload plus 0.29-0.49 N·m (2.6-4.3 lb in)

  35. If the preload is not within the specified range, adjust the total preload or repair as necessary.

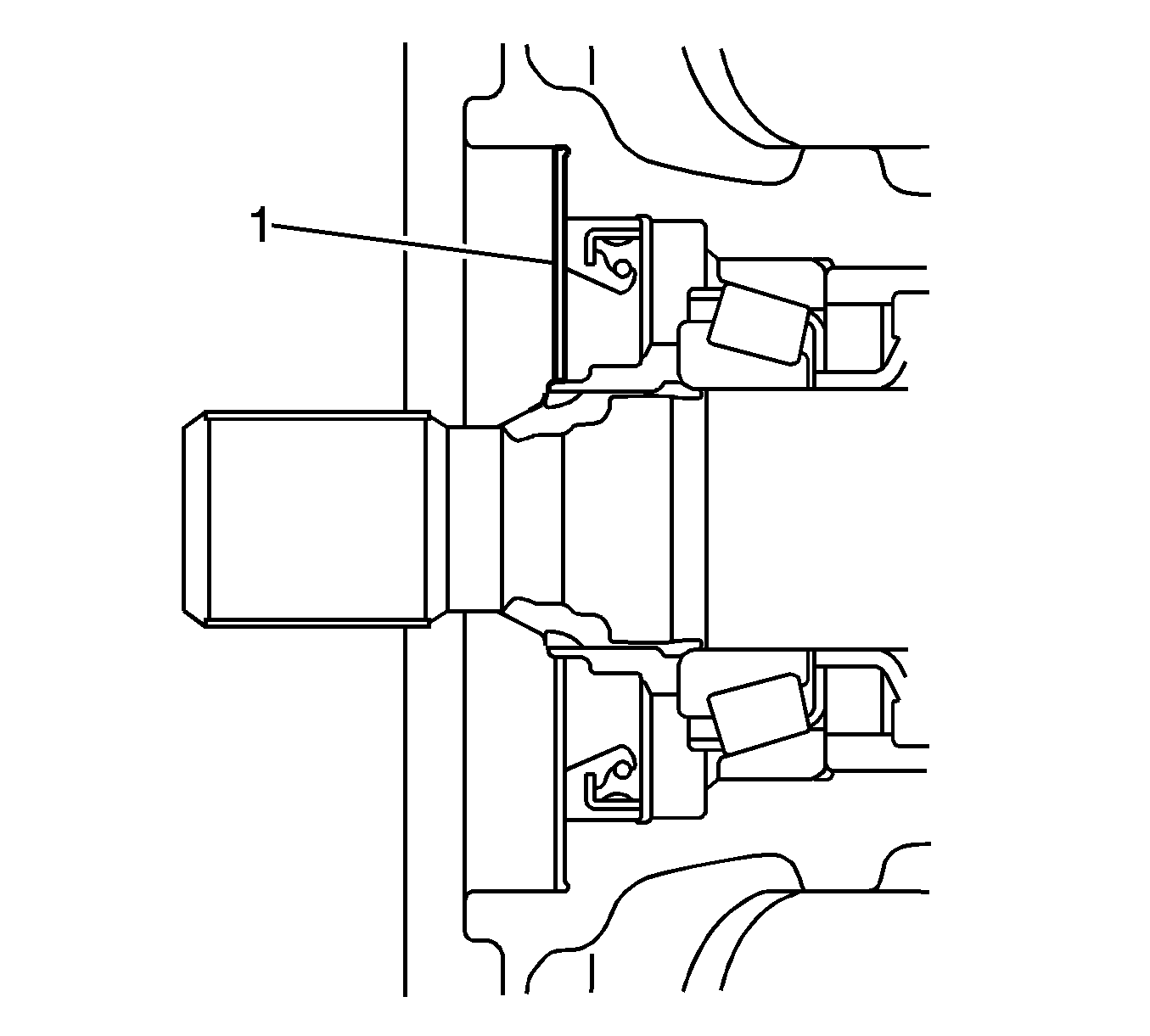
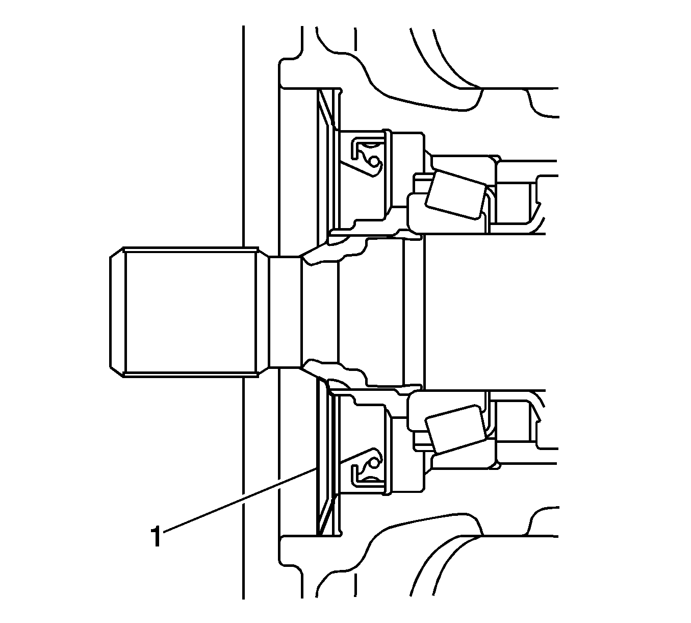
  36. Object Number: 2012234  Size: SH
  37. Using J-23907 Slide Hammer  (1), remove the rear differential side gear shaft oil seals from the rear differential carrier.

  38. Object Number: 2012236  Size: SH
  39. Unstake the rear drive pinion nut using a suitable tool (1).

  40. Object Number: 2012239  Size: SH
  41. Using J-46004 Holding Tool  (1) and J-46002 Drive Pinion Lock Nut Wrench  (2), hold the differential drive pinion in place and remove the rear drive pinion nut from the differential drive pinion.

  42. Object Number: 2012245  Size: SH
  43. Using a suitable puller (1), remove the oil diaphragm seal from the rear differential carrier.

  44. Object Number: 2012244  Size: SH
  45. Remove the rear drive pinion front tapered roller bearing (inner race) from the drive pinion using a suitable tool (1).

  46. Object Number: 2012246  Size: SH
  47. Remove the differential pressure control hose clips and rear differential pressure control hose.

  48. Object Number: 2012248  Size: SH
  49. Put matchmarks (1, 2) on the differential pressure control hose elbows and rear differential carrier.
  50. Using a screwdriver, remove the differential pressure control hose elbows.

  51. Object Number: 2012252  Size: SH
  52. Remove the bolts (1-10) from the differential carrier.

  53. Object Number: 2012254  Size: SH

    Note: Set the brass bar on the ribbed part of the differential side bearing retainer.

  54. Using a brass bar and hammer, lightly tap out the differential side bearing retainer from the differential carrier.

  55. Object Number: 2012256  Size: SH
  56. Using a screwdriver, remove the rear differential carrier cover breather plug from the side bearing retainer.

  57. Object Number: 2012258  Size: SH
  58. Remove the bolts (1, 2) and rear differential breather plug oil deflector.

  59. Object Number: 2012260  Size: SH
  60. Remove the rear differential case from the rear differential carrier.

  61. Object Number: 2012261  Size: SH
  62. Remove the differential drive pinion from the rear differential carrier.

  63. Object Number: 2012262  Size: SH
  64. Remove the rear differential drive pinion oil slinger from the differential drive pinion.

  65. Object Number: 2012263  Size: SH
  66. Remove the rear differential drive pinion bearing spacer from the differential drive pinion.

  67. Object Number: 2012265  Size: SH

    Note: If the rear differential drive pinion or differential ring gear is damaged, replace them both.

  68. Using a press and J-22912-01 Bearing Remover  (1), press out the rear drive pinion rear tapered roller bearing (inner race) from the differential drive pinion.
  69. Remove the rear differential drive pinion plate washer.

  70. Object Number: 2012267  Size: SH
  71. Using a suitable puller (1), remove the rear drive pinion front tapered roller bearing (outer race) from the rear differential carrier.

  72. Object Number: 2012269  Size: SH

    Note: Set the brass bar on the notch (1, 2).

  73. Using a brass bar and hammer, lightly and uniformly tap out the rear drive pinion rear tapered roller bearing (outer race) from the differential carrier.

  74. Object Number: 2012273  Size: SH
  75. Using a press (1), press out the rear differential case bearing right side (outer race) and rear differential side gear shaft plate washer from the rear differential carrier.

  76. Object Number: 2012274  Size: SH
  77. Using a press (1), press out the rear differential case bearing left side (outer race) and rear differential side gear shaft plate washer from the differential side bearing retainer.
  78. Remove the straight pins from the differential carrier.

  79. Object Number: 2012277  Size: SH
  80. Using a suitable puller (1), remove the rear differential case bearing right side (inner race) from the rear differential case.

  81. Object Number: 2025626  Size: SH
  82. Using a suitable puller (1), remove the rear differential case bearing left side (inner race) from the rear differential case.

  83. Object Number: 2012278  Size: SH
  84. Place matchmarks (9) on the rear differential case and differential ring gear.
  85. Remove the ring gear bolts (1-11).
  86. Using a plastic-faced hammer, lightly tap the outer circumference of the differential ring gear to remove it from the rear differential case.

  87. Object Number: 2012280  Size: SH
  88. Using a pin punch and a hammer, remove the rear differential pinion shaft pin.
  89. Remove the rear differential pinion shaft, differential pinion gears, rear differential pinion thrust washers, differential side gears and rear No. 1 differential side gear thrust washers.

  90. Object Number: 2012283  Size: SH
  91. Remove the following components from the rear differential case.
  92. 46.1. Differential pinion gear (2)
    46.2. Rear differential pinion thrust washer (1)
    46.3. Rear differential pinion shaft (3)
    46.4. Differential side gear (4)
    46.5. Rear No. 1 differential side gear thrust washer (5)
  93. Check the differential pinion gears and differential side gears for wear.
  94. Check the differential case for a crack or damage.