GM Service Manual Online
For 1990-2009 cars only
  1. Disconnect the negative battery cable.

  2. Object Number: 2009639  Size: SH
  3. Disconnect the stop lamp switch electrical connector.
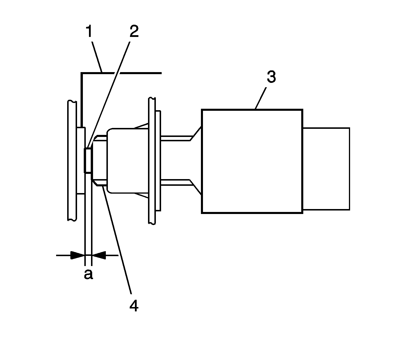
  4. Verify the distance between the end of the stop lamp switch plunger (2) and the end of the cushion (1) and the portion (4) of the stop lamp (3) switch is within 1.5-2.5 mm (0.059-0.098 in).If the stop lamp switch needs adjustment, turn stop lamp switch counter clockwise or clockwise in order to get proper adjustment.
  5. Connect the stop lamp switch electrical connector.
  6. Connect the negative battery cable.