GM Service Manual Online
For 1990-2009 cars only

Front Disc Brake Hardware Replacement 2.4L Engine

Removal Procedure

  1. Remove the following components. Refer to Front Disc Brake Pads Replacement.
  2. • The caliper bolts
    • The brake pads
    • The pad wear indicators
    • The insulators

    Object Number: 2014056  Size: SH
  3. Place match marks on the 4 brake pad retainers (5, 6, 7, 8) in order to identify the correct position and orientation.
  4. Remove the 4 brake pad retainers.
  5. Remove the 2 slide pins (2, 12).
  6. Remove the 2 slide pin boots (3, 10).
  7. Discard the slide pin boots.


    Object Number: 2014082  Size: SH
  8. Wrap tape (2) over a flat blade screwdriver.
  9. Remove the bushing (3) from the slide pin.
  10. Discard the bushing.

Inspection Procedure


    Object Number: 2014070  Size: SH

    Note: DO NOT use abrasives in order to clean brake components.

  1. Clean the pad wear indicators (2) and the insulators (3) in denatured alcohol or an equivalent brake parts cleaner.

  2. Object Number: 2014056  Size: SH
  3. Clean the 4 brake pad retainers (5, 6, 7, 8). Inspect the retainers for the following conditions:
  4. • Sufficient rebound
    • No deformation
    • No cracks
    • No wear
    • No rust
    • No dirt
      If the retainers meet the above conditions, re-use the retainers.
  5. Clean the following components in denatured alcohol or an equivalent brake parts cleaner:
  6. • The bolts (13)
    • The slide pins (2, 12)
    • The caliper housing (1)
  7. Use unlubricated, compressed air in order to dry the components.
  8. Inspect the caliper bracket (4) for corrosion and wear. Replace the bracket if the bracket is damaged. Refer to Front Brake Caliper Bracket Replacement.
  9. Inspect the caliper housing for corrosion and wear. Replace the caliper if the caliper housing is damaged. Refer to Front Brake Caliper Replacement.

Installation Procedure


    Object Number: 2014098  Size: SH
  1. Lubricate 2 NEW slide pin boots (1, 2) with lithium soap base glycol grease or Silicone Brake Lubricant, or equivalent. Refer to Adhesives, Fluids, Lubricants, and Sealers.
  2. Install the slide pin boots to the caliper bracket.

  3. Object Number: 2029658  Size: SH
  4. Lubricate the lower slide pin (1) and the slide pin bushing (2) with lithium soap base glycol grease or Silicone Brake Lubricant, or equivalent. Refer to Adhesives, Fluids, Lubricants, and Sealers.
  5. Install the bushing to the lower slide pin.

  6. Object Number: 2014080  Size: SH
  7. Install the lower slide pin (2) to the caliper bracket.
  8. Lubricate the upper slide pin with lithium soap base glycol grease or Silicone Brake Lubricant, or equivalent. Refer to Adhesives, Fluids, Lubricants, and Sealers.
  9. Install the upper slide pin to the caliper bracket.

  10. Object Number: 2014077  Size: SH

    Note: Ensure each brake pad retainer is in the correct position and direction.

  11. Align the match marks and install the upper inside brake pad retainer (1) to the caliper bracket.
  12. Align the match marks and install the upper outside brake pad retainer (2).
  13. Align the match marks and install the lower outside brake pad retainer (3).
  14. Align the match marks and install the lower inside brake pad retainer (4).

  15. Object Number: 2014106  Size: SH
  16. Apply disc brake grease to both sides of the 2 outer insulators (1).
  17. Ensure the disc brake grease covers the area where the outer insulators contact the inner insulators.
  18. Install the 2 inner insulators (2) to the 2 brake pads.
  19. Install the 2 outer insulators to the 2 inner insulators.
  20. Install the brake pads and the insulators to the vehicle. Refer to Front Disc Brake Pads Replacement.

Front Disc Brake Hardware Replacement 1.8L Engine

Removal Procedure

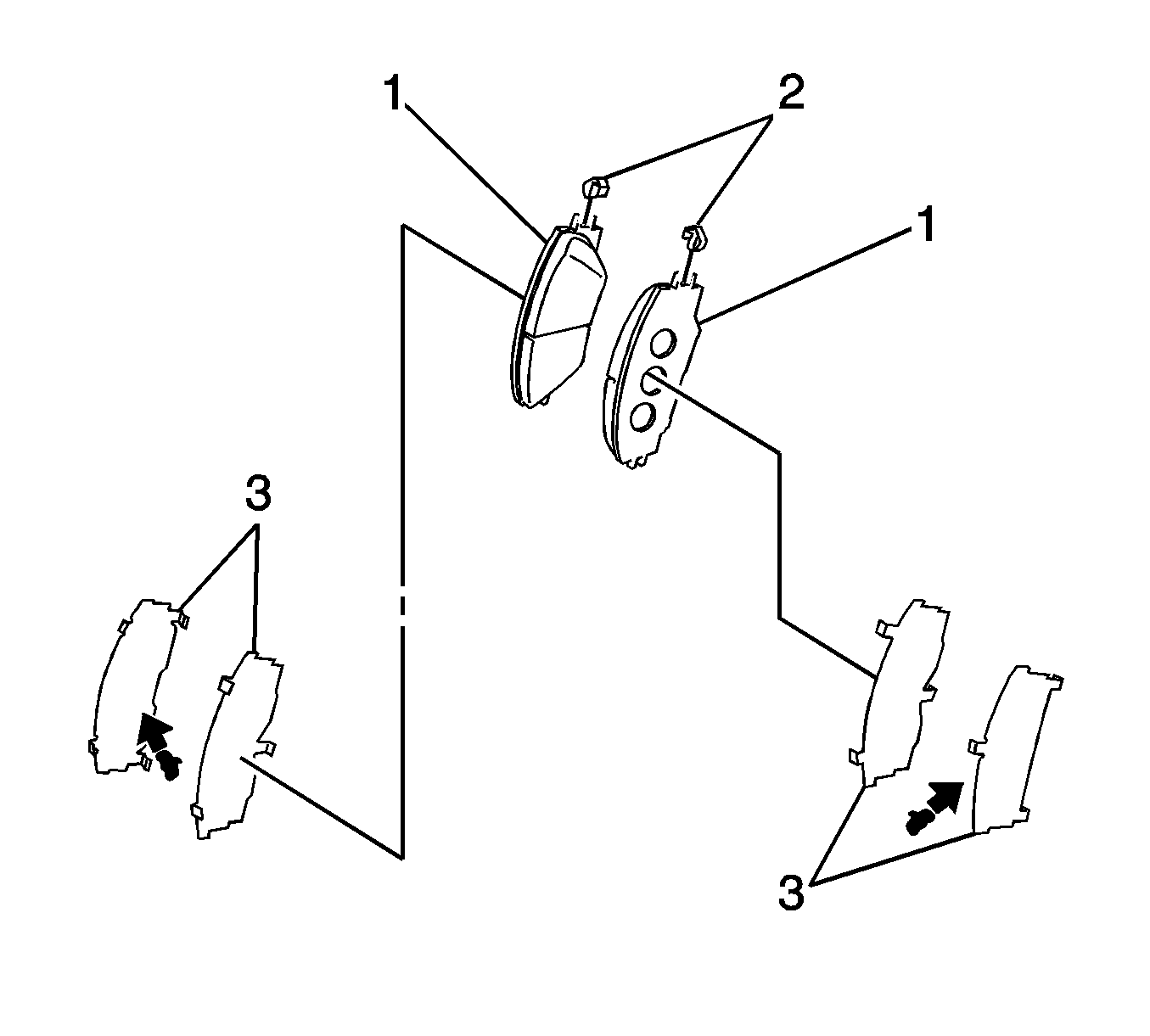
  1. Remove the following components. Refer to Front Disc Brake Pads Replacement.
  2. • The caliper bolts
    • The brake pads
    • The insulators

    Object Number: 2014053  Size: SH
  3. Place match marks on the 4 brake pad retainers (6, 7, 8, 9) in order to identify the correct position and orientation.
  4. Remove the 4 brake pad retainers.
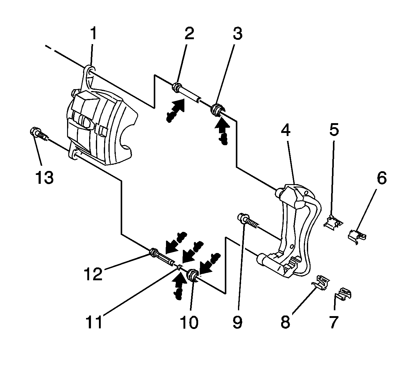
  5. Remove the 2 slide pins (3, 13).
  6. Remove the 2 slide pin boots (4, 11).
  7. Discard the slide pin boots.


    Object Number: 2014082  Size: SH
  8. Wrap tape (2) over a flat blade screwdriver.
  9. Remove the bushing (3) from the lower slide pin (1).
  10. Discard the bushing.

Inspection Procedure


    Object Number: 2029501  Size: SH

    Note: DO NOT use abrasives in order to clean brake components.

  1. Clean the insulators (2) in denatured alcohol or an equivalent brake parts cleaner.

  2. Object Number: 2014053  Size: SH
  3. Clean the 4 brake pad retainers (6, 7, 8, 9). Inspect the retainers for the following conditions:
  4. • Sufficient rebound
    • No deformation
    • No cracks
    • No wear
    • No rust
    • No dirt
      If the retainers meet the above conditions, re-use the retainers.
  5. Clean the following components in denatured alcohol or an equivalent brake parts cleaner:
  6. • The bolts (1, 14)
    • The slide pins (3, 13)
    • The caliper housing (2)
  7. Use unlubricated, compressed air in order to dry the components.
  8. Inspect the caliper bracket (5) for corrosion and wear. Replace the bracket if the bracket is damaged. Refer to Front Brake Caliper Bracket Replacement.
  9. Inspect the caliper housing for corrosion and wear. Replace the caliper if the caliper housing is damaged. Refer to Front Brake Caliper Replacement.

Installation Procedure


    Object Number: 2014098  Size: SH
  1. Lubricate 2 NEW slide pin boots (1, 2) with lithium soap base glycol grease or Silicone Brake Lubricant, or equivalent. Refer to Adhesives, Fluids, Lubricants, and Sealers.
  2. Install the slide pin boots to the caliper bracket.

  3. Object Number: 2029658  Size: SH
  4. Lubricate the lower slide pin (1) and the slide pin bushing (2) with lithium soap base glycol grease or Silicone Brake Lubricant, or equivalent. Refer to Adhesives, Fluids, Lubricants, and Sealers.
  5. Install the bushing to the lower slide pin.

  6. Object Number: 2014080  Size: SH
  7. Install the lower slide pin (2) to the caliper bracket.
  8. Lubricate the upper slide pin (1) with lithium soap base glycol grease or Silicone Brake Lubricant, or equivalent. Refer to Adhesives, Fluids, Lubricants, and Sealers.
  9. Install the upper slide pin to the caliper bracket.

  10. Object Number: 2014077  Size: SH

    Note: Ensure each brake pad retainer is in the correct position and direction.

  11. Align the match marks and install the upper inside brake pad retainer (1) to the caliper bracket.
  12. Align the match marks and install the upper outside brake pad retainer (2).
  13. Align the match marks and install the lower outside brake pad retainer (3).
  14. Align the match marks and install the lower inside brake pad retainer (4).

  15. Object Number: 2014103  Size: SH
  16. Apply disc brake grease to both sides of the 2 inner insulators (2).
  17. Ensure the disc brake grease covers the area where the outer insulators (1) contact the inner insulators.
  18. Install the 2 inner insulators to the 2 brake pads.
  19. Install the 2 outer insulators to the 2 inner insulators.
  20. Install the brake pads and the insulators to the vehicle. Refer to Front Disc Brake Pads Replacement.