GM Service Manual Online
For 1990-2009 cars only

Removal Procedure

  1. Disconnect the negative battery cable. Refer to Battery Negative Cable Disconnection and Connection.
  2. Remove the instrument cluster. Refer to Instrument Cluster Replacement.

  3. Object Number: 2013074  Size: SH
  4. Remove the brake pedal return spring (1) from the brake pedal support.

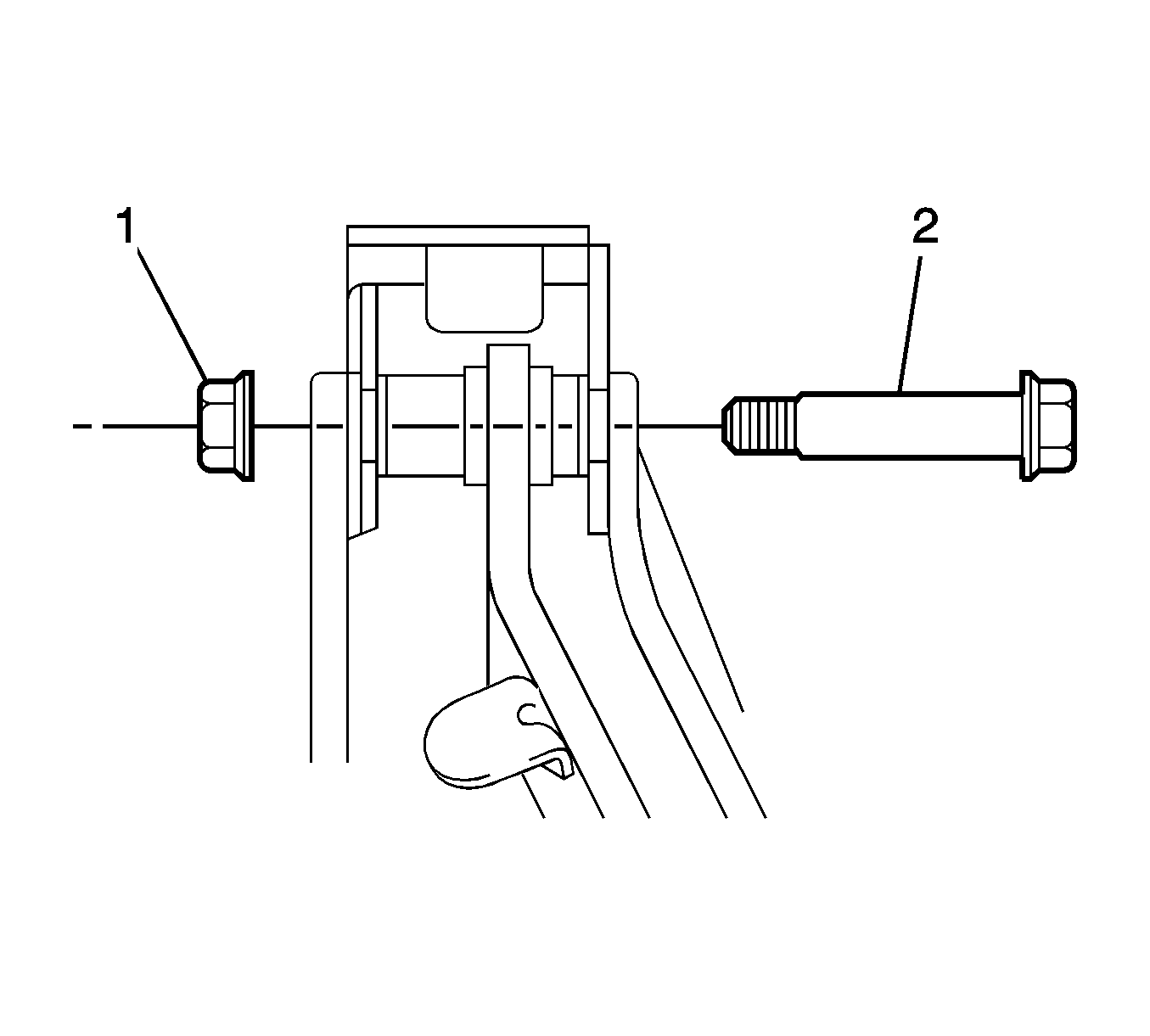
  5. Object Number: 2013108  Size: SH
  6. Remove the clip (3) from the push rod clevis pin (2).
  7. Discard the clip.

  8. Remove the push rod clevis pin from the push rod clevis (1).
  9. Separate the push rod clevis from the brake pedal.

  10. Object Number: 2009632  Size: SH
  11. Disconnect the stop lamp switch connector (1).

  12. Object Number: 2009635  Size: SH
  13. Turn the stop lamp switch (1) counter clockwise and remove the stop lamp switch.
  14. Remove the stop lamp switch mounting adjuster from the brake pedal support.

  15. Object Number: 2013075  Size: MH
  16. Remove the bolt (1) and separate the brake pedal support from the instrument panel reinforcement.

  17. Object Number: 2013077  Size: SH
  18. Disengage the 2 clamps (1) from the brake pedal support.

  19. Object Number: 2013103  Size: SH
  20. Remove the 4 nuts (1, 2, 3, 4) and the brake pedal support from the vehicle.

  21. Object Number: 2013105  Size: SH
  22. Remove the nut (1) from the brake pedal support.

  23. Object Number: 2013107  Size: SH
  24. Remove the shaft bolt (2) and the nut (1).

  25. Object Number: 2013068  Size: MH
  26. Remove the pedal (7) from the support (13).
  27. Remove the 2 bushings (5) from the pedal.
  28. Discard the bushings.

  29. Remove the cover (6) from the pedal.

Installation Procedure


    Object Number: 2013068  Size: MH
  1. Install the cover (6) to the brake pedal (7).
  2. Apply lithium soap base glycol grease to 2 NEW bushings (5).
  3. Install the bushings to the pedal.
  4. Install the pedal to the support (13).
  5. Caution: Refer to Fastener Caution in the Preface section.


    Object Number: 2013107  Size: SH
  6. Install the nut (1) to the shaft bolt and tighten to 37 N·m (27 lb ft).

  7. Object Number: 2013105  Size: SH
  8. Install the nut (1) to the brake pedal support.

  9. Object Number: 2013103  Size: SH
  10. Install the support to the vehicle with the 4 nuts (1, 2, 3, 4) and tighten to 13 N·m (115 lb in).

  11. Object Number: 2013077  Size: SH
  12. Engage the 2 clamps (1) to the brake pedal support.

  13. Object Number: 2013075  Size: MH
  14. Install the brake pedal support to the instrument panel reinforcement with the bolt (1) and tighten to 24 N·m (18 lb ft).
  15. Install the stop lamp switch mounting adjuster to the brake pedal support.

  16. Object Number: 2009636  Size: SH

    Note: While installing the stop lamp switch, support the pedal from behind in order to prevent pushing the pedal in.

  17. Install the stop lamp switch (1) until the rod hits the cushion.
  18. Turn the stop lamp switch 90 degrees clockwise.
  19. Adjust the stop lamp clearance. Refer to Stop Lamp Switch Adjustment.

  20. Object Number: 2009632  Size: SH
  21. Connect the stoplamp switch connector (1).

  22. Object Number: 2013108  Size: SH
  23. Apply lithium soap base glycol grease to the push rod clevis pin (2) and to the clevis pin hole in the pedal.
  24. Install the push rod clevis pin in order to retain the push rod clevis (1) to the pedal.
  25. Install a NEW clip (3) in order to retain the clevis pin to the pedal.

  26. Object Number: 2013074  Size: SH
  27. Install the brake pedal return spring (1) between the brake pedal support and the push rod clevis.
  28. Measure the brake pedal travel. Adjust if necessary. Refer to Brake Pedal Travel Measurement and Inspection.
  29. Install the instrument cluster. Refer to Instrument Cluster Replacement.
  30. Connect the negative battery cable. Refer to Battery Negative Cable Disconnection and Connection.