GM Service Manual Online
For 1990-2009 cars only

Removal Procedure

  1. Disconnect the negative battery cable. Refer to Battery Negative Cable Disconnection and Connection.

  2. Object Number: 2023695  Size: SH
  3. Remove the bolts (1-3) and separate the main body ECU.
  4. Disconnect the clutch pedal switch connector.
  5. Disconnect the clutch switch connector.

  6. Object Number: 2023697  Size: SH
  7. Remove the clip and hole pin.

  8. Object Number: 2023699  Size: SH
  9. Remove the nuts (2,3), bolt (1) and clutch pedal support sub-assembly.

  10. Object Number: 2023707  Size: SH
  11. Remove the nut from the clutch pedal support sub-assembly.

  12. Object Number: 2023743  Size: SH
  13. Remove the clutch pedal stopper bolt (1) from the clutch pedal support sub-assembly.

  14. Object Number: 2023744  Size: SH
  15. Remove the clutch pedal spring.
  16. Mount the clutch pedal in a soft jaw vise.
  17. While the clutch pedal is fully depressed, remove the turnover spring.
  18. Remove the turnover bushings from the clutch pedal sub-assembly and clutch pedal support sub-assembly.

  19. Object Number: 2023746  Size: SH
  20. Remove the bolt, nut (1) and clutch pedal sub-assembly from the clutch pedal support sub-assembly.
  21. Remove the clutch pedal pad from the clutch pedal sub-assembly.

  22. Object Number: 2023752  Size: SH
  23. Remove the bushings from the clutch pedal sub-assembly.

  24. Object Number: 2023799  Size: MH
  25. Remove the No. 1 clutch pedal cushions (1) from the clutch pedal sub-assembly and clutch pedal support sub-assembly.

  26. Object Number: 2023801  Size: SH
  27. Using an 8 mm hexagon wrench and a hammer, remove the clevis bushing from the clutch pedal sub-assembly (1).
  28. Remove the nut and cruise control clutch switch assembly from the clutch pedal support assembly.
  29. Remove the nut and clutch pedal position switch assembly from the clutch pedal support assembly.

Inspection Procedure


    Object Number: 2023809  Size: MH
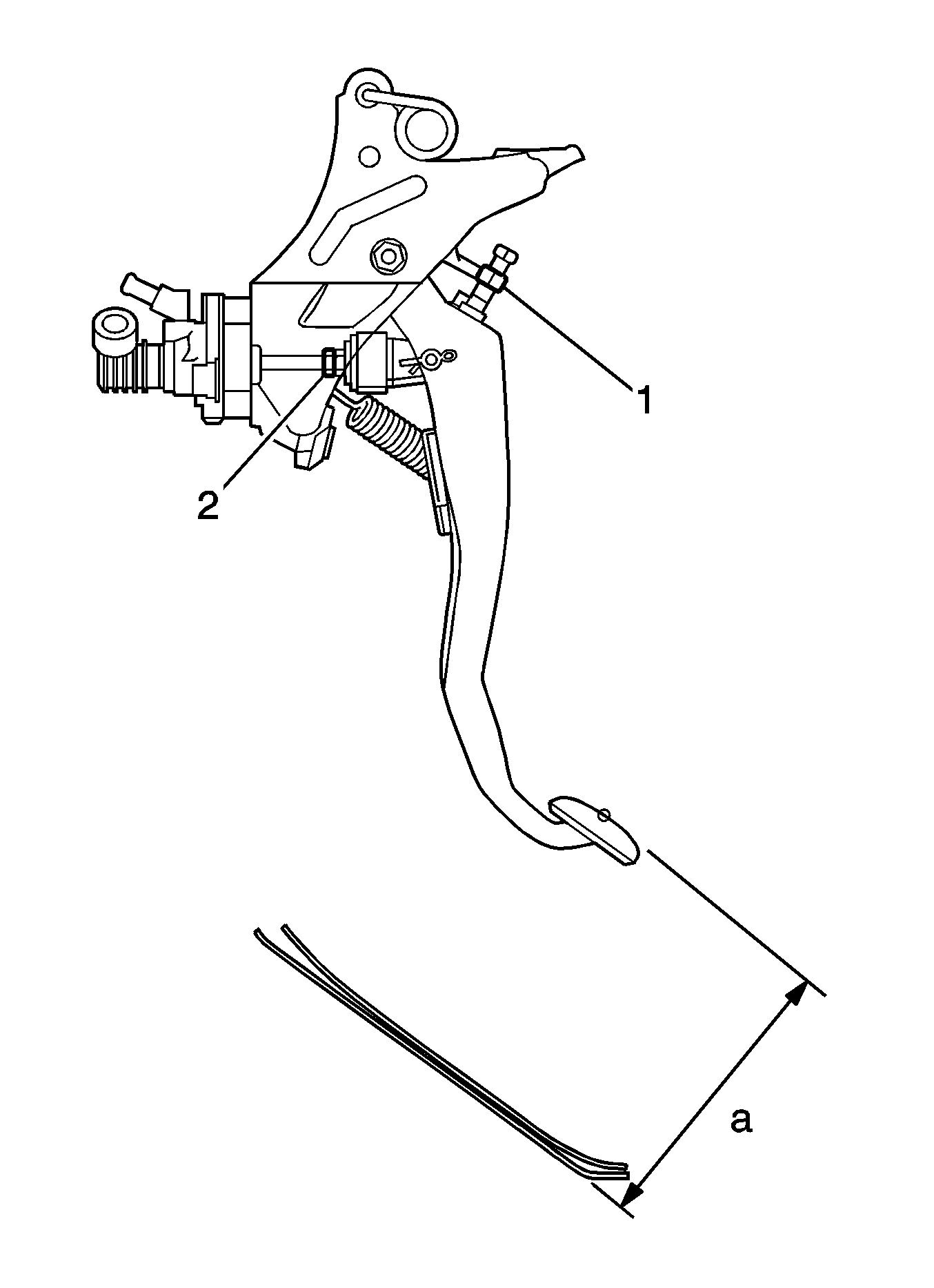
  1. Turn back the floor carpet.
  2. Check that the pedal height is correct (a.
  3. Loosen the lock nut and turn the stopper bolt (1) until the correct height is obtained.
  4. Caution: Refer to Fastener Caution in the Preface section.

  5. Install the lock nut and tighten to 25 N·m (18 lb ft).

  6. Object Number: 2023816  Size: SH
  7. Check that pedal free play and push rod play are correct (a, b).
  8. Depress the pedal until clutch resistance begins to be felt.
  9. Specification
    Pedal free play: 5.0 to 15.0 mm (0.197 to 0.591 in)

  10. Gently depress the pedal until resistance begins to increase a little.
  11. Specification
    Push rod play at pedal top: 1.0 to 5.0 mm (0.039 to 0.197 in)

  12. If necessary, adjust the pedal free play and push rod play.
  13. Loosen the lock nut and turn the push rod until the correct free play and push rod play are obtained.
  14. Tighten the lock nut to 12 N·m (106 lb in).
  15. After adjusting the pedal free play, check the pedal height.

  16. Object Number: 2023876  Size: SH
  17. Check the clutch release point.
  18. Pull the parking brake lever and install wheel chocks.
  19. Start the engine and run it at idle.
  20. Without depressing the clutch pedal, slowly move the shift lever into reverse until the gears contact.
  21. Gradually depress the clutch pedal and measure the stroke distance from the point that the gear noise stops, release point, up to the full stroke end position (a).
  22. Specification
    Standard distance: 25 mm (0.98 in) or more (from pedal stroke end position (2) to release point)

  23. If the distance is not as specified, perform the following procedure:
  24. • Check the pedal height.
    • Check the push rod play and pedal free play.
    • Bleed the clutch line.
    • Check the clutch cover and disc.

Pedal Height from Floor

Engine Type

Pedal Height: mm (in)

2.4L LAX

166.4 to 176.4 (6.551 to 6.945)

1.8L LAY

157.7 to 167.7 (6.209 to 6.602)

Installation Procedure

    Caution: Refer to Fastener Caution in the Preface section.

  1. Install the clutch pedal position switch assembly to the clutch pedal support sub-assembly with the nut and tighten to 16 N·m (12 lb ft).
  2. Install the cruise control clutch switch assembly to the clutch pedal support sub-assembly with the nut and tighten to 16 N·m (12 lb ft).

  3. Object Number: 2024027  Size: SH
  4. Apply MP grease to the inside of a new clevis bushing.
  5. Note:  Install the clevis bushing from the right side of the vehicle.

  6. Install the clevis bushing to the clutch pedal sub-assembly.

  7. Object Number: 2023799  Size: MH
  8. Install the No. 1 clutch pedal cushions (1, 2) to the clutch pedal sub-assembly and clutch pedal support sub-assembly.

  9. Object Number: 2024089  Size: SH
  10. Apply MP grease to both sides and end surface of the new bushings.
  11. Install the bushings to the clutch pedal.
  12. Install the clutch pedal pad to the clutch pedal sub-assembly.

  13. Object Number: 2023746  Size: SH

    Note:  Install the bolt from the right side of the vehicle.

  14. Install the clutch pedal sub-assembly to the clutch pedal support sub-assembly with the bolt and nut (1) and tighten to 37 N·m (27 lb ft).

  15. Object Number: 2024117  Size: SH
  16. Apply MP grease to the sliding portion of the turnover bushings.
  17. Install new turnover bushings to the clutch pedal sub-assembly and clutch pedal support sub-assembly.
  18. Install the turnover spring.

  19. Object Number: 2023744  Size: SH
  20. Install the clutch pedal spring.

  21. Object Number: 2023743  Size: SH
  22. Install the clutch pedal stopper bolt (1) so that its end touches the clutch pedal cushion.

  23. Object Number: 2023707  Size: SH
  24. Install the nut to the clutch pedal support sub-assembly.

  25. Object Number: 2023699  Size: SH
  26. Install the clutch pedal support sub-assembly with the nuts (2, 3) and bolts (1) and tighten.
  27. • The bolts to 24 N·m (17 lb ft).
    • The nuts to 13 N·m (115 lb in).

    Object Number: 2023697  Size: SH

    Note:  Install the hole pin from the right side of the vehicle.

  28. Connect the clevis to the clutch pedal sub-assembly with the hole pin.
  29. Install the clip to the hole pin.
  30. Connect the clutch pedal switch connector.
  31. Connect the clutch switch assembly connector.

  32. Object Number: 2023695  Size: SH
  33. Install the main body ECU with the bolts (1-3).
  34. Connect the negative battery cable. Refer to Battery Negative Cable Disconnection and Connection.