GM Service Manual Online
For 1990-2009 cars only

Removal Procedure


    Object Number: 2013056  Size: SH
  1. Disconnect the negative battery cable from the battery. Refer to Battery Negative Cable Disconnection and Connection.
  2. Remove the battery. Refer to Battery Replacement.
  3. Remove the battery tray. Refer to Battery Tray Replacement.
  4. Remove the nut (1) and disconnect the control cable assembly from the control shaft lever.
  5. Remove the clip and disconnect the transmission control cable assembly from the control cable bracket.

  6. Object Number: 2013057  Size: SH
  7. Disconnect the park/neutral position switch connector.

  8. Object Number: 2013061  Size: SH
  9. Remove the nut (1), washer and control shaft lever.

  10. Object Number: 2013069  Size: SH
  11. Using a screwdriver, pry off the lock plate.
  12. Remove the nut and lock plate.

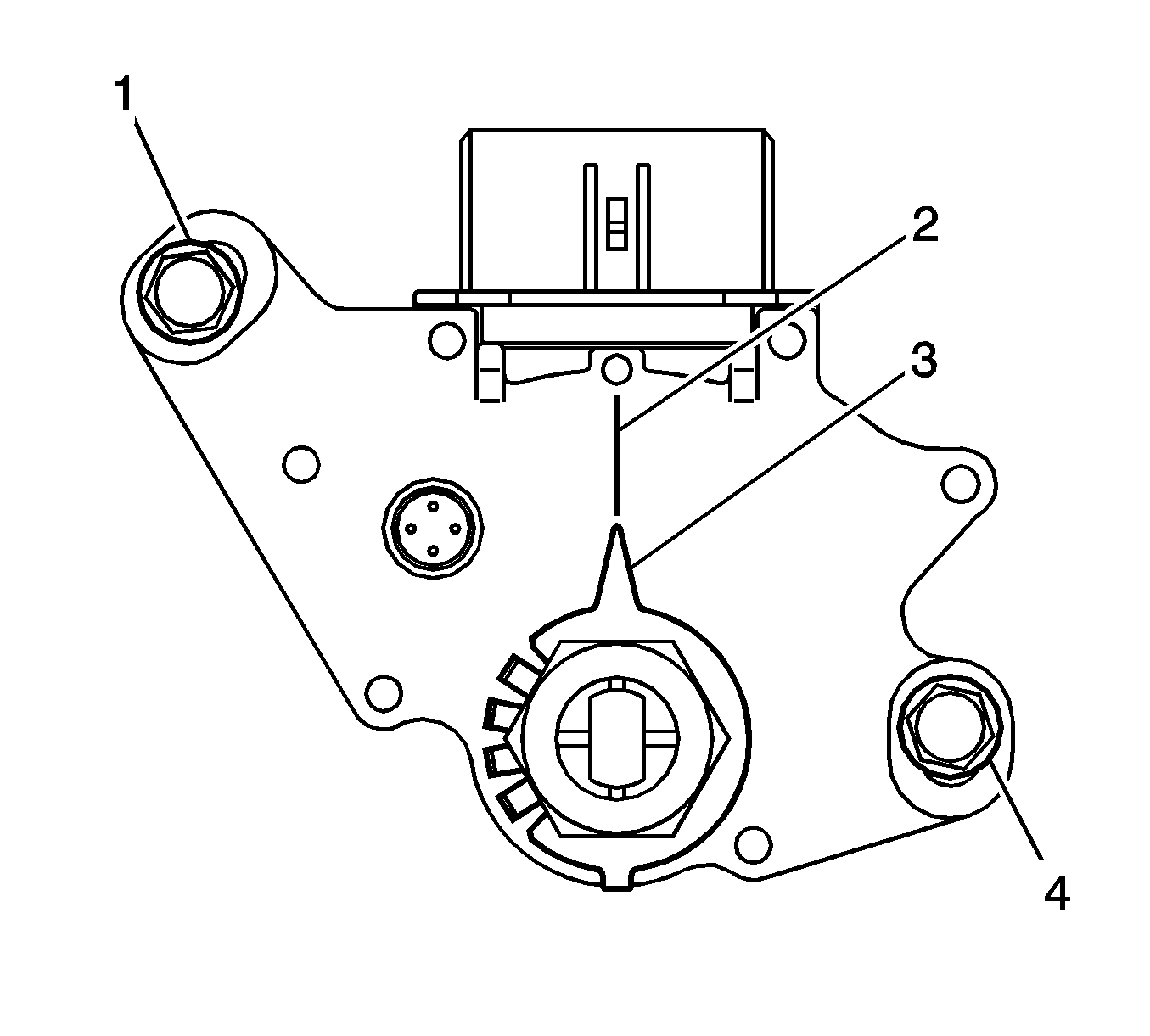
  13. Object Number: 2013072  Size: SH
  14. Remove the bolts (1, 2) and pull out the switch.
  15. If operation cannot be done as specified, replace the park/neutral position switch.


    Object Number: 2013078  Size: SH
  16. Loosen the bolts (1, 4) of the switch and set the shift lever to the N position (2).
  17. Align the groove and neutral basic line (2).
  18. Caution: Refer to Fastener Caution in the Preface section.

  19. Hold the switch in this position and tighten the bolts (1, 4) to 5 N·m (448 lb in).
  20. After adjustment, perform the inspection.

Installation Procedure


    Object Number: 2013072  Size: SH
  1. Install the switch to the manual valve shaft.
  2. Hand tighten the bolts (1, 2).

  3. Object Number: 2013079  Size: SH
  4. Install a new lock plate and tighten the manual valve shaft nut to 7 N·m (62 lb in).
  5. Hand tighten the control shaft lever.

  6. Object Number: 2013081  Size: SH
  7. Turn the lever counterclockwise until it stops, and then turn it clockwise two notches.
  8. Remove the control shaft lever.

  9. Object Number: 2013086  Size: SH
  10. Align the groove with neutral base line (2).
  11. Hold the switch in this position and tighten the bolts (1, 4) to 5 N·m (44 lb in).

  12. Object Number: 2013069  Size: SH
  13. Using a screwdriver, stake the nut with the lock plate.

  14. Object Number: 2013061  Size: SH
  15. Install the control shaft lever with the washer and nut (1) and tighten to 13 N·m (115 lb in).

  16. Object Number: 2013057  Size: SH
  17. Connect the switch connector.

  18. Object Number: 2013056  Size: SH
  19. Connect the transmission control cable to the bracket with a new clip.
  20. Caution: Refer to Fastener Caution in the Preface section.

  21. Connect the transmission control cable assembly to the control shaft lever with the nut (1) and tighten to 15 N·m (11 lb ft).
  22. Install the battery tray. Refer to Battery Tray Replacement.
  23. Install the battery. Refer to Battery Replacement.
  24. Connect the negative battery cable to the battery. Refer to Battery Negative Cable Disconnection and Connection.
  25. Adjust the shift lever position.