GM Service Manual Online
For 1990-2009 cars only

Special Tools

J-35405 Differential Preload Wrench


    Object Number: 2014017  Size: SH
  1. Coat the front differential side gears, side gear thrust washers, font differential pinions and pinion thrust washers with ATF WS and install them to the differential case.

  2. Object Number: 2014025  Size: SH
  3. Coat the No. 1 front differential pinion shaft with ATF WS, and install it to the differential case.

  4. Object Number: 2014029  Size: SH
  5. Using a pin punch and a hammer, tap in the pinion shaft straight pin.

  6. Object Number: 2014030  Size: SH
  7. Using a chisel and a hammer, stake the differential case.

  8. Object Number: 2014031  Size: SH
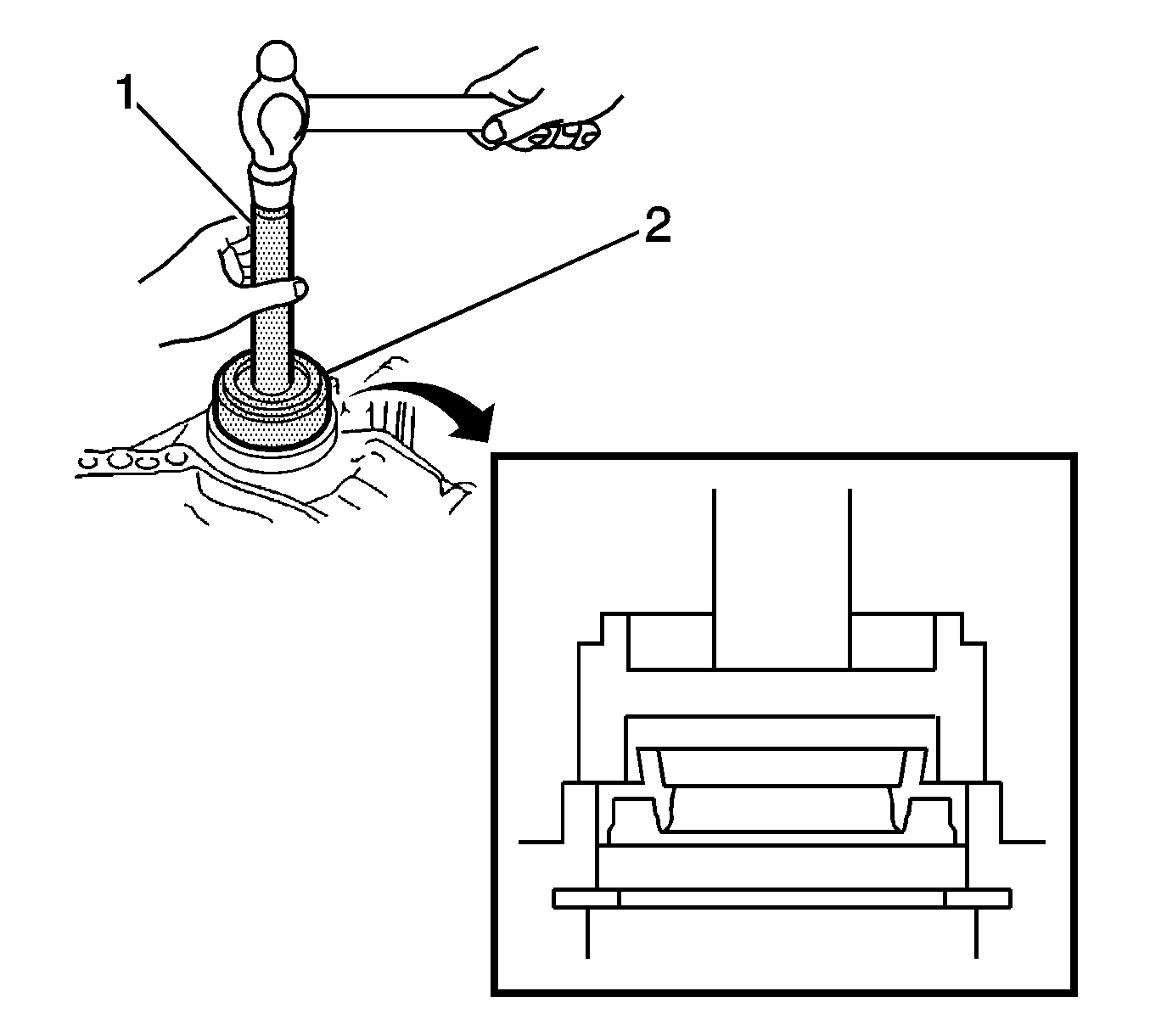
  9. Using a press (1), press in the front differential case rear tapered roller bearing to the differential case.

  10. Object Number: 2014032  Size: SH
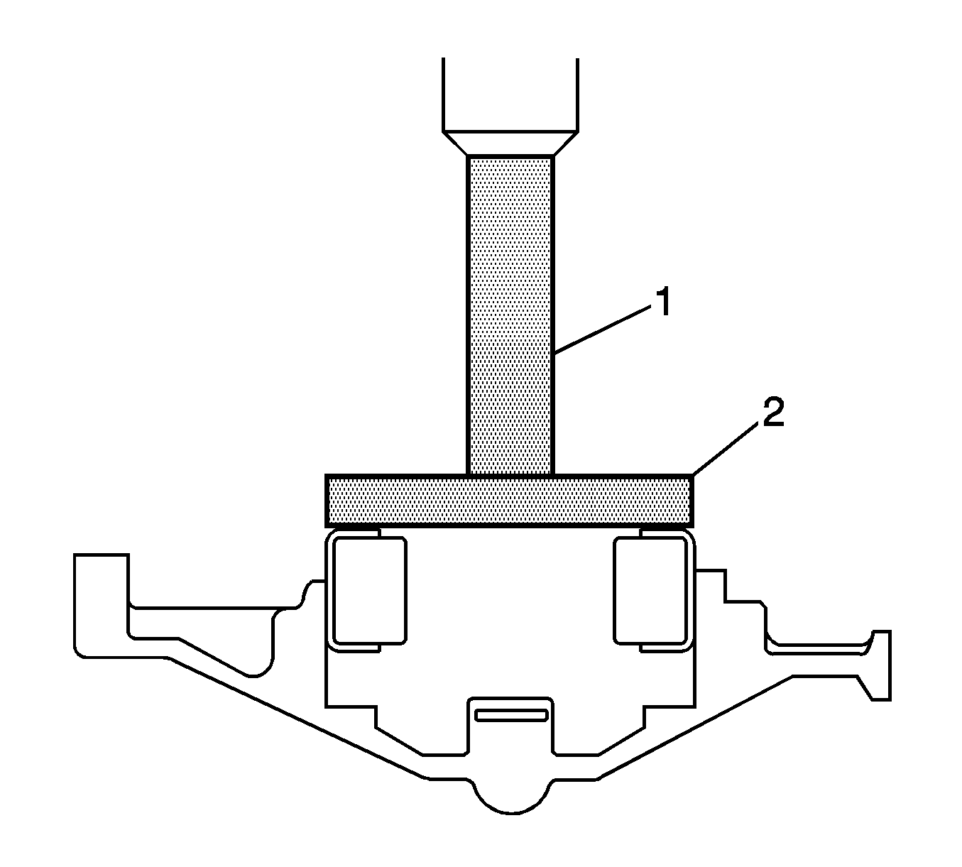
  11. Using a suitable driver (1) and a hammer, tap in the front differential case tapered roller bearing front outer race to the transaxle housing.

  12. Object Number: 2014036  Size: SH
  13. Using a press, press in the front differential case rear tapered roller bearing to the differential case.

  14. Object Number: 2014038  Size: SH
  15. Using a brass bar (1) and a hammer, tap in the front differential case tapered roller bearing front outer race to the transaxle housing.

  16. Object Number: 2014039  Size: SH
  17. Install the differential assembly to the transaxle case.

  18. Object Number: 2151797  Size: SH
  19. Clean the matching surfaces of the transaxle case and transaxle housing.
  20. Caution: Refer to Fastener Caution in the Preface section.

  21. Install the transaxle housing to the transaxle case with the bolts. Refer to Transmission General Specifications for bolt length.
  22. • Bolts 1 and 2 to 29 N·m (22 lb ft)
    • Bolts 3 and 4 to 22 N·m (16 lb ft)
    • Bolt 5 to 10 N·m (89 lb in)

    Object Number: 2014043  Size: SH
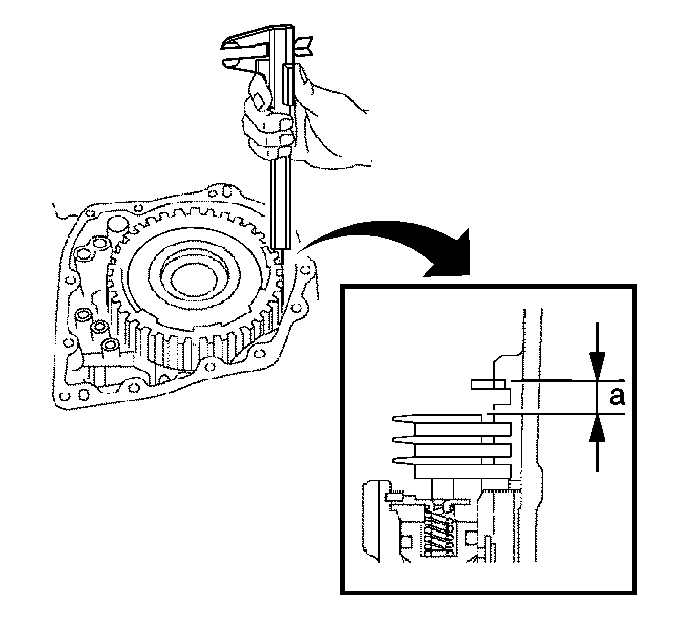
  23. Using J-35405 wrench  (1), turn the differential assembly right and left 2 or 3 times to allow the bearing to settle.
  24. Using J-35405 wrench and a torque wrench, measure the turning torque of the differential.
  25. Specification
    Standard turning torque at 60 rpm - 0.20-0.69 N·m (1.8-6.1 lb in)

  26. If the turning torque is not within the specified value, refer to Transmission General Specifications for standard flange thickness A.

  27. Object Number: 2151685  Size: SH
  28. Remove the bolts (1-18) and the transaxle housing.

  29. Object Number: 2014039  Size: SH
  30. Remove the differential assembly.

  31. Object Number: 2014046  Size: SH

    Note: Do not overheat the ring gear to 110°C (230°F) or more.

  32. Using ATF WS and a heater, heat the front differential ring gear to 90-110°C (194-230°F)
  33. Clean the contact surface of the front differential case.

  34. Object Number: 2013997  Size: SH

    Note: Do not install the bolts while the ring gear is hot.

  35. Align the matchmarks (1), and install the front differential ring gear case quickly.

  36. Object Number: 2013999  Size: SH

    Note: Tighten the bolts a little at a time in diagonal order.

  37. Install the bolts and tighten to 95 N·m (70 lb ft).

  38. Object Number: 2014048  Size: SH
  39. Coat the lip of a new oil seal with MP grease.
  40. Using a suitable driver (1) and a hammer, tap in the differential side bearing retainer oil seal.

  41. Object Number: 2014049  Size: SH
  42. Coat the lip of a new oil seal with MP grease.
  43. Using a suitable driver (1) and a hammer, tap in the transaxle housing oil seal.

  44. Object Number: 2013974  Size: SH

    Note: The seal end should be flat with the outer edge of the oil pump.

  45. Using a suitable tool (1), install a new oil seal to the pump.
  46. Coat the lip of the oil seal with grease.

  47. Object Number: 2013975  Size: SH
  48. Coat the new O-ring with ATF WS, and install it to the oil pump body.

  49. Object Number: 2013976  Size: SH
  50. Coat the front oil pump driven gear (1) with ATF WS, and install it to the oil pump body with the marked side facing up.

  51. Object Number: 2013977  Size: SH
  52. Coat the front oil pump drive gear with ATF WS, and install it to the oil pump body with the marked side facing up (1, 2).

  53. Object Number: 2013978  Size: SH
  54. Set the stator shaft by aligning each bolt hole.
  55. Install the bolts and tighten to 10 N·m (89 lb in).

  56. Object Number: 2013985  Size: SH
  57. Install the clutch drum oil seal rings.

  58. Object Number: 2013702  Size: SH
  59. Install the apply tube and clamp to the transaxle housing with the bolt and tighten to 10 N·m (89 lb in).

  60. Object Number: 2013700  Size: SH
  61. Install a new oil seal ring to the transaxle housing.

  62. Object Number: 2013735  Size: SH
  63. Using a press (1), press in the underdrive cylindrical roller bearing.

  64. Object Number: 2013696  Size: SH
  65. Install new oil seal rings to the transaxle.

  66. Object Number: 2013738  Size: SH
  67. Using a press (1), press in the needle-roller bearing to the transaxle until a depth of 4.0 mm (0.157 in) is reached.

  68. Object Number: 2013694  Size: SH
  69. Coat the new O-rings (1, 2) with ATF WS, and install them to the underdrive brake piston.

  70. Object Number: 2013739  Size: SH
  71. Install the underdrive brake piston to the transaxle.

  72. Object Number: 2013499  Size: SH
  73. Using a press (1), press in the piston return spring and snap ring to the transaxle.
  74. Install the No. 2 breather plug.

  75. Object Number: 2013692  Size: SH
  76. Using a screwdriver, press in the snap ring to the transaxle.

  77. Object Number: 2013742  Size: SH
  78. Using a press (2), press in the bearings outer races to the transaxle.

  79. Object Number: 2013743  Size: SH
  80. Using a press (1), press in the tapered roller bearing to the counter drive gear until the bearing race contacts with the snap ring.

  81. Object Number: 2013746  Size: SH
  82. Using a press (1), install the counter drive gear and bearing to the transaxle.

  83. Object Number: 2013686  Size: SH
  84. Coat the new O-rings (1, 2) with ATF WS.
  85. Install the O-ring to the 1st and reverse brake piston.

  86. Object Number: 2013747  Size: SH
  87. Coat the 1st and reverse brake piston with ATF WS, and install it to the transaxle.

  88. Object Number: 2013683  Size: SH

    Note: Stop pressing when the spring sheet is lowered to 1 to 2 mm (0.039 to 0.078 in) from the snap ring groove, preventing the spring sheet from being deform.

  89. Using a press (1) and snap ring expander, press the piston return spring and snap ring into the transaxle.

  90. Object Number: 2013681  Size: SH
  91. Using a screwdriver, install the front planetary ring gear and snap ring to the brake hub.

  92. Object Number: 2013676  Size: SH
  93. Install the front planetary gear assembly to the brake hub.

  94. Object Number: 2013749  Size: SH
  95. Using a press (1), press-fit the front planetary gear.

  96. Object Number: 2013750  Size: SH
  97. Install the washer, as shown.

  98. Object Number: 2013674  Size: SH
  99. Using DT-49189 counter gear nut wrench  (2) install the nut and tighten to 280 N·m (206 lb ft).

  100. Object Number: 2013751  Size: SH
  101. Measure the turning torque of the bearing while rotating DT-49189 counter gear nut wrench  (1) at 60 rpm. When the measured value is not within the specified value, gradually tighten the nut until it reaches the specified value.
  102. • New nut to 0.51-1.02 N·m (4.4-8.7 lb ft)
    • Used nut to 0.3-0.5 N·m (2.7-4.4 lb ft)

    Object Number: 2013752  Size: SH
  103. Using a chisel and hammer, stake the front planetary gear washer.

  104. Object Number: 2013672  Size: SH
  105. Install the thrust bearings, bearing race and front planetary sun gear to the front planetary gear.

  106. Object Number: 2013671  Size: SH
  107. Coat the bearing race with ATF WS, and install it to the rear planetary gear assembly.
  108. Specification

        • Standard inside bearing race diameter - 38.6 mm (1.52 in)
        • Standard outside bearing race diameter - 58 mm (2.83 in)

    Object Number: 2013670  Size: SH
  109. Install the No. 2 thrust washer.

  110. Object Number: 2013669  Size: SH
  111. Install the rear planetary gear to the rear planetary ring gear.

  112. Object Number: 2013668  Size: SH
  113. Using a screwdriver, install the snap ring.

  114. Object Number: 2013755  Size: SH

    Note: 

       • P = Plate (2)
       • D = Disc (1)

  115. Install the 5 plates and 5 discs.
  116. Make sure you install in order -- P-D-P-D-P-D-P-D-P-D


    Object Number: 2013757  Size: SH
  117. Using a vernier caliper, measure the distance between the disc surface and the contact surface of the 2nd brake cylinder and transaxle (Dimension A).
  118. Select an appropriate flange so that the pack clearance will meet the specified value. 0.745 to 1.21 mm (0.0293 to 0.0476 in.) Refer to Transmission General Specifications for standard flange thickness B.

  119. Object Number: 2013759  Size: SH
  120. Install the flange.

  121. Object Number: 2013667  Size: SH
  122. Coat the new O-rings with ATF WS, and install them into the 2nd brake piston.

  123. Object Number: 2013761  Size: SH
  124. Press in the 2nd brake piston into the 2nd brake cylinder with your hands.

  125. Object Number: 2013570  Size: SH
  126. Install the piston return spring.

  127. Object Number: 2012354  Size: SH
  128. Compress the piston return spring with a press (1).
  129. Note: Be sure the end gap of the snap ring is not aligned with the piston return spring claw.

  130. Using a screwdriver, install the snap ring.

  131. Object Number: 2013765  Size: SH
  132. Install the 2nd brake piston to the transaxle.
  133. Note: 

       • Because the taper snap ring has the positioning direction, check it when installing.
       • When the diameter does not satisfy the specified value, replace the snap ring with a new one.

  134. Install the snap ring and measure the inside diameter.
  135. Specification
    Standard inside diameter is more than 167 mm (6.57 in).


    Object Number: 2013767  Size: SH

    Note: Check the positioning direction of the outer sleeve.

  136. Install the 1-way clutch outer sleeve to the 2nd brake cylinder.

  137. Object Number: 2013557  Size: SH

    Note: Check the direction of the inner race.

  138. Install the inner race to the 1-way clutch.

  139. Object Number: 2013770  Size: SH
  140. Check the rotating direction of the 1-way clutch (1) for the lock or free operation.

  141. Object Number: 2013551  Size: SH

    Note: Install the thrust bearing properly so that no colored race will be visible.

  142. Install the 1-way clutch and bearing to the 1-way clutch sleeve outer.
  143. Specification

        • Standard inside bearing race diameter - 53.6 mm (2.11 in)
        • Standard outside bearing race diameter - 69.6 mm (2.74 in)

    Object Number: 2013549  Size: SH
  144. Coat the No. 1 thrust washer with petroleum jelly, and install it onto the rear planetary sun gear.

  145. Object Number: 2013540  Size: SH
  146. Coat the bearing with petroleum jelly, and install it onto the rear planetary sun gear.
  147. Specification

        • Standard inside bearing race diameter - 33.8 mm (1.331 in)
        • Standard outside bearing race diameter - 48.2 mm (1.898 in)

    Object Number: 2013538  Size: SH
  148. Install the rear planetary sun gear to the rear planetary gear.

  149. Object Number: 2013775  Size: SH

    Note: 

       • P = Plate (2)
       • D = Disc (1)

  150. Install the discs and plates to the transaxle.
  151. Make sure you install in order -- P-D-P-D-P-D

  152. Temporarily install the snap ring.

  153. Object Number: 2013776  Size: SH
  154. Using a vernier caliper, measure the distance between the disc surface and snap ring surface.
  155. Select an appropriate flange so that the pack clearance will meet the specified value. Refer to Transmission General Specifications for standard flange thickness (a).
  156. Specification
    Standard pack clearance - 0.50- 0.91 mm (0.0197-0.0358 in)

  157. Piston stroke = Clearance - Flange thickness - Snap ring thickness 1.6 mm (0.063 in)

  158. Object Number: 2013778  Size: SH

    Note: Secure the snap ring so that its gap is visible through the groove of the transaxle case.

  159. Temporarily remove the snap ring, attach the selected flange and restore the snap ring.

  160. Object Number: 2013782  Size: SH
  161. Coat the direct clutch piston with ATF WS, and install it to the direct clutch drum.

  162. Object Number: 2013534  Size: SH
  163. Install the piston return spring to the direct clutch drum.

  164. Object Number: 2013532  Size: SH
  165. Install the clutch balancer to the direct clutch drum.

  166. Object Number: 2013528  Size: SH
  167. Compress the piston return spring with a press (1).
  168. Note: Be sure the end gap of the snap ring is not aligned with the clutch balancer claw.

  169. Using a snap ring expander, install the snap ring to the direct clutch drum.

  170. Object Number: 2013784  Size: SH

    Note: 

       • P = Plate (3)
       • D = Disc (2)
       • F = Flange (1)

  171. Install the plates, discs and flange to the direct clutch drum.
  172. Make sure you install in order -- P-D-P-D-P-D-F


    Object Number: 2013525  Size: SH
  173. Using a screwdriver, install the snap ring.
  174. Check that the end gap of the snap ring is not aligned with one of the cutouts.

  175. Object Number: 2013726  Size: SH
  176. Install the direct clutch on the transaxle rear cover.
  177. Using a dial indicator, measure the direct clutch pack clearance while applying and releasing compressed air.
  178. Specification
    Standard pack clearance - 0.515- 0.825 mm (0.0203-0.0324 in)

  179. If the pack clearance is less than the minimum, parts may have been assembled incorrectly, so check and reassemble again. If the stroke is not as specified, select another flange.
  180. There are six flanges in different thickness. Refer to Transmission General Specifications for standard flange thickness C.


    Object Number: 2013785  Size: SH

    Note: Do not place the rear planetary sun gear in a vise.

  181. Check that the disc rotates after inserting the rear planetary sun gear.

  182. Object Number: 2013522  Size: SH
  183. Install the bearing race to the direct clutch.
  184. Specification

        • Standard inside bearing race diameter - 30.3 mm (1.193 in)
        • Standard outside bearing race diameter - 46.0 mm (1.811 in)

    Object Number: 2013508  Size: SH

    Note: The disc in the direct clutch should completely mate with the hub attached outside the rear planetary sun gear. Otherwise, the rear cover cannot be installed.

  185. Install the direct clutch and thrust bearing to the rear planetary sun gear.

  186. Object Number: 2013788  Size: SH
  187. Clean the contact area of the transaxle case and rear cover.
  188. Place a straightedge on the direct clutch drum and measure the distance between the transaxle case and the straightedge using a vernier caliper (Dimension B).

  189. Object Number: 2013789  Size: SH
  190. Measure two places on the rear cover. Calculate dimension C using the following formula.
  191. Dimension C = Dimension A - Dimension B

    Note: Make sure that the colored race side is facing the direct clutch assembly.

  192. Calculate the end play value using the following formula.
  193. End play = Dimension C - Dimension B

    Specification
    End play - 0.198- 0.936 mm (0.0078-0.0368 in)

  194. Select a thrust bearing which satisfies the end play value and install it.
  195. Specification

        • Standard bearing thickness 3.58 mm (0.1409 in), inside diameter - 53.6 mm (2.110 in)
        • Standard bearing thickness 3.58 mm (0.1409 in), outside diameter - 69.6 mm (2.740 in)
        • Standard bearing thickness 3.88 mm (0.1528 in), inside diameter - 53.6 mm (2.110 in)
        • Standard bearing thickness 3.88 mm (0.1528 in), outside diameter - 70.18 mm (2.768 in)

    Object Number: 2013507  Size: SH
  196. Install new governor apply gaskets (1, 2).

  197. Object Number: 2013791  Size: SH
  198. Install the clamp to the front clutch apply tube.
  199. Install the clamp to the brake apply tube.

  200. Object Number: 2013506  Size: SH
  201. Install the apply tubes to the transaxle with the bolt and tighten to 5 N·m (44 lb in).

  202. Object Number: 2013500  Size: SH
  203. Install new O-rings to the plugs.
  204. Install the plugs to the transaxle rear cover and tighten to 7 N·m (62 lb in).

  205. Object Number: 2013794  Size: SH

    Note: 

       • Face the inscribed mark side of the bearing race up.
       • Repeat the press-fit until the specified value is obtained.

  206. Using a press, press in the bearing.
  207. Specification
    Standard depth - 12.05-12.75 mm (0.4744-0.5020 in) (a)

  208. Apply Three Bond 1281 sealant, or equivalent, to the bolts.

  209. Object Number: 2013503  Size: SH
  210. Install the transaxle rear cover plate with the bolts and tighten to 8 N·m (71 lb in).

  211. Object Number: 2013502  Size: SH
  212. Coat the new oil seal rings with ATF WS, and install them to the transaxle rear cover.

  213. Object Number: 2013795  Size: SH
  214. Remove any sealant and be careful not to get oil on the contacting surfaces of the transaxle rear cover or the transaxle.
  215. Apply Three Bond 1281 sealant, or equivalent, to the cover.
  216. Coat the needle roller bearing with ATF WS.

  217. Object Number: 2013797  Size: SH
  218. Apply Three Bond 1281 sealant, or equivalent, to the threads of the bolts labeled (1).
  219. Install the bolts and tighten.
  220. • bolt 1 to 19 N·m (14 lb ft)
    • other bolts to 25 N·m (18 lb ft)

    Object Number: 2013799  Size: SH

    Note: 

       • P = Plate (2)
       • D = Disc (1)

  221. Install the discs and plates to the transaxle.
  222. Make sure you install in order -- P-D-P-D-P-D

  223. Using a screwdriver, install the snap ring.

  224. Object Number: 2013800  Size: SH
  225. Using a dial indicator, measure the underdrive brake pack clearance while applying and releasing compressed air.
  226. Specification
    Standard pack clearance - 1.59-2.20 mm (0.0626- 0.0866 in)

  227. Select an appropriate flange so that it will meet the specified value. Refer to Transmission General Specifications for standard flange thickness D.
  228. Temporarily remove the snap ring and attach the flange. Restore the snap ring.

  229. Object Number: 2013495  Size: SH
  230. Install the outer race retainer to the 1-way clutch.

  231. Object Number: 2013494  Size: SH

    Note: Make sure that the mark on the 1-way clutch outer race is visible.

  232. Install the 1-way clutch to the transaxle.

  233. Object Number: 2013492  Size: SH
  234. Using a screwdriver, install the snap ring to the transaxle.

  235. Object Number: 2013801  Size: SH
  236. Coat the underdrive clutch piston with ATF WS, and install it to the underdrive clutch piston drum.

  237. Object Number: 2013802  Size: SH
  238. Install the piston return spring to the underdrive clutch drum.

  239. Object Number: 2013804  Size: SH
  240. Install the clutch balancer to the underdrive clutch drum.

  241. Object Number: 2013482  Size: SH
  242. Compress the piston return spring with a press (1).
  243. Note: Be sure the end gap of the snap ring is not aligned with the clutch balancer claw.

  244. Using a snap ring expander, install the snap ring to the underdrive clutch drum.

  245. Object Number: 2013808  Size: SH

    Note: The end gap of the snap ring should not coincide with any of the stopper (1).

  246. Set the end gap of the snap ring (1) in the underdrive clutch drum.

  247. Object Number: 2013481  Size: SH
  248. Coat the new O-ring with ATF WS, and install it to the underdrive clutch drum.

  249. Object Number: 2013809  Size: SH

    Note: 

       • P = Plate (3)
       • D = Disc (2)
       • F = Flange (1)

  250. Install the plates, discs and flange to the underdrive clutch drum.
  251. Make sure you install in order -- P-D-P-D-P-D-F


    Object Number: 2013474  Size: SH
  252. Using a screwdriver, install the underdrive clutch flange hole snap ring.
  253. Check that the end gap of the snap ring is not aligned with one of the cutouts.

  254. Object Number: 2013715  Size: SH
  255. Install the underdrive clutch to the transaxle.

  256. Object Number: 2013811  Size: SH
  257. Using a dial indicator, measure the underdrive clutch piston stroke while applying (1) and releasing compressed air.
  258. Specification
    Standard pack clearance - 1.51-1.90 mm (0.0594- 0.0748 in)

  259. If the pack clearance is less than the minimum, parts may have been assembled incorrectly, so check and reassemble again.
  260. There are three flanges in different thickness. Refer to Transmission General Specifications for standard flange thickness D.


    Object Number: 2013473  Size: SH
  261. Coat the bearing and bearing race with petroleum jelly, and install them onto the underdrive clutch.
  262. Specification

        • Standard inside bearing diameter - 37.73 mm (1.4854 in)
        • Standard outside bearing diameter - 58.0 mm (2.283 in)
        • Standard inside race diameter - 29.9 mm (1.177 in)
        • Standard outside race diameter - 55.5 mm (2.185 in)
  263. Install the underdrive clutch to the transaxle.

  264. Object Number: 2013813  Size: SH
  265. Install a new snap ring (1) on the outer race of the angular roller bearing.
  266. If replacing the bearing, also replace the counter driven gear.


    Object Number: 2013814  Size: SH
  267. Using a piston ring compressor, squeeze the snap ring.

  268. Object Number: 2013815  Size: SH
  269. Using a press (1), press in the outer race of the ball bearing.

  270. Object Number: 2013471  Size: SH
  271. Install the underdrive planetary ring gear (1) to the counter driven gear (2).

  272. Object Number: 2013817  Size: SH
  273. Using snap ring pliers, install the snap ring (1).

  274. Object Number: 2013818  Size: SH
  275. Using a press (1), press the angular ball bearing inner race (rear side) into the underdrive planetary gear.

  276. Object Number: 2013820  Size: SH
  277. Install the counter driven gear with planetary ring gear to the underdrive planetary gear.

  278. Object Number: 2013821  Size: SH

    Note: Press in the counter driven gear while rotating it.

  279. Using a press, press in the angular ball bearing inner race (front side).

  280. Object Number: 2013823  Size: SH

    Note: Press the counter driven gear while rotating it.

  281. Using a press (1), press in the parking lock gear.

  282. Object Number: 2013827  Size: SH

    Note: Press the counter driven gear while rotating it.

  283. Using a press (1), press in the differential drive pinion.

  284. Object Number: 2013828  Size: SH

    Note: Press in the counter driven gear while rotating it.

  285. Using a press (1), press in the cylindrical roller bearing inner race.

  286. Object Number: 2013463  Size: SH

    Note: Be careful not to damage the differential drive pinion.

  287. Clamp the underdrive planetary gear (1) in a soft jaw vise.
  288. Install a new lock nut and tighten to 280 N·m (207 lb ft).

  289. Object Number: 2013830  Size: SH
  290. Using a pin punch and a hammer, stake the lock nut.

  291. Object Number: 2013834  Size: SH
  292. Install the pawl pin and spring to the parking lock pawl.

  293. Object Number: 2013835  Size: SH
  294. Hand tighten the parking lock pawl (1), shaft and spring to the transaxle case.

  295. Object Number: 2013444  Size: SH

    Note: Engage all the discs of underdrive clutch and the hub splines of the underdrive planetary gear firmly and assemble them securely.

  296. Install the underdrive planetary gear to the transaxle.

  297. Object Number: 2013837  Size: SH
  298. Install the parking lock pawl shaft (1).

  299. Object Number: 2013381  Size: SH
  300. Install the pawl shaft clamp with the bolt and tighten to 10 N·m (89 lb in).

  301. Object Number: 2013840  Size: SH

    Note: Make a note of dimension E as it is necessary for the following process.

  302. Using a straightedge and vernier calipers, measure the gap between the top of the differential drive pinion in the underdrive planetary gear and contact surface of the transaxle and housing (Dimension E).

  303. Object Number: 2013842  Size: SH

    Note: Make a note of dimension E as it is necessary for the following process.

  304. Measure two places on the transaxle housing. Calculate the dimension E using the formula.
  305. Dimension E = Dimension A - Dimension B


    Object Number: 2013843  Size: SH
  306. Install the bearing race to the transaxle while checking its direction.
  307. Specification

        • Standard inside bearing race diameter - 34.5 mm (1.358 in)
        • Standard outside bearing race diameter - 48.5 mm (1.909 in)

    Object Number: 2013844  Size: SH
  308. Coat the thrust bearing and race with petroleum jelly, and install them onto the multiple disc clutch hub.
  309. Specification

        • Standard inside thrust bearing diameter - 36.3 mm (1.429 in)
        • Standard outside thrust bearing diameter - 52.2 mm (2.055 in)

    Object Number: 2013847  Size: SH
  310. Install the bearing to the multiple clutch hub.
  311. Specification

        • Standard inside bearing diameter - 23.5 mm (0.925 in)
        • Standard outside bearing diameter - 44.0 mm (1.732 in)
  312. Install the forward clutch hub to the transaxle.

  313. Object Number: 2013850  Size: SH
  314. Compress the oil seal ring from both sides to reduce dimension A.
  315. Specification
    Standard A dimension - 5 mm (0.197 in)

  316. Coat the oil seal ring with ATF WS and install it to the input shaft.

  317. Object Number: 2013851  Size: SH
  318. Coat the new O-rings (1) with ATF WS, and install them on the forward clutch piston.

  319. Object Number: 2013853  Size: SH
  320. Install the forward clutch piston on the forward clutch drum.

  321. Object Number: 2013854  Size: SH
  322. Place the return spring onto the piston.

  323. Object Number: 2013362  Size: SH
  324. Compress the return spring with a press (1).
  325. Install the snap ring with a snap ring expander. Be sure the end gap of the snap ring is not aligned with the spring retainer claw.

  326. Object Number: 2013857  Size: SH

    Note: The end gap of the snap ring should not coincide with any of the stoppers (1).

  327. Set the end gap of the snap ring in the piston.

  328. Object Number: 2013859  Size: SH

    Note: 

       • P = Plate (2)
       • D = Disc (3)
       • F = Flange (1)

  329. Install the plates, discs and flange.
  330. Make sure you install in order -- P-D-P-D-P-D-P-D-P-D-F


    Object Number: 2013353  Size: SH
  331. Using a screwdriver, install the snap ring.
  332. Check that the end gap of the snap ring is not aligned with one of the cutouts.

  333. Object Number: 2013705  Size: SH
  334. Install the forward clutch on the oil pump.
  335. Using a dial indicator, measure the forward clutch piston stroke while applying and releasing compressed air (1).
  336. Specification
    Standard piston stroke - 1.74-2.08 mm (0.0685-0.0819 in)

  337. If the piston stroke is less than the minimum, parts may have been assembled incorrectly. Check and reassemble again. If the clearance is not as specified, select another flange. Refer to Transmission General Specifications for standard flange thickness E.

  338. Object Number: 2013862  Size: SH

    Note: Do not place the forward clutch in a vise.

  339. Inspect the clutch disc rotation.
  340. After inserting the multiple disc clutch into the multiple disc clutch hub, rotate the forward clutch and check that the disc lightly rotates.


    Object Number: 2013864  Size: SH

    Note: Install the thrust bearing properly so that the race (1) will be visible.

  341. Install the thrust bearing to the forward clutch.
  342. Specification

        • Standard inside bearing diameter - 33.85 mm (1.3327 in)
        • Standard outside bearing diameter - 52.2 mm (2.055 in)

    Object Number: 2013350  Size: SH

    Note: Align the splines of all discs in the forward clutch with those of multiple clutch hub to assemble them securely.

  343. Install the forward clutch to the multiple clutch hub.

  344. Object Number: 2013348  Size: SH
  345. Install new overdrive brake gaskets.

  346. Object Number: 2013346  Size: SH
  347. Install the differential gear to the transaxle.

  348. Object Number: 2013342  Size: SH
  349. Install the thrust bearing race to the underdrive planetary gear.

  350. Object Number: 2013340  Size: SH
  351. Calculate the end play value using the following formula and values of Dimensions D and E that were measured when installing cylindrical roller bearing and underdrive planetary gear.
  352. Specification
    End Play - 0.498-0.993 mm (0.0196-0.039 in)

  353. End play = Dimension E - Dimension D - thrust bearing thickness 3.28 mm (0.1291 in) - underdrive thrust bearing race thickness.
  354. Specification

        • End play formula value less than 7.64 mm (0.3008 in)-3.5 mm (0.138 in)
        • End play formula value 7.64 mm (0.3008 in)-3.8 mm (0.150 in)
  355. Select an appropriate underdrive planetary gear thrust bearing race No. 2 which satisfies the specified end play value, then install it.
  356. Specification

        • Standard inside bearing diameter - 57.2 mm (2.252 in)
        • Standard outside bearing diameter - 84.96 mm (3.3449 in)
        • Standard inside bearing race diameter - 56.4 mm (2.22 in)
        • Standard outside bearing race diameter - 83.0 mm (3.268 in)

    Object Number: 2013868  Size: SH
  357. Install the oil pump to the transaxle with the bolts and tighten to 22 N·m (16 lb ft).

  358. Object Number: 2013870  Size: SH
  359. Coat the O-ring of the oil pump with ATF WS.

  360. Object Number: 2013872  Size: SH
  361. Remove any sealant and be careful not to get oil on the contacting surface of the transaxle housing.
  362. Apply Three Bond 1281 sealant (1), or equivalent, to the transaxle.

  363. Object Number: 2151797  Size: SH

    Note: Because the bolt labeled four are seal bolts, Apply Three Bond 1281 sealant (1), or equivalent, to new bolts and tighten them within 10 minutes after application.

  364. Install the transaxle housing to the transaxle with the bolts and tighten. Refer to Transmission General Specifications for bolt length B.
  365. • Bolts 1 and 2 to 29 N·m (22 lb ft)
    • Bolts 3 and 4 to 22 N·m (16 lb ft)
    • Bolt 5 to 10 N·m (89 lb in)

    Object Number: 2013337  Size: SH
  366. Install new O-rings to the plugs.
  367. Install the plugs to the transaxle housing and tighten to 7 N·m (62 lb in).

  368. Object Number: 2013875  Size: SH
  369. Support the automatic transaxle assembly.

  370. Object Number: 2013877  Size: SH
  371. Coat a new oil seal with ATF WS.
  372. Install the oil seal to the transaxle.

  373. Object Number: 2013333  Size: SH
  374. Install the parking lock rod to the manual valve lever.

  375. Object Number: 2013332  Size: SH
  376. Install a new spacer and manual valve lever shaft to the transaxle.

  377. Object Number: 2013331  Size: SH
  378. Using a pin punch and hammer, tap in a new pin.

  379. Object Number: 2013881  Size: SH
  380. Turn the spacer and lever shaft to align the small hole for locating the staking position mark on the lever shaft.
  381. Using a pin punch, stake the spacer through the small hole.
  382. Check that the spacer does not turn.

  383. Object Number: 2013306  Size: SH
  384. Using needle-nose pliers, install the retainer spring.

  385. Object Number: 2013883  Size: SH
  386. Install the parking lock pawl bracket with the bolts and tighten to 20 N·m (15 lb ft).

  387. Object Number: 2013885  Size: SH

    Note: Make sure to install the manual detent spring and cover in this order.

  388. Install the manual detent spring with the bolts (1, 2) and tighten. Refer to Transmission General Specifications for bolt length C.
  389. • Bolt (1) to 20 N·m (16 lb ft)
    • Bolt (2) to 12 N·m (106 lb in)

    Object Number: 2013300  Size: SH
  390. Coat a new O-ring (1) with ATF WS, and install it to the B-3 accumulator piston.

  391. Object Number: 2013887  Size: SH
  392. Coat the piston with ATF WS, install it to the transaxle.
  393. Specification

        • Accumulator Spring - B-3 Inner
        • Free Length/Outer Diameter - 15.9-60.24 mm (0.626-2.3716 in)
        • Color - yellowish/green
        • Accumulator Spring - B-3 Outer
        • Free Length/Outer Diameter - 21.7-74.61 mm (0.854-2.9374 in)
        • Color - blue

    Object Number: 2013296  Size: SH
  394. Coat the new O-rings (1, 2) with ATF WS, and install them to the C-1 accumulator piston.

  395. Object Number: 2155076  Size: SH
  396. Install the spring (1) to the transaxle.
  397. Coat the piston with ATF WS, and install it to the transaxle.
  398. Specification

        • Accumulator Spring - C-1
        • Free Length/Outer Diameter - 18.5-81.53 mm (0.728-3.2098 in)
        • Color - pink

    Object Number: 2013294  Size: SH
  399. Coat a new O-ring (1) with ATF WS, and install it to the C-3 accumulator piston.

  400. Object Number: 2013891  Size: SH
  401. Coat the piston with ATF WS, install it to the transaxle case.
  402. Specification

        • Accumulator Spring - C-3
        • Free Length/Outer Diameter - 19.2-90.49 mm (0.756-3.5626 in)
        • Color - white

    Object Number: 2013281  Size: SH
  403. Install the spring from the C-3 accumulator piston.

  404. Object Number: 2013280  Size: SH
  405. Install the check ball body and spring.

  406. Object Number: 2013279  Size: SH
  407. Coat a new brake drum gasket (1) with ATF WS, and install it to the transaxle.

  408. Object Number: 2013277  Size: SH
  409. Coat a new transaxle case 2nd brake gasket (1) with ATF WS, and install it to the transaxle.

  410. Object Number: 2013276  Size: SH
  411. Coat a new governor apply gasket No. 1 (1) with ATF WS, and install it to the transaxle.

  412. Object Number: 2013905  Size: SH
  413. Coat a new O-ring with ATF WS, and install it to the transaxle solenoid wire.

  414. Object Number: 2013908  Size: SH
  415. Install the solenoid wire retaining bolt (1), and tighten to 5 N·m (44 lb in).

  416. Object Number: 2013045  Size: SH
  417. Align the groove of the manual valve with the pin of lever.
  418. Note: Push the valve body against the accumulator piston spring and the check ball body to install it.

  419. Install the bolts (1-3) and tighten to 11 N·m (978 lb in). Refer to Transmission General Specifications for bolt length A.

  420. Object Number: 2012982  Size: SH
  421. Connect the solenoid connectors.
  422. Coat the O-ring of the temperature sensor with ATF WS.
  423. Install the ATF temperature sensor with the lock plate (1) and bolt and tighten to 7 N·m (62 lb in).

  424. Object Number: 2013270  Size: SH
  425. Coat a new O-ring with ATF WS.
  426. Install the O-ring (1) to the oil strainer.

  427. Object Number: 2012977  Size: SH
  428. Install the oil strainer with the bolts (1) and tighten to 11 N·m (97 lb in).

  429. Object Number: 2013911  Size: SH
  430. Install the magnets in the oil pan.
  431. Install a new oil pan gasket to the oil pan.

  432. Object Number: 2013265  Size: SH

    Note: Because the bolts are seal bolts, apply Three Bond 1281 sealant, or equivalent, to new bolts and tighten them within 10 minutes after application.

  433. Install the oil pan to the transaxle with the bolts and tighten to 8 N·m (71 lb in).

  434. Object Number: 2013264  Size: SH
  435. Coat the new O-rings with ATF WS, and install them to the 4 plugs.
  436. Install the 4 plugs to the transaxle case and tighten to 7 N·m (62 lb in).

  437. Object Number: 2013262  Size: SH
  438. Coat the new O-rings with ATF WS, and install them to the speed sensors.
  439. Install the speed sensors with the bolts and tighten to 11 N·m (97 lb in).

  440. Object Number: 2013259  Size: SH
  441. Coat a new O-ring with ATF WS, and install it to the oil cooler inlet tube union.
  442. Install the union to the transaxle and tighten to 27 N·m (20 lb ft).

  443. Object Number: 2013258  Size: SH
  444. Coat a new O-ring with ATF WS, and install it to the oil cooler outlet tube union.
  445. Install the union to the transaxle and tighten to 25 N·m (18 lb ft).
  446. Install the breather plug hose.

  447. Object Number: 2013257  Size: SH
  448. Install the park/neutral position switch to the manual valve shaft.
  449. Hand tighten the bolts (1, 2).
  450. Install a new lock plate and tighten the manual valve shaft nut to 5 N·m (44 lb in).

  451. Object Number: 2013914  Size: SH
  452. Hand tighten the control shaft lever.

  453. Object Number: 2013915  Size: SH
  454. Turn the lever counterclockwise until it stops, and then turn it clockwise two notches.
  455. Remove the control shaft lever.

  456. Object Number: 2013918  Size: SH
  457. Align the groove with neutral basic line.
  458. Hold the switch in this position and tighten the bolts to 7 N·m (62 lb in).

  459. Object Number: 2013256  Size: SH
  460. Using a screwdriver, stake the nut with the lock plate.

  461. Object Number: 2013254  Size: SH
  462. Install the control shaft lever with the washer and nut (1) and tighten to 13 N·m (115 lb in).