GM Service Manual Online
For 1990-2009 cars only

Special Tools

DT-49190 Counter Gear Nut Wrench


    Object Number: 2012114  Size: SH
  1. Remove the bolt (1) and speedometer driven hole cover sub-assembly from the transaxle housing.
  2. Remove the O-ring from the speedometer driven hole cover sub-assembly.

  3. Object Number: 2012165  Size: SH
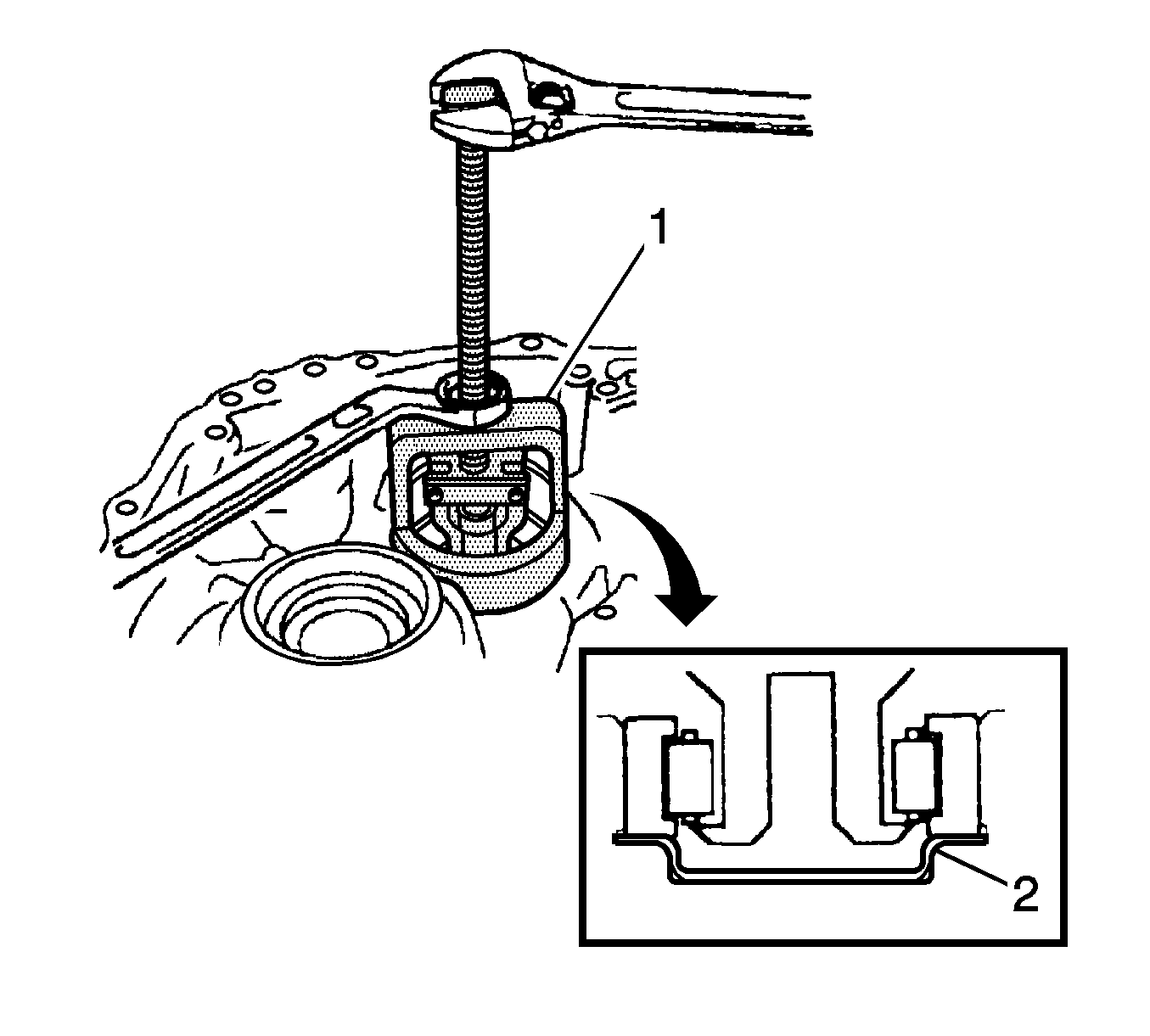
  4. Remove the nut and washer and remove the control shaft lever (1).

  5. Object Number: 2011852  Size: SH
  6. Using a screwdriver, pry out the lock plate and remove the manual valve shaft nut (1).

  7. Object Number: 2011855  Size: SH
  8. Remove the bolts (1, 2) and pull out the park/neutral position switch assembly.

  9. Object Number: 2012189  Size: SH
  10. Remove the bolt and remove the speed sensor from the transaxle case.

  11. Object Number: 2012196  Size: SH
  12. Remove the oil cooler tube unions from the transaxle case.
  13. Remove the O-rings from the oil cooler tube unions.

  14. Object Number: 2012197  Size: SH
  15. Remove the No. 1 transaxle case plugs (1-4) from the transaxle housing and transaxle case.

  16. Object Number: 2012198  Size: SH
  17. Remove the No. 1 transaxle case plug (1) from the transaxle case.
  18. Remove the O-rings from the No. 1 transaxle case plugs.

  19. Object Number: 2012199  Size: SH
  20. Remove the breather plug hose from the breather plug.
  21. Remove the breather plug from the transaxle case.

  22. Object Number: 2012201  Size: SH
  23. Place the transaxle onto wooden blocks.

  24. Object Number: 2011819  Size: SH
  25. Remove the bolts and remove the oil pan and oil pan gasket.

  26. Object Number: 2011820  Size: SH
  27. Remove the oil cleaner magnets (1) from the oil pan.
  28. Examine the particles in the oil pan.
  29. • Collect any steel chips with the removed magnets.
    • Carefully look at the foreign matter and particles in the oil pan and on the magnets to predict the type of wear which might be found in the transaxle.
       - Steel (magnetic): bearing, gear and clutch plate wear
       - Brass (non-magnetic): bearing wear

    Object Number: 2011822  Size: SH
  30. Remove the bolts (1) and remove the oil strainer assembly.

  31. Object Number: 2011824  Size: SH
  32. Remove the oil strainer gasket (1) from the oil strainer assembly.

  33. Object Number: 2012204  Size: SH
  34. Disconnect the solenoid connectors.
  35. Remove the bolt (7) and lock plate and remove the ATF temperature sensor.

  36. Object Number: 2011826  Size: SH
  37. Remove the bolts (3) and remove the detent spring cover and detent spring (1).

  38. Object Number: 2011827  Size: SH
  39. Remove the bolts (1) and the valve body assembly from the transaxle case.

  40. Object Number: 2011805  Size: SH
  41. Remove the bolt and the transmission wire (1) from the transaxle case.

  42. Object Number: 2011806  Size: SH
  43. Remove the O-ring (1) from the transmission wire.

  44. Object Number: 2012205  Size: SH
  45. Remove the transaxle case 2nd brake gasket (1) from the transaxle case.

  46. Object Number: 2012208  Size: SH
  47. Remove the transaxle case gasket (1) from the transaxle case.

  48. Object Number: 2012209  Size: SH
  49. Remove the brake drum gasket from the transaxle case.

  50. Object Number: 2012211  Size: SH
  51. Remove the check ball body and spring from the transaxle case.

  52. Object Number: 2012213  Size: SH

    Note: 

       • Blowing air may cause the piston to jump out. When removing the piston, hold it by hand using a shop rag or piece of cloth.
       • Do not splash ATF with compressed air.

  53. Apply compressed air to the oil hole (1) and remove the B-2 accumulator piston and spring.

  54. Object Number: 2012215  Size: SH
  55. Remove the O-rings (1, 2) from the B-2 accumulator piston.

  56. Object Number: 2012219  Size: SH

    Note: 

       • Blowing air may cause the piston to jump out. When removing the piston, hold it by hand using a shop rag or piece of cloth.
       • Do not splash ATF with compressed air.

  57. Apply compressed air to the oil hole (1) and remove the C-3 accumulator piston and spring.

  58. Object Number: 2012220  Size: SH
  59. Remove the O-rings (1) from the C-3 accumulator piston.

  60. Object Number: 2012224  Size: SH

    Note: 

       • Blowing air may cause the piston to jump out. When removing the piston, hold it by hand using a shop rag or piece of cloth.
       • Do not splash ATF with compressed air.

  61. Apply compressed air to the oil hole (1) and remove the C-2 accumulator piston and spring.

  62. Object Number: 2012226  Size: SH
  63. Remove the O-rings (1) from the C-2 accumulator piston.

  64. Object Number: 2012229  Size: SH
  65. Remove the bolts (1 14).
  66. Note: The differential gear assembly may be accidentally removed when the transaxle housing is removed.

  67. Tap around the circumference of the transaxle housing with a plastic hammer to remove the transaxle housing from the transaxle case.
  68. Inspect the input shaft end play.

  69. Object Number: 2012235  Size: SH
  70. Measure the end play in the axial direction.
  71. Specification
    End Play - 0.38 to 1.29 mm (0.0149 to 0.0507 in)

  72. If the end play is not as specified, replace the stator shaft thrust needle roller bearing and the forward clutch hub thrust needle roller bearing.

  73. Object Number: 2012237  Size: SH
  74. Remove the bolts and the oil pump assembly from the transaxle case.

  75. Object Number: 2012238  Size: SH
  76. Remove the differential gear assembly from the transaxle case.

  77. Object Number: 2012240  Size: SH
  78. Using a screwdriver, remove the overdrive brake gaskets (1, 2) from the transaxle case.

  79. Object Number: 2012242  Size: SH
  80. Remove the input shaft assembly from the transaxle case.

  81. Object Number: 2012247  Size: SH
  82. Remove the stator shaft thrust needle roller bearing from the input shaft.

  83. Object Number: 2012249  Size: SH
  84. Using a screwdriver, remove the snap ring.
  85. Remove the flange, discs and plates from the input shaft.

  86. Object Number: 2012255  Size: SH

    Note: Do not compress the return spring excessively.

  87. Compress the return spring with a press (1).
  88. Using a snap ring expander, remove the snap ring.

  89. Object Number: 2012257  Size: SH
  90. Remove the clutch balancer and piston return spring.

  91. Object Number: 2012259  Size: SH
  92. Place the input shaft onto the oil pump.
  93. Note: If the piston cannot be removed because it is tilted, either apply compressed air again while keeping the piston level or remove the piston using needle-nose pliers with their tips wrapped in protective tape.

  94. Holding the forward clutch piston by hand, apply compressed air to the oil pump to remove the forward clutch piston.

  95. Object Number: 2012264  Size: SH
  96. Using a screwdriver, remove the clutch piston ring (1) from the forward clutch piston.

  97. Object Number: 2012266  Size: SH
  98. Using a screwdriver, remove the input shaft oil seal ring from the input shaft.

  99. Object Number: 2012268  Size: SH
  100. Remove the forward clutch hub thrust needle roller bearing from the forward clutch hub.

  101. Object Number: 2012271  Size: SH
  102. Inspect the intermediate shaft assembly.
  103. Using a dial indicator, measure the intermediate shaft end play.
  104. End Play
    0.21 to 0.96 mm (0.0082 to 0.0377 in)

  105. If the end play is not as specified, select and replace the rear clutch drum thrust needle roller bearing.

  106. Object Number: 2012272  Size: SH
  107. Remove the forward clutch hub from the transaxle case.

  108. Object Number: 2012279  Size: SH
  109. Remove the bolts.
  110. Tap around the circumference of the rear transaxle cover with a plastic hammer to remove the rear transaxle cover from the transaxle case.

  111. Object Number: 2012281  Size: SH
  112. Remove the rear transaxle cover plugs from the rear transaxle cover.
  113. Using a screwdriver, remove the O-rings from the rear transaxle cover plugs.

  114. Object Number: 2012282  Size: SH

    Note: Stop pressing when the overdrive brake piston is 1-2 mm (0.0394-0.0787 in) from the snap ring groove to prevent the overdrive brake piston from being deformed.

  115. Using a press and a screwdriver remove the snap ring.
  116. Remove the overdrive brake return spring from the rear transaxle cover.

  117. Object Number: 2012284  Size: SH

    Note: 

       • Blowing air may cause the piston to jump out. When removing the piston, hold it by hand using a shop rag or piece of cloth.
       • Do not splash ATF with compressed air.

  118. Apply compressed air to the rear transaxle cover to remove the overdrive brake piston.

  119. Object Number: 2012290  Size: SH
  120. Using a screwdriver, remove the O-rings (1, 2) from the 2nd coast and overdrive brake piston.

  121. Object Number: 2012303  Size: SH
  122. Remove the clutch drum oil seal ring.
  123. Remove the oil seal rings (1) from the rear transaxle cover.

  124. Object Number: 2012293  Size: SH
  125. Using the puller (1) remove the bearing from the rear transaxle cover.

  126. Object Number: 2012306  Size: SH
  127. Remove the transaxle case gaskets.

  128. Object Number: 2012308  Size: SH
  129. Using a magnetic pick-up tool, remove the rear clutch drum thrust needle roller bearing.

  130. Object Number: 2012315  Size: SH
  131. Remove the intermediate shaft assembly from the transaxle case.
  132. Remove the reverse clutch disc.

  133. Object Number: 2012316  Size: SH
  134. Using a screwdriver, remove the snap ring.
  135. Remove the flange, discs and plates.

  136. Object Number: 2012320  Size: SH
  137. Using a screwdriver, remove the snap ring.
  138. Remove the direct clutch flange, plates and rear clutch flanges.

  139. Object Number: 2012321  Size: SH
  140. Using a press (1), remove the snap ring.
  141. Remove the direct clutch return spring sub-assembly from the intermediate shaft.

  142. Object Number: 2012323  Size: SH
  143. Install the intermediate shaft onto the rear transaxle cover.
  144. Note: 

       • Blowing air may cause the piston to jump out. When removing the piston, hold it by hand using a shop rag or piece of cloth.
       • Do not splash ATF with compressed air.

  145. Apply compressed air to the oil hole and remove the direct clutch piston from the intermediate shaft.

  146. Object Number: 2012327  Size: SH
  147. Install the intermediate shaft onto the rear transaxle cover.
  148. Put a matchmark on the direct clutch drum in the same position as the cutout of the intermediate shaft assembly.
  149. Note: 

       • Blowing air may cause the drum to jump out. When removing the drum, hold it by hand using a shop rag or piece of cloth.
       • Do not splash ATF with compressed air.

  150. Apply compressed air to the oil hole and remove the direct clutch drum from the intermediate shaft.

  151. Object Number: 2012328  Size: SH
  152. Using a screwdriver, remove the piston O-rings (1) from the direct clutch piston.

  153. Object Number: 2012330  Size: SH
  154. Using a screwdriver, remove the direct clutch drum O-ring (1) from the direct clutch drum.

  155. Object Number: 2012332  Size: SH
  156. Remove the flange, discs and No. 2 flanges from the transaxle.

  157. Object Number: 2012335  Size: SH
  158. Using a magnetic pick-up tool, remove the C-2 hub thrust bearing race, the thrust needle roller bearing and the No. 3 thrust bearing race from the direct clutch hub.

  159. Object Number: 2012337  Size: SH
  160. Remove the direct clutch hub from the transaxle case.

  161. Object Number: 2012338  Size: SH
  162. Using a magnetic pick-up tool, remove the rear No. 2 planetary sun gear thrust needle roller bearing from the rear planetary sun gear assembly.

  163. Object Number: 2012339  Size: SH
  164. Remove the rear planetary sun gear from the transaxle case.

  165. Object Number: 2012341  Size: SH
  166. Remove the rear planetary sun gear thrust needle roller bearing and No. 1 planetary carrier thrust washer from the one-way clutch assembly.
  167. Inspect the one-way clutch assembly.

  168. Object Number: 2012344  Size: SH
  169. Hold the rear planetary sun gear and turn the one-way clutch.
  170. Make sure that the one-way clutch turns freely counterclockwise and locks when turned clockwise.

  171. Object Number: 2012345  Size: SH
  172. Remove the one-way clutch assembly and No. 2 planetary carrier thrust washer from the rear planetary sun gear.

  173. Object Number: 2012346  Size: SH
  174. Using a screwdriver, remove the snap rings (1).
  175. Remove the flanges, discs and flanges from the transaxle.

  176. Object Number: 2012347  Size: SH
  177. Remove the 2nd brake piston sleeve from the transaxle case.
  178. Inspect the No. 2 one-way clutch.

  179. Object Number: 2012349  Size: SH
  180. Turn the rear planetary gear assembly.
  181. Make sure that the rear planetary gear assembly (1) turns freely counterclockwise and locks when turned clockwise.

  182. Object Number: 2012350  Size: SH
  183. Using a screwdriver, remove the snap ring.
  184. Remove the rear planetary gear assembly from the transaxle case.

  185. Object Number: 2012351  Size: SH
  186. Remove the thrust needle roller bearing and bearing races from the rear planetary gear assembly.

  187. Object Number: 2012352  Size: SH
  188. Remove the No. 2 one-way clutch.
  189. Separate the 2nd brake assembly, No. 2 one-way clutch and the rear planetary gear.

  190. Object Number: 2012353  Size: SH
  191. Remove the outer race retainer.
  192. Remove the retainer from the No. 2 one-way clutch (1).

  193. Object Number: 2012354  Size: SH
  194. Remove the 2nd brake piston return spring sub-assembly.
  195. Using a press (1), remove the snap ring from the 2nd brake piston.
  196. Remove the 2nd brake return spring from the 2nd brake cylinder.

  197. Object Number: 2012355  Size: SH
  198. Remove the 2nd brake piston return spring subassembly from the 2nd brake cylinder.

  199. Object Number: 2012356  Size: SH
  200. Hold the 2nd brake piston and apply compressed air to the 2nd brake cylinder to remove the 2nd brake piston.

  201. Object Number: 2012357  Size: SH
  202. Using a screwdriver, remove the O-rings from the 2nd brake cylinder.

  203. Object Number: 2012358  Size: SH
  204. Remove the front planetary sun gear and thrust needle roller bearing from the transaxle case.

  205. Object Number: 2012359  Size: SH
  206. Using a screwdriver, remove the snap ring.
  207. Remove the flange, discs and plates from the transaxle case.

  208. Object Number: 2012362  Size: SH
  209. Using a press and a screwdriver, remove the snap ring.
  210. Remove the 1st and reverse brake return spring sub-assembly.

  211. Object Number: 2012364  Size: SH
  212. Remove the No. 2 1st and reverse brake piston
  213. Note: 

       • Blowing air may cause the piston to jump out. When removing the piston, hold it by hand using a shop rag or piece of cloth.
       • Do not splash ATF with compressed air.

  214. Apply compressed air to the transaxle case to remove the No. 2 1st and reverse brake piston.

  215. Object Number: 2012365  Size: SH
  216. Remove the O-rings (1) from the No. 2 1st and reverse brake piston.

  217. Object Number: 2012367  Size: SH
  218. Secure the counter driven gear with the parking lock pawl.

  219. Object Number: 2012368  Size: SH
  220. Using a chisel (1) and a hammer, release the lock nut washer.

  221. Object Number: 2012371  Size: SH
  222. Using DT-49190 Counter Gear Nut Wrench  (1) , remove the nut and lock nut washer.

  223. Object Number: 2012373  Size: SH
  224. Using a press (1), remove the planetary gear assembly from the transaxle case.

  225. Object Number: 2012374  Size: SH
  226. Install the bolts to the counter drive gear.
  227. Specification

        • Bolt (M6) Length - 40 to 80 mm (1.57 to 3.15 in)
        • Bolt (M6) Pitch - 1.0 mm (0.04 in)
  228. Rotate the bolts and remove the counter drive gear and front planetary sun gear.
  229. Remove the radial ball bearings from the counter drive gear and front planetary sun gear.

  230. Object Number: 2012376  Size: SH
  231. Remove the bolts, cam guide and parking lock pawl bracket from the transaxle case.

  232. Object Number: 2012378  Size: SH
  233. Remove the manual valve lever shaft retainer spring from the manual valve lever shaft.

  234. Object Number: 2012381  Size: SH
  235. Using a screwdriver, release and remove the spacer.

  236. Object Number: 2012384  Size: SH
  237. Using a pin punch and hammer, drive out the manual valve lever shaft spring pin.
  238. Remove the manual valve lever shaft and manual valve lever.

  239. Object Number: 2012385  Size: SH
  240. Remove the parking lock rod from the manual valve lever.

  241. Object Number: 2012393  Size: SH
  242. Remove the manual valve lever shaft from the transaxle case.

  243. Object Number: 2012397  Size: SH
  244. Using a screwdriver, remove the parking lock pawl shaft from the transaxle case.
  245. Remove the parking lock pawl torsion spring (1) and parking lock pawl from the transaxle case.

  246. Object Number: 2012400  Size: SH
  247. Remove the counter driven gear, drive pinion and thrust needle roller bearing from the transaxle case.

  248. Object Number: 2012405  Size: SH
  249. Using a brass bar and a hammer, remove the differential drive pinion plug.

  250. Object Number: 2012406  Size: SH
  251. Using a press (1), remove the differential drive pinion from the counter driven gear.

  252. Object Number: 2012409  Size: SH
  253. Remove the bolt (1) and the bearing lock plate.

  254. Object Number: 2012410  Size: SH
  255. Remove the differential gear lube apply tube (1) from the transaxle housing.

  256. Object Number: 2012412  Size: SH
  257. Using a puller (1), remove the front drive pinion front tapered roller bearing from the transaxle housing.

  258. Object Number: 2012413  Size: SH
  259. Using a puller (1), remove the front drive pinion rear tapered roller bearing from the transaxle case.
  260. Remove the No. 1 transaxle case plate from the transaxle case.

  261. Object Number: 2012415  Size: SH
  262. Remove the left side counter drive gear bearing inner race and angular ball from the transaxle case.
  263. Using a slide hammer (1), remove the left side counter drive gear bearing outer race from the transaxle case.
  264. Remove the right side counter drive gear bearing.

  265. Object Number: 2012433  Size: SH
  266. Using a slide hammer (1), remove the right side counter drive gear bearing outer race from the transaxle case.

  267. Object Number: 2012436  Size: SH
  268. Using a screwdriver, remove the counter drive gear hole snap ring from the transaxle case.

  269. Object Number: 2012437  Size: SH
  270. Using a screwdriver, remove the manual valve lever shaft oil seal from the transaxle case.

  271. Object Number: 2012440  Size: SH
  272. Using a suitable tool (1, 2), remove the transaxle case oil seal from the transaxle case.
  273. Remove the transaxle case oil seal from the transaxle housing.

Inspection Procedure


    Object Number: 2012444  Size: SH
  1. Inspect the front clutch disc.
  2. Note: 

       • If the lining of any disc is peeled off or discolored, or even if part of the printed number is damaged, replace all the discs.
       • Before assembling new discs, soak them in ATF WS for at least 15 minutes.

  3. Check whether the sliding surfaces of the discs, plates and flanges are worn or burnt. If necessary, replace them.

  4. Object Number: 2012445  Size: SH
  5. Inspect the forward clutch return spring sub-assembly.
  6. Using vernier calipers, measure the free length of the spring together with the spring seat.
  7. Specification
    Standard free length - 21.69 mm (0.853 in)


    Object Number: 2012447  Size: SH
  8. Inspect the overdrive brake return spring sub-assembly.
  9. Using vernier calipers, measure the free length of the spring together with the spring seat.
  10. Specification
    Standard free length - 17.88 mm (0.703 in)


    Object Number: 2012449  Size: SH
  11. Inspect the reverse clutch disc.
  12. Note: 

       • If the lining of any disc is peeled off or discolored, or even if part of the printed mark is damaged, replace all the discs.
       • Before assembling new discs, soak them in ATF WS for at least 15 minutes.

  13. Check whether the sliding surfaces of the discs, plates and flanges are worn or burnt. If necessary, replace them.

  14. Object Number: 2012580  Size: SH
  15. Inspect the direct clutch disc.
  16. Note: 

       • If the lining of any disc is peeled off or discolored, or even if part of the printed mark is damaged, replace all the discs.
       • Before assembling new discs, soak them in ATF WS for at least 15 minutes.

  17. Check whether the sliding surfaces of the discs, plates and flanges are worn or burnt. If necessary, replace them.

  18. Object Number: 2012586  Size: SH
  19. Inspect the direct clutch return spring sub-assembly.
  20. Using vernier calipers, measure the free length of the spring together with the spring seat.
  21. Specification
    Standard free length - 31.7 mm (1.248 in)


    Object Number: 2012587  Size: SH
  22. Inspect the direct clutch piston sub-assembly.
  23. Shake the direct clutch pin and confirm that the check ball is not stuck.
  24. Apply low pressure compressed air to the check ball and confirm that there is no air leakage.

  25. Object Number: 2012589  Size: SH
  26. Inspect the intermediate shaft sub-assembly.
  27. Shake the direct clutch pin and confirm that the check ball is not stuck.
  28. Apply low pressure compressed air to the check ball and confirm that there is no air leakage.

  29. Object Number: 2012444  Size: SH
  30. Inspect the 2nd coast and the overdrive brake disc.
  31. Note: 

       • If the lining of any disc is peeled off or discolored, or even if part of the printed mark is damaged, replace all the discs.
       • Before assembling new discs, soak them in ATF WS for at least 15 minutes.

  32. Check whether the sliding surfaces of the discs, plates and flanges are worn or burnt. If necessary, replace them.
  33. Inspect the 2nd brake disc.
  34. Note: 

       • If the lining of any disc is peeled off or discolored, or even if part of the printed mark is damaged, replace all the discs.
       • Before assembling new discs, soak them in ATF WS for at least 15 minutes.

  35. Check whether the sliding surfaces of the discs, plates and flanges are worn or burnt. If necessary, replace them.

  36. Object Number: 2012593  Size: SH
  37. Inspect the 2nd brake piston return spring sub-assembly.
  38. Using vernier calipers, measure the free length of the spring together with the spring seat.
  39. Specification
    Standard free length - 14.65 mm (0.576 in)


    Object Number: 2012595  Size: SH
  40. Inspect the 1st and reverse brake disc.
  41. Note: 

       • If the lining of any disc is peeled off or discolored, or even if part of the printed mark is damaged, replace all the discs.
       • Before assembling new discs, soak them in ATF WS for at least 15 minutes.

  42. Check whether the sliding surfaces of the discs, plates and flanges are worn or burnt. If necessary, replace them.

  43. Object Number: 2012447  Size: SH
  44. Inspect the 1st and reverse brake return spring sub-assembly.
  45. Using vernier calipers, measure the free length of the spring together with the spring seat.
  46. Specification
    Standard free length - 13.96 mm (0.5496  in)


    Object Number: 2012775  Size: SH
  47. Using a puller (1), remove the front differential case front tapered roller bearing from the differential case.

  48. Object Number: 2012777  Size: SH
  49. Using a puller (1), remove the front differential case front tapered roller bearing outer race from the transaxle housing.

  50. Object Number: 2012781  Size: SH
  51. Using a puller (1), remove the front differential case rear tapered roller bearing from the differential case.

  52. Object Number: 2012782  Size: SH
  53. Using a suitable puller (1), remove the front differential case rear tapered roller bearing outer race from the transaxle case.

  54. Object Number: 2012784  Size: SH
  55. Remove the front differential ring gear.
  56. Place matchmarks on the front differential ring gear and differential case.

  57. Object Number: 2012790  Size: SH
  58. Release the lock plate.

  59. Object Number: 2012791  Size: SH
  60. Remove the bolts and the ring gear lock plates.

  61. Object Number: 2012793  Size: SH
  62. Using a plastic hammer, remove the front differential ring gear from the differential case.

  63. Object Number: 2012794  Size: SH
  64. Remove the front differential pinion shaft straight pin.
  65. Using a punch and a hammer, release the differential case.

  66. Object Number: 2012796  Size: SH
  67. Using a pin punch and a hammer, remove the straight pin.

  68. Object Number: 2012800  Size: SH
  69. Remove the front No. 1 differential pinion shaft from the front differential case.

  70. Object Number: 2012801  Size: SH
  71. Remove the front differential pinions, front differential pinion thrust washers, front differential side gears and front differential side gear thrust washers from the front differential case.

  72. Object Number: 2012803  Size: SH
  73. Inspect the differential side gear backlash.
  74. Measure the differential side gear backlash while holding one pinion gear toward the case.
  75. Specification
    Standard backlash - 0.05 to 0.20 mm (0.0019 to 0.0078 in)

  76. If the backlash is not within the specified range, install the correct thrust washer to the side gear.
  77. Select thrust washers which will ensure that the backlash is within the specified range for both sides. Refer to Transmission General Specifications for Differential Side Gear Thrust Washer Chart.
  78. If the backlash is not within the specified range, install a thrust washer of a different thickness.