GM Service Manual Online
For 1990-2009 cars only

Special Tools

DT-49189 Counter Gear Nut Wrench


    Object Number: 2012569  Size: SH
  1. Remove the nut (1), washer, and control shaft lever.

  2. Object Number: 2012570  Size: SH
  3. Using a screwdriver, unstake the lock plate, and remove the lock nut and nut stopper.

  4. Object Number: 2012571  Size: SH
  5. Remove the bolts (1, 2) and pull out the park/neutral position switch.

  6. Object Number: 2012572  Size: SH
  7. Remove the number 2 breather plug (1) from the transaxle case.

  8. Object Number: 2012573  Size: SH
  9. Remove the hose and O-ring (2) from the number 2 breather plug.

  10. Object Number: 2012574  Size: SH
  11. Remove the inlet oil cooler tube union (1).
  12. Remove the O-ring (2) from the union.

  13. Object Number: 2012575  Size: SH
  14. Remove the outlet oil cooler tube union (1).
  15. Remove the O-ring (2) from the union.

  16. Object Number: 2012576  Size: SH
  17. Remove the bolts and the speed sensors (1) from the transaxle assembly.

  18. Object Number: 2013822  Size: SH
  19. Remove the number 1 transaxle case plugs from the transaxle case.
  20. Remove the O-rings from the number 1 transaxle case plugs.

  21. Object Number: 2012578  Size: SH
  22. Remove the drain plug and drain plug gasket from the oil pan.

  23. Object Number: 2012579  Size: SH
  24. Remove the bolts (1), oil pan, and gasket.

  25. Object Number: 2012581  Size: SH
  26. Remove the transmission magnets (1) from the oil pan.

  27. Object Number: 2012583  Size: SH
  28. Disconnect the connectors (1) from the shift solenoid valves.
  29. Remove the bolt, lock plate, and ATF temperature sensor.

  30. Object Number: 2012584  Size: SH
  31. Remove the bolt and transmission wire from the transaxle case.

  32. Object Number: 2012585  Size: SH
  33. Remove the bolts (1) and oil strainer.

  34. Object Number: 2012588  Size: SH
  35. Remove the O-ring (1) from the oil strainer.

  36. Object Number: 2012590  Size: SH
  37. Support the valve body assembly and remove the bolts (1) and valve body assembly.

  38. Object Number: 2013807  Size: SH
  39. Remove the number 1 governor apply gasket (1) from the transaxle case.

  40. Object Number: 2013806  Size: SH
  41. Remove the transaxle case 2nd brake gasket (1) from the transaxle case.

  42. Object Number: 2012594  Size: SH
  43. Remove the brake drum gasket (1) from the transaxle case.

  44. Object Number: 2012596  Size: SH
  45. Remove the check ball body and spring from the transaxle case.

  46. Object Number: 2012601  Size: SH
  47. Remove the spring from the C-3 accumulator piston.

  48. Object Number: 2012603  Size: SH
  49. Using needle-nose pliers, remove the C-3 accumulator piston from the transaxle case.

  50. Object Number: 2012606  Size: SH
  51. Remove the O-ring (2) from the C-3 accumulator piston (1).

  52. Object Number: 2012609  Size: SH

    Note: 

       • Applying compressed air may cause the piston to jump-out. When removing the piston, hold it by hand using a waste cloth.
       • Take care not to splash ATF when applying compressed air.

  53. Apply compressed air to the oil hole (1) and remove the reverse accumulator piston and spring.

  54. Object Number: 2012611  Size: SH
  55. Remove the O-rings (2) from the reverse clutch accumulator piston.

  56. Object Number: 2012616  Size: SH

    Note: 

       • Applying compressed air may cause the piston to jump-out. When removing the piston, hold it by hand using a waste cloth.
       • Take care not to splash ATF when applying compressed air.

  57. Apply compressed air to the oil hole (1) and remove the B-3 accumulator piston and springs.

  58. Object Number: 2012617  Size: SH
  59. Remove the O-ring (2) from the B-3 accumulator piston (1).

  60. Object Number: 2013779  Size: SH
  61. Using needle-nose pliers, remove the manual valve lever shaft retainer spring.

  62. Object Number: 2012622  Size: SH
  63. Remove the bolts (1, 2) and manual detent spring sub-assembly.

  64. Object Number: 2012623  Size: SH
  65. Remove the bolts (1, 2) and parking lock pawl bracket.

  66. Object Number: 2012624  Size: SH
  67. Using a screwdriver, slide the spacer (1).

  68. Object Number: 2013774  Size: SH
  69. Using a pin punch and hammer, drive out the pin.
  70. Slowly drive out the pin so that it will not fall into the transaxle case.


    Object Number: 2012627  Size: SH
  71. Remove the manual valve lever shaft, manual valve lever, and spacer.

  72. Object Number: 2012628  Size: SH
  73. Remove the parking lock rod sub-assembly from the manual valve lever sub-assembly.
  74. Align the dial with the notches on the manual valve lever sub-assembly to remove the parking lock rod sub-assembly.


    Object Number: 2012631  Size: SH
  75. Using a screwdriver, remove the oil seal from the transaxle case.
  76. Rotate the transaxle case with the oil pump side facing up.

  77. Object Number: 2149720  Size: SH
  78. Remove the bolts (1-18).
  79. Note: The differential may be removed when the transaxle housing is removed.

  80. Tap on the circumference of the transaxle housing with a plastic hammer to remove the transaxle housing from the transaxle case.

  81. Object Number: 2012634  Size: SH
  82. Remove the bolts (1-7) and oil pump from the transaxle case.

  83. Object Number: 2012637  Size: SH
  84. Remove the thrust needle roller bearing (2) from the underdrive planetary gear assembly.

  85. Object Number: 2013753  Size: SH
  86. Remove the number 2 thrust bearing underdrive race from the underdrive planetary gear assembly (3).

  87. Object Number: 2012642  Size: SH
  88. Remove the differential gear assembly (1) from the transaxle case.

  89. Object Number: 2012645  Size: SH
  90. Remove the overdrive brake gaskets from the transaxle case.

  91. Object Number: 2012646  Size: SH
  92. Remove the forward clutch assembly (1) from the transaxle case.

  93. Object Number: 2012657  Size: SH
  94. Remove the thrust needle roller bearing (1) from the forward clutch.
  95. Inspect the pack clearance of the forward clutch.

  96. Object Number: 2013744  Size: SH
  97. Using a screwdriver, remove the snap ring (1).

  98. Object Number: 2012660  Size: SH
  99. Remove the flange, discs and plates from the input shaft assembly.

  100. Object Number: 2012662  Size: SH
  101. Compress the return spring with a press.
  102. Note: 

       • Stop pressing when the spring seat is 1-2 mm (0.039-0.078 in) from the snap ring groove. This prevents the spring seat from being deformed.
       • Do not expand the snap ring excessively.

  103. Using a snap ring expander, remove the snap ring (2).

  104. Object Number: 2012665  Size: SH
  105. Remove the clutch balancer (1) from the input shaft.

  106. Object Number: 2012666  Size: SH
  107. Remove the forward clutch return spring (1) from the input shaft.

  108. Object Number: 2012670  Size: SH
  109. Place the forward clutch drum onto the oil pump.
  110. Note: If the piston is slanted and cannot be removed, either blow air again with the protruding side pushed, or remove the piston using needle nose pliers with the tips taped.

  111. Holding the forward clutch piston by hand, apply compressed air to the oil pump to remove the forward clutch piston.

  112. Object Number: 2012671  Size: SH
  113. Remove the input shaft oil seal ring from the input shaft.

  114. Object Number: 2012672  Size: SH
  115. Remove the thrust needle roller bearing, multiple disc clutch hub, thrust needle roller bearing and number 1 thrust bearing race (3) from the transaxle case.

  116. Object Number: 2012673  Size: SH
  117. Remove the bolt and pawl shaft clamp (1) from the transaxle case.

  118. Object Number: 2012674  Size: SH
  119. Remove the parking lock pawl shaft from the transaxle case.

  120. Object Number: 2012676  Size: SH
  121. Push the parking lock pawl.

  122. Object Number: 2012688  Size: SH
  123. Remove the underdrive planetary gear assembly (1) from the transaxle case.

  124. Object Number: 2013453  Size: SH
  125. Using a punch and a hammer, loosen the staked part of the lock nut.

  126. Object Number: 2012692  Size: SH
  127. Clamp the underdrive planetary gear (1) in a soft jaw vise.

  128. Object Number: 2012694  Size: SH
  129. Using a socket wrench (1), remove the lock nut.

  130. Object Number: 2012698  Size: SH
  131. Using a suitable puller (1), remove the cylindrical roller bearing race inner.

  132. Object Number: 2012700  Size: SH
  133. Using a press (1), remove the differential drive pinion, parking lock gear, counter driven gear with underdrive planetary ring gear, and angular ball bearing.

  134. Object Number: 2013467  Size: SH
  135. Clamp the underdrive planetary gear in a soft jaw vise.
  136. Using a suitable puller (1), remove the rear angular ball bearing from the underdrive planetary gear.

  137. Object Number: 2012708  Size: SH
  138. Using snap ring pliers, remove the snap ring (1).

  139. Object Number: 2013471  Size: SH
  140. Remove the underdrive planetary ring gear (1) from the counter driven gear.

  141. Object Number: 2013462  Size: SH
  142. Remove the spring, pawl pin and parking lock pawl.

  143. Object Number: 2012715  Size: SH
  144. Remove the underdrive clutch assembly, thrust bearing (1), and bearing race from the transaxle case.

  145. Object Number: 2012717  Size: SH
  146. Using a screwdriver, remove the number 2 underdrive clutch flange hole snap ring (1).

  147. Object Number: 2012718  Size: SH
  148. Remove the flange, discs, and plates from the underdrive clutch drum (1).

  149. Object Number: 2012720  Size: SH
  150. Using a press (1), remove underdrive clutch return spring.
  151. Note: Stop pressing when the spring seat is 1-2 mm (0.039-0.078 in) from the snap ring groove. This prevents the spring seat from being deformed.

  152. Using a snap ring expander, remove the snap ring.

  153. Object Number: 2012722  Size: SH
  154. Remove the clutch balancer (1) from the underdrive clutch drum.

  155. Object Number: 2012724  Size: SH
  156. Remove the return spring (1) from the underdrive clutch drum.

  157. Object Number: 2012725  Size: SH
  158. Remove the underdrive clutch from the transaxle case.
  159. Holding the underdrive clutch piston by hand, apply compressed air to the transaxle case to remove the underdrive clutch piston.

  160. Object Number: 2012727  Size: SH
  161. Using a screwdriver, remove the O-ring (1) from the underdrive clutch drum.

  162. Object Number: 2012729  Size: SH
  163. Using a screwdriver, remove the snap ring (1) from the transaxle case.

  164. Object Number: 2012734  Size: SH
  165. Remove the underdrive one-way clutch (1) from the transaxle case.

  166. Object Number: 2012741  Size: SH
  167. Remove the outer race retainer (1) from the one-way clutch.

  168. Object Number: 2012745  Size: SH
  169. Using a screwdriver, remove the snap ring (1).

  170. Object Number: 2012750  Size: SH
  171. Remove the flange (1), discs and plates from the transaxle case.

  172. Object Number: 2012751  Size: SH
  173. Remove the bolts (1-11).
  174. Tap on the circumference of the rear cover with a plastic hammer to remove the transaxle rear cover from the transaxle case.

  175. Object Number: 2013283  Size: SH
  176. Remove the number 1 transaxle case plugs from the transaxle rear cover.
  177. Remove the O-rings from the number 1 transaxle case plugs.

  178. Object Number: 2012756  Size: SH
  179. Remove the rear clutch oil seal rings (1) from the transaxle rear cover.

  180. Object Number: 2012758  Size: SH
  181. Using a suitable puller (1), remove the needle roller bearing from the transaxle rear cover.

  182. Object Number: 2013247  Size: SH
  183. Using a screwdriver, remove the governor apply gaskets (1, 2, 3).

  184. Object Number: 2012763  Size: SH
  185. Remove the bolt (2), clamp and brake apply tube (2).
  186. Remove the clutch apply tube (3).
  187. Remove the brake apply tube from the clamp.

  188. Object Number: 2012767  Size: SH
  189. Remove the thrust bearing (2) and the direct clutch assembly (1) from the transaxle case.

  190. Object Number: 2012769  Size: SH
  191. Using a screwdriver, remove the snap ring (1) from the intermediate shaft.

  192. Object Number: 2012772  Size: SH
  193. Remove the flange, discs, plates and cushion plate from the intermediate shaft.

  194. Object Number: 2012776  Size: SH
  195. Using a screwdriver, remove the snap ring from the intermediate shaft.
  196. Remove the flange, discs and plates from the intermediate shaft.

  197. Object Number: 2012779  Size: SH
  198. Using a press (1), remove overdrive clutch return spring.
  199. Note: 

       • Stop pressing when the spring seat is 1-2 mm (0.039-0.078 in) from the snap ring groove. This prevents the spring seat from being deformed.
       • Do not expand the snap ring excessively.

  200. Using a snap ring expander, remove the snap ring from the direct clutch drum.

  201. Object Number: 2012783  Size: SH
  202. Remove the clutch balancer (1) from the overdrive direct clutch drum.

  203. Object Number: 2012787  Size: SH
  204. Remove the overdrive clutch return spring (1) from the overdrive direct clutch drum.

  205. Object Number: 2012789  Size: SH
  206. Install the intermediate shaft on the transaxle rear cover.
  207. Holding the direct clutch piston by hand, apply compressed air to the transaxle rear cover (1) to remove the direct clutch piston.

  208. Object Number: 2012792  Size: SH
  209. Holding the direct clutch drum by hand, apply compressed air to the transaxle rear cover (1) to remove the direct clutch drum.

  210. Object Number: 2012795  Size: SH
  211. Using a screwdriver, remove the O-ring (1) from the direct clutch drum.

  212. Object Number: 2012797  Size: SH
  213. Remove the thrust bearing race (1), thrust bearing (2), and overdrive direct clutch hub (3) from the planetary gear assembly.

  214. Object Number: 2012799  Size: SH
  215. Remove the rear planetary sun gear assembly (1) from the transaxle case.

  216. Object Number: 2012804  Size: SH
  217. Remove the thrust needle roller bearing and thrust bearing race from the rear planetary sun gear assembly.

  218. Object Number: 2012806  Size: SH
  219. Remove the number 2 planetary carrier thrust washer (1) from the rear planetary sun gear assembly (2).

  220. Object Number: 2012807  Size: SH
  221. Remove the one-way clutch assembly (2) and the thrust needle roller bearing (1) from the transaxle case.

  222. Object Number: 2012810  Size: SH
  223. Remove the one-way clutch inner race (1) from the one-way clutch assembly.

  224. Object Number: 2012820  Size: SH
  225. Remove the one-way clutch sleeve (1) from the transaxle case.

  226. Object Number: 2012824  Size: SH
  227. Remove the number 1 planetary carrier thrust washer (1) from the planetary gear assembly.

  228. Object Number: 2012828  Size: SH
  229. Using a screwdriver, remove the snap ring (1).
  230. Remove the flange, discs and plates from the transaxle case.

  231. Object Number: 2012832  Size: SH
  232. Using a screwdriver, remove the snap ring (1).

  233. Object Number: 2012834  Size: SH
  234. Remove the 2nd brake piston assembly (1) from the transaxle case.

  235. Object Number: 2012836  Size: SH
  236. Using a suitable tool (1), remove the 2nd brake piston return spring.

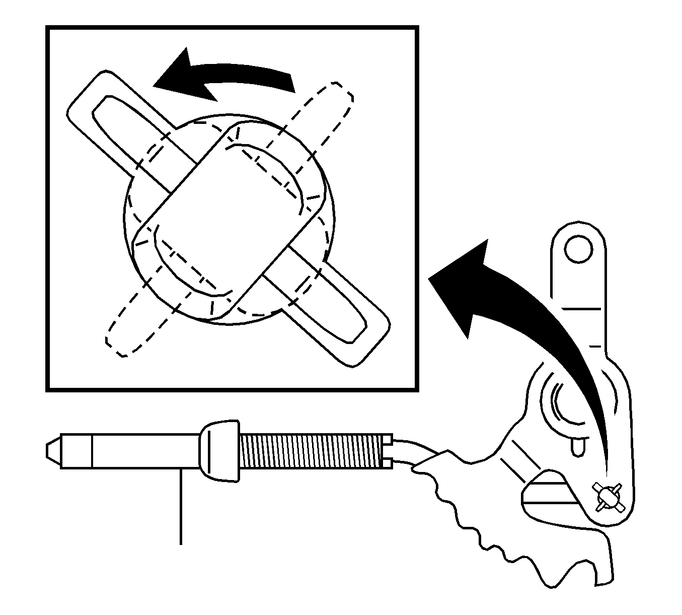
  237. Object Number: 2012838  Size: SH
  238. Remove the 2nd brake piston return spring sub-assembly (1).

  239. Object Number: 2012841  Size: SH
  240. Hold the 2nd brake piston and apply compressed air to the 2nd brake cylinder to remove the 2nd brake piston.

  241. Object Number: 2012843  Size: SH
  242. Remove the O-rings (1, 2) from the 2nd brake piston.

  243. Object Number: 2012854  Size: SH
  244. Using a screwdriver, remove the snap ring (1).

  245. Object Number: 2012855  Size: SH
  246. Remove the rear planetary gear assembly (1) from the transaxle case.

  247. Object Number: 2012858  Size: SH
  248. Remove the thrust needle roller bearings (4), number 2 thrust bearing races, number 3 thrust bearing race, and input sun gear (2) from the transaxle case.

  249. Object Number: 2012861  Size: SH
  250. Remove the flange, discs and plates from the transaxle case.

  251. Object Number: 2012863  Size: SH
  252. Using a chisel and hammer, unstake the lock washer (1).

  253. Object Number: 2013674  Size: SH
  254. Using a DT-49189 counter gear nut wrench  (1, 2), remove the nut and washer.

  255. Object Number: 2012868  Size: SH
  256. Using a press (1), remove the front planetary gear assembly from the counter drive gear.

  257. Object Number: 2012870  Size: SH
  258. Remove the front planetary gear assembly (1) from the brake hub.

  259. Object Number: 2012873  Size: SH
  260. Using a screwdriver, remove the snap ring (1) and front planetary ring gear from the brake hub.

  261. Object Number: 2013683  Size: SH
  262. Using a press (1), compress the 1st and reverse brake return spring.
  263. Note: 

       • Stop pressing when the spring seat is 1-2 mm (0.039-0.078 in) from the snap ring groove to prevent the spring seat from being deformed.
       • Do not expand the snap ring excessively.

  264. Using snap ring pliers, remove the snap ring.
  265. Remove the return spring.

  266. Object Number: 2012894  Size: SH

    Note: 

       • Applying compressed air may cause the piston to jump-out. When removing the piston, hold it by hand using a piece of cloth.
       • Take care not to splash ATF when applying compressed air.

  267. Apply compressed air to the transaxle case (2) to remove the 1st and reverse brake piston.

  268. Object Number: 2012901  Size: SH
  269. Remove the O-rings (1, 2) from the 1st and reverse brake piston.

  270. Object Number: 2012902  Size: SH
  271. Using a press (1), remove the counter drive gear from the transaxle case.

  272. Object Number: 2013689  Size: SH
  273. Tighten the bolts evenly and make a clearance of approximately 20.0 mm (0.797 in) between the counter drive gear and the inner race.

  274. Object Number: 2012906  Size: SH
  275. Using a suitable puller (1), remove the tapered roller bearing inner race.

  276. Object Number: 2012908  Size: SH
  277. Remove the bearing inner race (rear side) (1) and angular ball (rear side).

  278. Object Number: 2012912  Size: SH
  279. Using a press (1), remove the bearing outer race (rear side) from the transaxle case.

  280. Object Number: 2012915  Size: SH
  281. Remove the angular ball.

  282. Object Number: 2012917  Size: SH
  283. Using a press (1), remove the bearing outer race (front side) from the transaxle case.
  284. Remove the angular ball (front side).


    Object Number: 2012921  Size: SH
  285. Using a screwdriver, remove the snap ring from the transaxle case.

  286. Object Number: 2012923  Size: SH
  287. Compress the return spring with a press.
  288. Note: Stop pressing when the spring seat is 1-2 mm (0.039-0.078 in) from the snap ring groove to prevent the spring seat from being deformed.

  289. Using a snap ring expander, remove the snap ring (1).
  290. Remove the return spring.

  291. Object Number: 2012925  Size: SH
  292. Remove underdrive brake piston (1).
  293. Apply compressed air to the transaxle case to remove the underdrive brake piston.

  294. Object Number: 2012926  Size: SH
  295. Remove the O-rings (1) from the underdrive brake piston.

  296. Object Number: 2012929  Size: SH
  297. Using a suitable puller, remove the needle roller bearing from the transaxle case.

  298. Object Number: 2012930  Size: SH
  299. Remove the oil seal rings (1) from the transaxle case.

  300. Object Number: 2013019  Size: SH
  301. Remove the number 1 transaxle case plugs.
  302. Remove the O-rings from the number 1 transaxle case plugs.

  303. Object Number: 2012936  Size: SH
  304. Using a suitable puller, remove the underdrive cylindrical roller bearing from the transaxle case.

  305. Object Number: 2012939  Size: SH
  306. Remove the oil seal ring (1) from the transaxle housing.

  307. Object Number: 2012942  Size: SH
  308. Remove the bolt (2), transaxle apply tube clamp (1) and differential gear lube apply tube from the transaxle housing.

  309. Object Number: 2013860  Size: SH
  310. Remove the clutch drum oil seal rings (1).

  311. Object Number: 2013941  Size: SH
  312. Remove the bolts (1-11) and stator shaft.
  313. Keep the gears in the assembled order.

  314. Object Number: 2013943  Size: SH
  315. Remove the front oil pump drive gear (1).

  316. Object Number: 2013946  Size: SH
  317. Remove the front oil pump driven gear (1).

  318. Object Number: 2013869  Size: SH
  319. Using a screwdriver, remove the O-ring (1).

  320. Object Number: 2013956  Size: SH
  321. Mount the oil pump in a soft jaw vise.
  322. Using a suitable puller (1), remove the oil seal from the oil pump body.

  323. Object Number: 2013874  Size: SH
  324. Turn the drive gear with 2 screwdrivers and make sure it rotates smoothly.

  325. Object Number: 2013876  Size: SH
  326. Push the driven gear (2) to one side of the body.
  327. Using a feeler gauge, measure the clearance.
  328. Specification

        • Standard body clearance - 0.10-0.17 mm (0.0039-0.0067 in)
        • Side clearance - 0.02-0.05 mm (0.001-0.002 in)
        • Maximum body clearance - 0.17 mm (0.0067 in)
  329. If the body clearance is greater than the maximum, replace the oil pump body sub-assembly.

  330. Object Number: 2013879  Size: SH
  331. Using a feeler gauge, measure the tip clearance between the driven gear teeth and drive gear teeth.
  332. Specification

        • Standard tip clearance - 0.07-0.15 mm (0.0028-0.0059 in)
        • Maximum tip clearance - 0.15 mm (0.0059 in)
  333. If the tip clearance is greater than the maximum, replace the oil pump body sub-assembly.

  334. Object Number: 2013880  Size: SH
  335. Using a straightedge and feeler gauge, measure the side clearance of both gears.
  336. Specification

        • Standard side clearance - 0.02-0.05 mm (0.0008-0.0020 in)
        • Maximum side clearance - 0.05 mm (0.0020 in)
  337. Refer to Transmission General Specifications for drive gear thickness.

  338. Object Number: 2013882  Size: SH
  339. Using a dial indicator, measure the inside diameter of the oil pump body bushing.
  340. Specification

        • Standard inside diameter - 38.113-38.138 mm (1.5005-1.5014 in)
        • Maximum inside diameter - 38.188 mm (1.5034 in)
  341. If the inside diameter is greater than the maximum, replace the oil pump and gear body sub-assembly.

  342. Object Number: 2013886  Size: SH
  343. Using a dial indicator, measure the inside diameter of the stator shaft.
  344. Specification

        • Standard inside diameter - 21.500-21.526 mm (0.8464-0.8474 in)
        • Maximum inside diameter - 21.57 mm (0.8492 in)
  345. If the inside diameter is greater than the maximum, replace the stator shaft.

  346. Object Number: 2013896  Size: SH
  347. Put matchmarks (1) on the front differential ring gear (2) and differential case.

  348. Object Number: 2013897  Size: SH
  349. Remove the bolts from the front differential ring gear (1).

  350. Object Number: 2013901  Size: SH
  351. Using a plastic hammer, tap on the front differential ring gear (1) to remove it from the case.

  352. Object Number: 2013903  Size: SH
  353. Using a suitable puller (1), remove the front differential case front tapered roller bearing from the differential case.

  354. Object Number: 2014004  Size: SH
  355. Using a suitable puller (1), remove the front differential case front tapered roller bearing outer race.

  356. Object Number: 2013907  Size: SH
  357. Using a suitable puller (1), remove the front differential case rear tapered roller bearing from the differential case.

  358. Object Number: 2014011  Size: SH
  359. Using a suitable puller (1), remove the front differential case rear tapered roller bearing outer race.

  360. Object Number: 2013910  Size: SH

    Note: Before removing the straight pin, unstake it with a pin punch.

  361. Using a pin punch and hammer, remove the straight pin.

  362. Object Number: 2013912  Size: SH
  363. Remove the front number 1 differential pinion shaft (2) from the differential case.

  364. Object Number: 2013913  Size: SH
  365. Remove the front differential pinions, pinion thrust washers, front differential side gears (1) and side gear thrust washers from the differential case.

  366. Object Number: 2013916  Size: SH
  367. Using a suitable driver (1) and a hammer, remove the transaxle housing oil seal.

  368. Object Number: 2013919  Size: SH
  369. Using a suitable driver (1) and a hammer, remove the differential side bearing retainer oil seal.

  370. Object Number: 2013920  Size: SH
  371. Using a dial indicator, inspect the backlash of the side gear.
  372. Specification
    Standard backlash - 0.05-0.20 mm (0.0020-0.0079 in)

  373. Refer to Transmission General Specifications