GM Service Manual Online
For 1990-2009 cars only

    Object Number: 2011203  Size: SH
  1. Remove the clutch release fork sub-assembly together with the clutch release bearing assembly from the manual transaxle case.
  2. Remove the clutch release bearing assembly and release bearing hub clip from the clutch release fork sub-assembly.

  3. Object Number: 2011189  Size: SH
  4. Remove the release fork support (1) from the manual transaxle case.
  5. Remove the clutch release fork boot from the manual transaxle case.
  6. Remove the bolt and speedometer driven hole cover sub-assembly.
  7. Remove the O-ring.

  8. Object Number: 2011184  Size: SH
  9. Remove the bolts (1, 2) and selecting bellcrank assembly from the manual transmission case.

  10. Object Number: 2011180  Size: SH
  11. Remove the nut (1) and spring washer.

  12. Object Number: 2010671  Size: SH
  13. Remove the nut and spring washer.
  14. Remove the control shift lever.

  15. Object Number: 2011169  Size: SH
  16. Remove the bolts (1) and control shaft cover from the manual transmission case.

  17. Object Number: 2011166  Size: SH
  18. Remove the bolt and No. 2 clutch tube bracket (1).

  19. Object Number: 2010677  Size: SH
  20. Place the manual transaxle assembly on wooden blocks.

  21. Object Number: 2011153  Size: SH
  22. Remove the No. 1 lock ball assembly (1) from the manual transmission case.

  23. Object Number: 2011150  Size: SH
  24. Remove the shift gate pin (1) from the manual transmission case.

  25. Object Number: 2011149  Size: SH
  26. Remove the manual transmission breather plug (1).

  27. Object Number: 2011144  Size: SH
  28. Remove the shift and select lever shaft assembly from the manual transmission case.

  29. Object Number: 2011147  Size: SH
  30. Remove the back-up light switch assembly (1) and gasket from the manual transmission case.

  31. Object Number: 2010693  Size: SH
  32. Remove the manual transmission filler plug and gasket from the manual transmission case.

  33. Object Number: 2011139  Size: SH
  34. Remove the drain plug (1) and gasket from the manual transmission case.

  35. Object Number: 2010699  Size: SH
  36. Remove the bolts (1-10) and manual transmission case cover from the manual transmission case.

  37. Object Number: 2011129  Size: SH
  38. Engage the 1st and 2nd gears (1) simultaneously.

  39. Object Number: 2010704  Size: SH
  40. Using a punch (1) and a hammer, unstake the manual transmission output shaft rear set nut.

  41. Object Number: 2010705  Size: SH
  42. Remove the manual transmission output shaft rear set nut (1) from the output shaft.
  43. Disengage the gears.

  44. Object Number: 2010706  Size: SH
  45. Using 2 screwdrivers and a hammer, remove the transmission clutch hub No. 3 shaft snap ring from the input shaft.

  46. Object Number: 2010712  Size: SH
  47. Remove the shift fork set bolt (1) from the No. 3 gear shift fork.

  48. Object Number: 2010716  Size: SH
  49. Using a suitable puller (1), remove the No. 3 transmission clutch hub and No. 3 gear shift fork from the input shaft.

  50. Object Number: 2011115  Size: SH
  51. Remove the 5th gear from the input shaft.

  52. Object Number: 2011112  Size: SH
  53. Remove the 5th gear needle roller bearing from the input shaft.

  54. Object Number: 2010737  Size: SH
  55. Using a suitable puller (1), remove the 5th driven gear from the output shaft.

  56. Object Number: 2010739  Size: SH
  57. Remove the bolts (1-7) and rear bearing retainer from the manual transmission case.

  58. Object Number: 2011101  Size: SH
  59. Remove the output shaft rear bearing shim from the output shaft.

  60. Object Number: 2010743  Size: SH
  61. Remove the input shaft rear bearing shaft snap ring from the input shaft.

  62. Object Number: 2010745  Size: SH
  63. Remove the shift fork shaft snap ring from the No. 1 gear shift fork shaft.

  64. Object Number: 2010749  Size: SH
  65. Using 2 screwdrivers and a hammer, remove the shift fork shaft snap ring from the No. 2 gear shift fork shaft.

  66. Object Number: 2011090  Size: SH
  67. Remove the reverse idler gear shaft bolt (1) and gasket.

  68. Object Number: 2010754  Size: SH
  69. Remove the bolts (1-3) from the manual transaxle case.

  70. Object Number: 2010756  Size: SH
  71. Remove the bolts (1-14) from the manual transmission case.
  72. Tapping with a plastic hammer, remove the manual transmission case.

  73. Object Number: 2011073  Size: SH
  74. Remove the reverse restrict pin plug (1) from the manual transmission case.

  75. Object Number: 2010760  Size: SH
  76. Using a pin punch and hammer, remove the slotted pin.

  77. Object Number: 2011066  Size: SH
  78. Remove the bolt (1), transmission oil baffle and reverse restrict pin assembly.

  79. Object Number: 2011062  Size: SH
  80. Remove the bolt (1) and No. 2 oil receiver pipe from the manual transmission case.

  81. Object Number: 2011060  Size: SH
  82. Remove the bolt (1) and No. 1 oil receiver pipe from the manual transmission case.

  83. Object Number: 2010772  Size: SH
  84. Remove the transmission magnet from the manual transaxle case.

  85. Object Number: 2010773  Size: SH
  86. Remove the reverse idler gear sub-assembly from the manual transaxle case.

  87. Object Number: 2011054  Size: SH
  88. Remove the reverse gear and reverse idler thrust washer from the reverse idler gear shaft.

  89. Object Number: 2011053  Size: SH
  90. Remove the bolts (1) and reverse shift arm bracket assembly from the manual transaxle case.

  91. Object Number: 2011050  Size: SH
  92. Remove the shift fork set bolt (1) from the No. 1 gear shift fork.

  93. Object Number: 2010782  Size: SH
  94. Pull out the No. 1 gear shift fork shaft (1) while pulling up the No. 3 gear shift fork shaft.

  95. Object Number: 2010789  Size: SH
  96. Remove the shift fork shaft snap ring from the No. 1 gear shift fork shaft.

  97. Object Number: 2011036  Size: SH
  98. Using a magnetic pick-up tool, remove the reverse shift fork roller from the reverse shift fork.

  99. Object Number: 2010797  Size: SH
  100. Remove the shift fork set bolt (1) and shift head set bolt (2) from the No. 2 gear shift fork and No. 1 gear shift head.

  101. Object Number: 2010799  Size: SH
  102. Remove the No. 2 gear shift fork (2) shaft and No. 1 gear shift head (1) from the manual transaxle case.

  103. Object Number: 2010804  Size: SH
  104. Remove the No. 1 gear shift fork (1).

  105. Object Number: 2010807  Size: SH
  106. Remove the No. 3 gear shift fork shaft (1) from the manual transaxle case.

  107. Object Number: 2010811  Size: SH
  108. Using 2 screwdrivers and a hammer, remove the 2 shift fork shaft snap rings from the No. 3 gear shift fork shaft.
  109. Remove the reverse shift fork from the No. 3 gear shift fork shaft.

  110. Object Number: 2010816  Size: SH
  111. Remove the No. 2 gear shift fork (1) from the input shaft assembly.

  112. Object Number: 2011019  Size: SH
  113. Tilt the output shaft, and then remove the input shaft from the manual transaxle case.

  114. Object Number: 2010826  Size: SH
  115. Lift the differential case assembly with the output shaft assembly leaned.
  116. Remove the output shaft assembly from the manual transaxle case.

  117. Object Number: 2010830  Size: SH
  118. Remove the differential case assembly from the manual transaxle case.

  119. Object Number: 2011010  Size: SH
  120. Remove the bolts (1) and manual transaxle case receiver from the manual transaxle case.

  121. Object Number: 2010839  Size: SH
  122. Using a suitable puller (1), remove the input shaft front bearing (outer race) from the manual transaxle case.

  123. Object Number: 2010844  Size: SH
  124. Using a suitable puller (1), remove the front transaxle case cover oil seal from the manual transaxle case.

  125. Object Number: 2010845  Size: SH
  126. Using a suitable puller (1), remove the output shaft front bearing (outer race) from the manual transaxle case.

  127. Object Number: 2010849  Size: SH
  128. Remove the output shaft cover from the manual transaxle case.

  129. Object Number: 2010850  Size: SH
  130. Using a suitable driver (1) and a hammer, remove the output shaft rear bearing from the manual transmission case (outer race).

  131. Object Number: 2010851  Size: SH
  132. Using a suitable puller (1), remove the transmission case oil seal from the manual transmission case.

  133. Object Number: 2010854  Size: SH
  134. Using a screwdriver, remove the transaxle case oil seal.

  135. Object Number: 2010856  Size: SH
  136. Using a brass bar and a hammer, remove the front differential case front tapered roller bearing (outer race) from the manual transaxle case.

  137. Object Number: 2010858  Size: SH
  138. Using a suitable puller (1), remove the front differential case front tapered roller bearing from the front differential case.

  139. Object Number: 2010861  Size: SH
  140. Using a suitable driver (1) and a hammer, remove the front differential case rear tapered roller bearing (outer race) and front differential case rear shim from the manual transmission case.

  141. Object Number: 2010866  Size: SH
  142. Using a suitable puller (1), remove the front differential case rear tapered roller bearing (inner race) from the front differential case.

  143. Object Number: 2010870  Size: SH
  144. Remove the No. 3 transmission hub sleeve (1) from the No. 3 transmission clutch hub.

  145. Object Number: 2010874  Size: SH
  146. Remove the No. 3 synchromesh shifting key springs (1) from the No. 3 transmission clutch hub while pushing on the No. 3 synchromesh shifting key spring.

  147. Object Number: 2010877  Size: SH
  148. Using a screwdriver, remove the synchronizer pull ring snap ring.
  149. Remove the synchronizer pull ring, No. 5 synchronizer ring outer, No. 5 synchronizer ring inner, and No. 5 synchronizer ring middle from the No. 5 synchronizer ring inner.

  150. Object Number: 2010879  Size: SH
  151. Using a dial indicator, inspect the 5th gear thrust clearance.
  152. Specifications:
    Standard clearance - 0.10-0.65 mm (0.0039-0.0256 in)

  153. If clearance is not as specified, replace the No. 3 transmission clutch hub, 5th gear, or input shaft rear radial ball bearing.

  154. Object Number: 2010890  Size: SH
  155. Using a dial indicator, inspect the 5th gear radial clearance.
  156. Specifications:
    Standard clearance - 0.009-0.050 mm (0.0004-0.0020 in)

  157. If clearance is not as specified, replace the 5th gear, 5th gear needle roller bearing, or input shaft.
  158. Using a caliper gage, measure the inside diameter of the reverse idler gear.
  159. Specifications

        • Standard inside diameter - 20.056-20.074 mm (0.7896-0.7903 in)
        • Maximum inside diameter - 20.074 mm (0.7903 in)
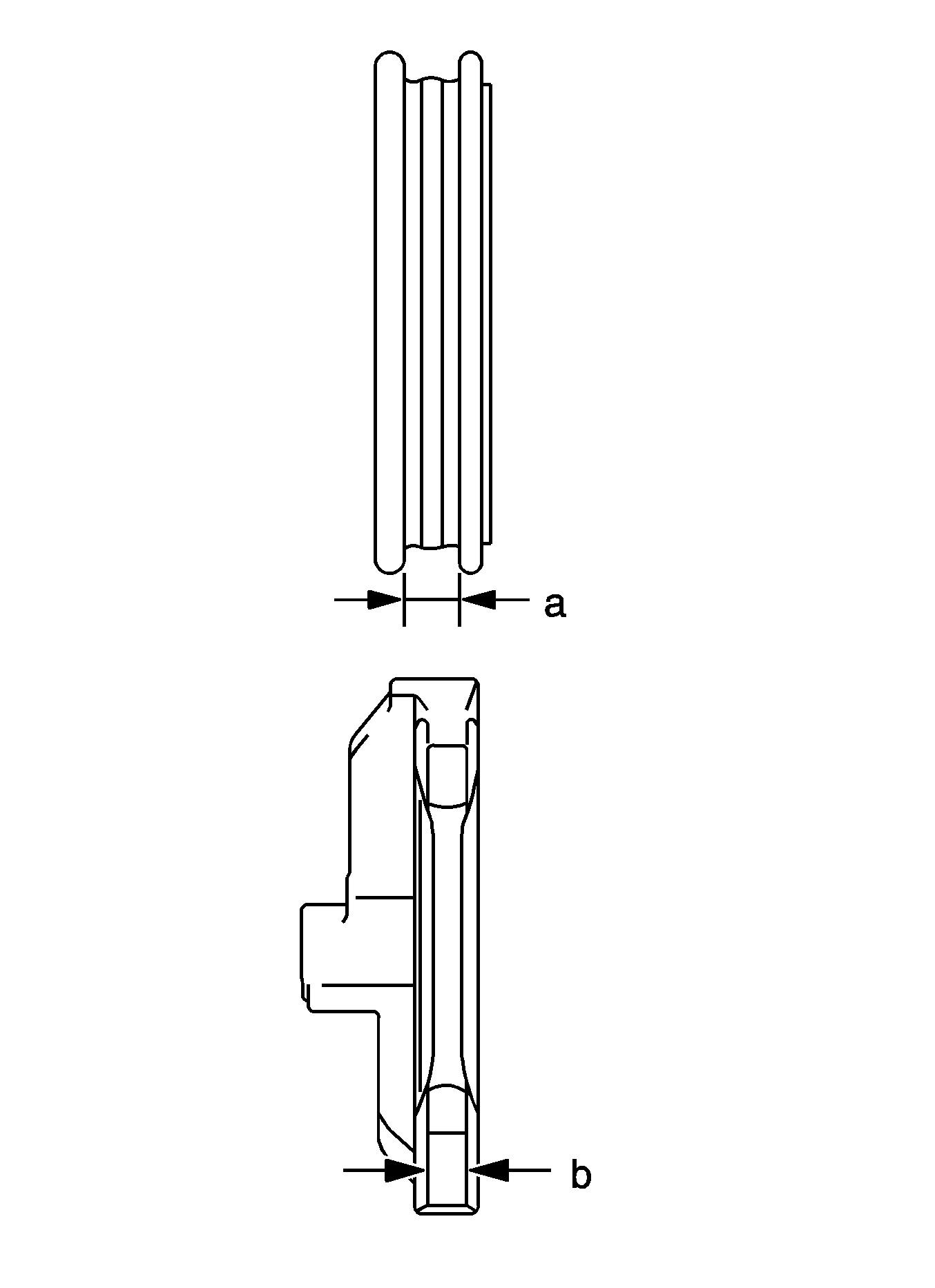
  160. If the inside diameter exceeds the maximum, replace the reverse idler gear.

  161. Object Number: 2010899  Size: SH
  162. Using a micrometer, measure the outside diameter of the reverse idler gear shaft.
  163. Specifications

        • Standard outside diameter - 19.984-20.000 mm (0.7868-0.7874 in)
        • Minimum outside diameter - 19.984 mm (0.7868 in)
  164. If the outside diameter is less than the minimum, replace the reverse idler gear shaft.

  165. Object Number: 2010901  Size: SH
  166. Inspect the sliding condition between the No. 3 transmission clutch hub and the No. 3 transmission hub sleeve.
  167. Inspect the tip of the spline gear on the No. 3 transmission hub sleeve for wear.

  168. Object Number: 2010903  Size: MH
  169. Using vernier calipers, measure the width of the No. 3 transmission hub sleeve groove and the thickness of the claw on the No. 3 gear shift fork, and calculate the clearance.
  170. Specifications:
    Standard clearance - 0.15-0.35 mm (0.0059-0.0138 in) (A-B)

  171. If clearance is not as specified, replace the No. 3 transmission hub sleeve and No. 3 gear shift fork with new ones.

  172. Object Number: 2010917  Size: SH
  173. Using a caliper gage, measure the inside diameter of the 5th gear.
  174. Specifications

        • Standard inside diameter - 34.981-34.997 mm (1.3772-1.3778 in)
        • Maximum inside diameter - 34.997 mm (1.3778 in)
  175. If the inside diameter exceeds the maximum, replace the 5th gear.

  176. Object Number: 2010919  Size: SH
  177. Check that the No. 5 synchronizer ring rotates smoothly.

  178. Object Number: 2010929  Size: SH
  179. Check that the No. 5 synchronizer ring does not rotate while pushing it against the No. 3 clutch hub.

  180. Object Number: 2011210  Size: SH
  181. Hold the input shaft assembly in a vise using aluminum plates.
  182. Using 2 screwdrivers and a hammer, remove the input shaft rear bearing shaft snap ring from the input shaft.

  183. Object Number: 2011214  Size: SH
  184. Using a press (1), remove the input shaft rear bearing and 4th gear.

  185. Object Number: 2011216  Size: SH
  186. Remove the 4th gear needle roller bearing from the input shaft.

  187. Object Number: 2011221  Size: SH
  188. Remove the No. 4 synchronizer ring from the No. 2 transmission clutch hub.

  189. Object Number: 2011224  Size: SH
  190. Remove the 4th gear bearing spacer from the No. 2 transmission clutch hub.

  191. Object Number: 2011227  Size: SH
  192. Using 2 screwdrivers and a hammer, remove the No. 2 clutch hub setting shaft snap ring from the input shaft.

  193. Object Number: 2011233  Size: SH
  194. Using a press (1), remove the No. 2 transmission clutch hub and 3rd gear from the input shaft.

  195. Object Number: 2011480  Size: SH
  196. Remove the 3rd gear needle roller bearing from the input shaft.

  197. Object Number: 2011245  Size: SH
  198. Remove the No. 3 synchronizer ring from the 3rd gear.

  199. Object Number: 2011269  Size: SH
  200. Remove the No. 2 transmission hub sleeve, No. 2 synchromesh shifting keys, and No. 2 synchromesh shifting key springs from the No. 2 transmission clutch hub.

  201. Object Number: 2011271  Size: SH
  202. Using a press (1), remove the input shaft front bearing (inner race) from the input shaft.

  203. Object Number: 2011276  Size: SH
  204. Using a feeler gage, measure the 4th gear thrust clearance.
  205. Specifications:
    Standard clearance - 0.10-0.57 mm (0.0039-0.0224 in)

  206. If the clearance is out of specification, replace the No. 2 transmission clutch hub, 4th gear, or input shaft rear radial ball bearing.

  207. Object Number: 2011290  Size: SH
  208. Using a dial indicator, measure the 3rd gear thrust clearance.
  209. Specifications:
    Standard clearance - 0.10-0.35 mm (0.0039-0.0138 in)

  210. If the clearance is out of specification, replace the No. 2 transmission clutch hub, 3rd gear, or input shaft.

  211. Object Number: 2011298  Size: SH
  212. Using a dial indicator, measure the 4th gear radial clearance.
  213. Specifications

        • Standard clearance, KOYO made bearing - 0.009-0.053 mm (0.0004-0.0021 in)
        • Standard clearance, NSK made bearing - 0.009-0.051 mm (0.0004-0.0020 in)
  214. If clearance is out of specification, replace the 4th gear, needle roller bearing, or input shaft.

  215. Object Number: 2011307  Size: SH
  216. Using a dial indicator, measure the 3rd gear radial clearance.
  217. Specifications

        • Standard clearance, KOYO made bearing - 0.009-0.053 mm (0.0004-0.0021 in)
        • Standard clearance, NSK made bearing -  0.009-0.051 mm (0.0004-0.0020 in)
  218. If clearance is out of specification, replace the 3rd gear, needle roller bearing, or input shaft.

  219. Object Number: 2011311  Size: SH
  220. Using V-blocks and a dial indicator, inspect the shaft for runout.
  221. Specification
    Maximum runout -  0.03 mm (0.0012 in)

  222. If the runout exceeds the maximum, replace the input shaft.

  223. Object Number: 2011317  Size: SH
  224. Using a cylinder gage, measure the inside diameter of the 4th gear.
  225. Specifications

        • Standard inside diameter - 42.009-42.025 mm (1.6539-1.6545 in)
        • Maximum inside diameter - 42.025 mm (1.6545 in)
  226. If the inside diameter exceeds the maximum, replace the 4th gear.
  227. Using a cylinder gage, measure the inside diameter of the 3rd gear.
  228. Specifications

        • Standard inside diameter - 43.009-43.025 mm (1.6933-1.6939 in)
        • Maximum inside diameter - 43.025 mm (1.6939 in)
  229. If the inside diameter exceeds the maximum, replace the 3rd gear.

  230. Object Number: 2011455  Size: SH
  231. Coat the 4th gear cone with gear oil. Turn the No. 4 synchronizer ring in one direction while pushing it against the 4th gear cone. Check that the ring locks. If the No. 4 synchronizer ring does not lock, replace the ring or the 4th gear.

  232. Object Number: 2011460  Size: SH
  233. Using a feeler gage, measure the clearance between the No. 4 synchronizer ring back and 4th gear spline end.
  234. Specifications:
    Standard clearance - 0.7-1.45 mm (0.0276-0.0570 in)


    Object Number: 2011462  Size: SH
  235. Coat the 3rd gear cone with gear oil. Turn the synchronizer outer ring in one direction while pushing it against the 3rd gear cone. Check that the ring locks.
  236. If the synchronizer outer ring does not lock, replace the ring or the 3rd gear.


    Object Number: 2011467  Size: SH
  237. Using a feeler gage, measure the clearance between the No. 3 synchronizer ring back and 3rd gear spline end.
  238. Specifications:
    Standard clearance - 0.65-1.75 mm (0.0276-0.0689 in)

  239. If the clearance is out of specification, replace the No. 3 synchronizer ring.

  240. Object Number: 2011111  Size: SH
  241. Inspect the sliding condition between the No. 2 transmission hub sleeve and No. 2 transmission clutch hub.
  242. Inspect the tip of the spline gear on the No. 2 transmission hub sleeve for wear. If any defects are found, replace the transmission hub sleeve or the transmission clutch hub.

  243. Object Number: 2011517  Size: SH
  244. Using a press (1), remove the output shaft rear bearing (inner race) and 4th driven gear.

  245. Object Number: 2011520  Size: SH
  246. Remove the output gear spacer from the output shaft.

  247. Object Number: 2011522  Size: SH
  248. Using a press (1), remove the 3rd driven gear and 2nd gear from the output shaft.

  249. Object Number: 2011533  Size: SH
  250. Remove the No. 2 synchronizer ring set from the No. 1 transmission clutch hub.

  251. Object Number: 2011535  Size: SH
  252. Remove the 2nd gear needle roller bearing from the output shaft.

  253. Object Number: 2011779  Size: SH
  254. Remove the 2nd gear bearing spacer from the output shaft.

  255. Object Number: 2011776  Size: SH
  256. Remove the 2nd gear bushing from the output shaft.

  257. Object Number: 2011774  Size: SH
  258. Using a magnetic pick-up tool, remove the 2nd gear bushing ball (1) from the output shaft.

  259. Object Number: 2011548  Size: SH
  260. Using a press (1), remove the No. 1 transmission clutch hub and 1st gear from the output shaft.

  261. Object Number: 2011767  Size: SH
  262. Remove the No. 1 synchronizer ring set from the 1st gear.

  263. Object Number: 2011768  Size: SH
  264. Remove the 1st gear needle roller bearing from the output shaft.

  265. Object Number: 2011739  Size: SH
  266. Using a press (1), remove the output shaft front bearing (inner race) from the output shaft.

  267. Object Number: 2011740  Size: SH
  268. Remove the No. 1 transmission clutch hub, No. 1 synchromesh shifting keys, and No. 1 synchromesh shifting key springs from the reverse gear.

  269. Object Number: 2011742  Size: SH
  270. Using a feeler gage, measure the 1st gear thrust clearance.
  271. Specifications:
    Standard clearance - 0.25-0.40 mm (0.0098-0.0157 in)

  272. If the clearance is out of specification, replace the 1st gear, or No. 1 transmission clutch hub.

  273. Object Number: 2011745  Size: SH
  274. Using a dial indicator, measure the 2nd gear thrust clearance.
  275. Specifications:
    Standard clearance - 0.10-0.35 mm (0.0039-0.0138 in)


    Object Number: 2011750  Size: SH
  276. Using V-blocks and a dial indicator, inspect the shaft for runout.
  277. Specification
    Maximum runout - 0.03 mm (0.0012 in)

  278. If runout exceeds the maximum, replace the input shaft.

  279. Object Number: 2011755  Size: SH
  280. Using a cylinder gage, measure the inside diameter of the 2nd gear.
  281. Specifications

        • Standard inside diameter - 50.009-50.025 mm (1.9689-1.9695 in)
        • Maximum inside diameter - 50.025 mm (1.9695 in)
  282. If the inside diameter exceeds the maximum, replace the 2nd gear.
  283. Using a cylinder gage, measure the inside diameter of the 1st gear.
  284. Specifications

        • Standard inside diameter - 51.009-51.025 mm (2.0082-2.0089 in)
        • Maximum inside diameter - 51.025 mm (2.0089 in)
  285. If the inside diameter exceeds the maximum, replace the 1st gear.

  286. Object Number: 2011756  Size: SH
  287. Coat the 2nd gear cone with gear oil.
  288. Check for wear and damage.
  289. Turn the synchronizer ring set in one direction while pushing it against the 2nd gear cone.
  290. Check that the ring locks.
  291. If the synchronizer ring set does not lock, replace the synchronizer ring set.


    Object Number: 2011758  Size: SH
  292. Using a feeler gage, measure the clearance between the synchronizer ring and the gear spline end.
  293. Specifications:
    Standard clearance - 0.70-1.45 mm (0.0276-0.0571 in)

  294. If the clearance is less than the minimum, replace the synchronizer ring set.
  295. Coat the 1st gear cone with gear oil.

  296. Object Number: 2011760  Size: SH
  297. Check for wear and damage.
  298. Turn the synchronizer ring set in one direction while pushing it against the 1st gear cone.
  299. Check that the ring set locks.
  300. If the synchronizer ring set does not lock, replace the synchronizer ring set.


    Object Number: 2011761  Size: SH
  301. Using a feeler gage, measure the clearance between the synchronizer ring and the gear spline end.
  302. Specifications:
    Standard clearance - 0.70-1.45 mm (0.0276-0.0571 in)

  303. If the clearance is less than the minimum, replace the synchronizer ring set.

  304. Object Number: 2011762  Size: MH
  305. Using vernier calipers, measure the width of the reverse gear groove and thickness of the claw part on the No. 1 gear shift fork, and calculate the clearance.
  306. Specifications:
    Standard clearance - 0.15-0.35 mm (0.0059-0.0138 in) (A-B)

  307. If the clearance is out of specification, replace the reverse gear and No. 1 gear shift fork with new ones.

  308. Object Number: 2011763  Size: SH
  309. Check the sliding condition between the No. 1 transmission clutch hub and the reverse gear.
  310. Check the tip of the spline gear on the sleeve of the reverse gear for wear.
  311. If any defects are found, replace the transmission hub sleeve or the transmission clutch hub.


    Object Number: 2011790  Size: SH
  312. Remove the speedometer drive gear from the front differential case assembly.

  313. Object Number: 2011793  Size: SH
  314. Put matchmarks (1) on the front differential ring gear and the front differential case.

  315. Object Number: 2011795  Size: SH
  316. Remove the bolts (1-16).
  317. Using a plastic hammer, remove the front differential case.

  318. Object Number: 2011797  Size: SH
  319. Using a suitable tool (1), unstake the staked part of the front differential case.

  320. Object Number: 2011798  Size: SH
  321. Using a pin punch and a hammer, remove the front differential pinion shaft straight pin from the front differential case.

  322. Object Number: 2011800  Size: SH
  323. Remove the No. 1 front differential pinion shaft from the front differential case.

  324. Object Number: 2011801  Size: SH
  325. Remove the front differential pinions, front differential pinion thrust washers, front differential side gears, and front differential side gear thrust washers from the front differential case.
  326. Remove the pinion thrust washers and side gear thrust washers while turning the front differential pinion.


    Object Number: 2011803  Size: SH
  327. Hold the front differential pinion to the front differential case side. Using a dial indicator, measure the front differential side gear backlash.
  328. Specifications
    Standard backlash - 0.05-0.20 mm (0.002-0.0079 in)

  329. If the backlash is out of specification, install proper side gear thrust washers.

  330. Object Number: 2011254  Size: SH
  331. Using a micrometer, measure the thickness of the front differential pinion thrust washer.
  332. Specifications
    Minimum thickness - 0.09 mm (0.035 in)

  333. If the thickness is less than the minimum, replace the front differential pinion thrust washer.

  334. Object Number: 2011807  Size: SH
  335. Using a micrometer, measure the outside diameter of the No. 1 front differential pinion shaft.
  336. Specifications
    Minimum diameter - 17.975 mm (0.7076 in)

  337. If the outer diameter is less than the minimum, replace the No. 1 front differential pinion shaft.