GM Service Manual Online
For 1990-2009 cars only
Figure 1:

Differential Case


Object Number: 2011789  Size: FP
(1)Front Differential Pinion Thrust Washer
(2)Front Differential Pinion
(3)No. 1 Front Differential Pinion Shaft
(4)Front Differential Side Gear
(5)No. 1 Front Differential Side Gear Thrust Washer
(6) Front Differential Pinion
(7)Front Differential Pinion Thrust Washer
(8)Front Differential Case
(9)Front Differential Pinion Shaft Straight Pin
(10)Speedometer Drive Gear
(11)Bolt
(12)Front Differential Ring Gear
(13)Front Differential Side Gear
(14)No. 1 Front Differential Side Gear Thrust Washer
Figure 2:

Differential Case Assembly


Object Number: 2010640  Size: FP
(1)Front Differential Oil Baffle
(2)Outer Race
(3)Front Differential Case Front Tapered Roller Bearing
(4)Differential Case Assembly
(5)Front Differential Case Rear Tapered Roller Bearing
(6)Outer Race
(7)Front Differential Case Rear Shim
(8)Transmission Case Oil Seal
Figure 3:

External Transmission Components 1 of 3


Object Number: 2010638  Size: LF
(1)Clutch Release Fork Sub-Assembly
(2) Transaxle Case Oil Seal
(3)Clutch Release Bearing Assembly
(4)Bolt
(5)Bolt
(6)Speedometer Driven Hole Cover Sub-Assembly
(7)O-Ring
(8)Manual Transaxle Case
(9)Manual Transaxle Case Receiver
(10)Bolt
(11)Transmission Magnet
(12)Output Shaft Cover
(13)Output Shaft Front Bearing
(14)Input Shaft Front Bearing
(15)Front Transaxle Case Cover Oil Seal
(16)Bolt
(17)No. 2 Clutch Tube Bracket
(18)Clutch Release Bearing Hub Clip
(19)Clutch Release Fork Boot
(20)Release Fork Support
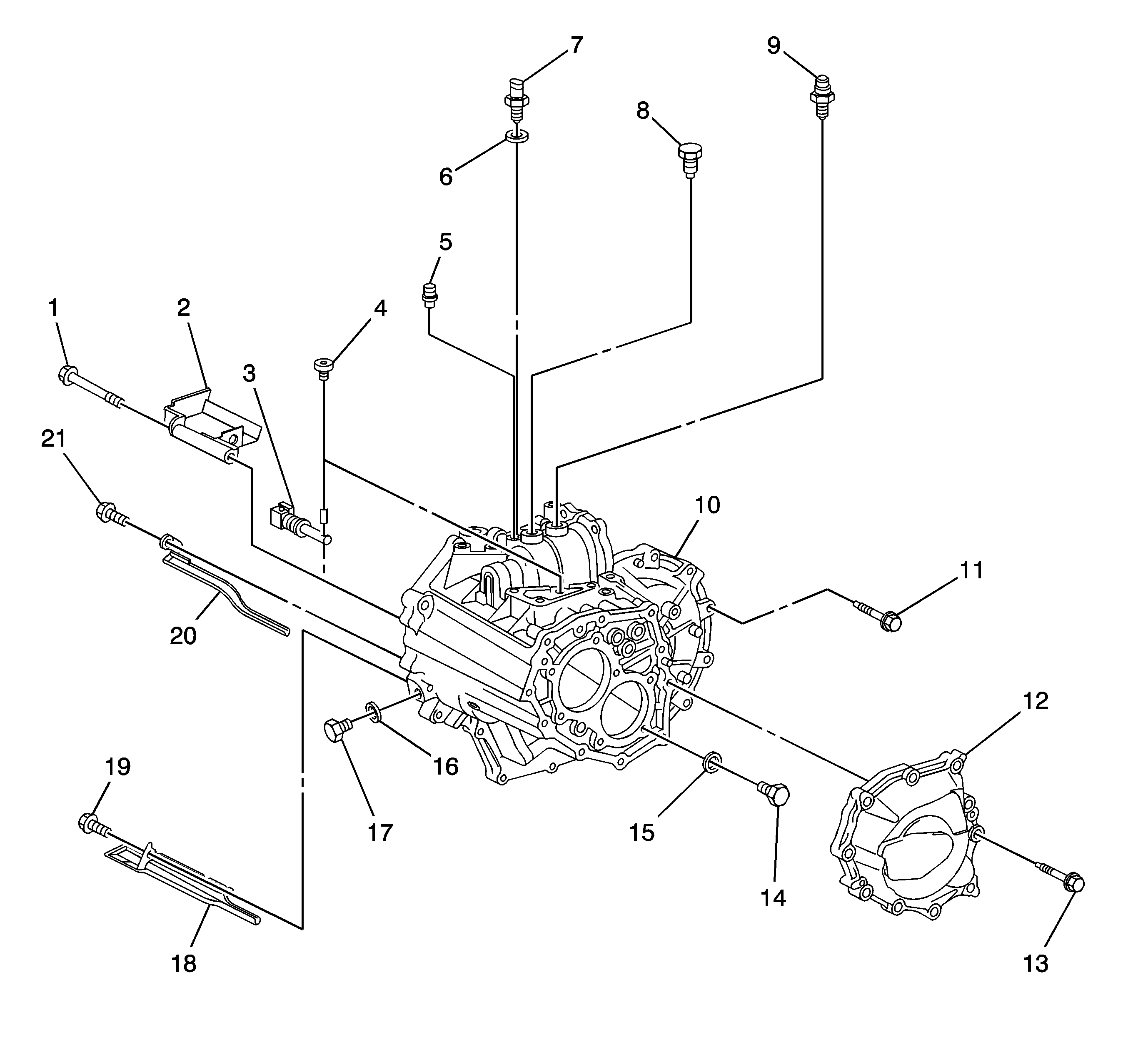
Figure 4:

External Transmission Components 2 of 3


Object Number: 2010596  Size: LF
(1)Bolt
(2)Wire Harness Clamp Bracket
(3)Bolt
(4)Wire Harness Clamp Bracket
(5)Bolt
(6)Bolt
(7)Manual Transmission Case Protector
(8)Drain Plug
(9)Gasket
(10)Gasket
(11)Filler Plug
(12)Front Engine Mounting Bracket
(13)Bolt
Figure 5:

External Transmission Components 3 of 3


Object Number: 2010650  Size: FP
(1)Transmission Oil Baffle Bolt
(2)Transmission Oil Baffle
(3)Reverse Restrict Pin Assembly
(4)Reverse Restrict Pin Plug
(5)Manual Transmission Breather Plug
(6)Gasket
(7)Backup Light Switch Assembly
(8)Shift Gate Pin
(9)No. 1 Lock Ball Assembly
(10)Manual Transmission Case
(11)Transmission Case Bolt
(12)Manual Transmission Case Cover Sub-Assembly
(13)Transmission Case Cover Sub-Assembly Bolt
(14)Drain Plug Sub-Assembly
(15)Gasket
(16)Gasket
(17)Manual Transmission Filler Plug
(18)No. 1 Oil Receiver Pipe
(19)Bolt
(20)No. 2 Oil Receiver Pipe
(21)Bolt
Figure 6:

Input Shaft


Object Number: 2011209  Size: FP
(1)Input Shaft Rear Bearing Shaft Snap Ring
(2)Input Shaft Rear Radial Ball Bearing
(3)4th Gear
(4)4th Gear Needle Roller Bearing
(5)4th Gear Bearing Spacer
(6)No. 4 Synchronizer Ring
(7)No. 2 Clutch Hub Setting Shaft Snap Ring
(8)No. 2 Synchromesh Shifting Key Spring
(9)No. 2 Synchromesh Shifting Key
(10)No. 2 Transmission Clutch Hub
(11)No. 2 Transmission Hub Sleeve
(12)No. 3 Synchronizer Ring
(13)3rd Gear
(14)3rd Gear Needle Roller Bearing
(15)Input Shaft
(16)Input Shaft Front Bearing (Inner Race)
Figure 7:

Internal Transmission Components 1 of 3


Object Number: 2010657  Size: FP
(1)Input Shaft Rear Bearing Shaft Snap Ring
(2)Bolt
(3)Rear Bearing Retainer
(4)5th Gear Needle Roller Bearing
(5)5th Gear
(6)Manual Transmission Output Shaft Rear Set Nut
(7)5th Driven Gear
(8)No. 3 Synchromesh Shifting Key Spring
(9)No. 5 Synchronizer Ring Inner
(10)No. 5 Synchronizer Ring Middle
(11)No. 5 Synchronizer Ring Outer
(12)Synchronizer Pull Ring
(13)Synchronizer Pull Ring Snap Ring
(14)No. 3 Synchromesh Shifting Key Spring
(15)No. 3 Transmission Clutch Hub
(16)No. 3 Transmission Hub Sleeve
(17)Transmission Clutch Hub No. 3 Shaft Snap Ring
Figure 8:

Internal Transmision Components 2 of 3


Object Number: 2010642  Size: FP
(1)Reverse Shift Arm Bracket Assembly
(2)Bolt
(3)Shift Form Shaft Snap Ring
(4)Reverse Shift Fork
(5)Shift Fork Set Bolt
(6)No. 1 Gear Shift Fork
(7)No. 1 Gear Shift Fork Shaft
(8)Shift Fork Shaft Snap Ring
(9)No. 2 Gear Shift Fork Shaft
(10)Shift Fork Shaft Snap Ring
(11)No. 1 Gear Shift Head
(12)Shift Head Set Bolt
(13)Shift Fork Set Bolt
(14)No. 2 Gear Shift Fork
(15)Shift Fork Set Bolt
(16)No. 3 Gear Shift Fork
(17)Shift Fork Shaft Snap Ring
(18)No. 3 Gear Shift Fork Shaft
(19)Reverse Shift Fork Roller
Figure 9:

Internal Transmission Components 3 of 3


Object Number: 2010654  Size: FP
(1)Input Shaft Assembly
(2)Output Shaft Assembly
(3)Output Shaft Rear Bearing (Outer Race)
(4)Output Shaft Rear Bearing Shim
(5)Reverse Idler Gear Sub-Assembly
(6)Reverse Idler Thrust Washer
(7)Reverse Idler Gear Shaft
(8)Reverse Idler Gear Shaft Gasket
(9)Reverse Idler Gear Shaft Bolt
Figure 10:

Output Shaft


Object Number: 2011512  Size: FP
(1)Output Shaft Rear Bearing (Inner Race)
(2)4th Driven Gear
(3)Output Gear Spacer
(4)3rd Driven Gear
(5)2nd Gear
(6)2nd Gear Bearing
(7)2nd Gear Needle Roller Bearing
(8)2nd Gear Bearing Spacer
(9)No. 2 Synchronizer Ring Set
(10)No. 1 Synchromesh Shifting Key
(11)No. 1 Transmission Clutch Hub
(12)No. 1 Synchromesh Shifting Key Spring
(13)Reverse Gear
(14)No. 1 Synchronizer Ring Set
(15)1st Gear
(16)1st Gear Needle Roller Bearing
(17)Output Shaft
(18)2nd Gear Bushing Ball
(19)Output Shaft Front Bearing
Figure 11:

Shift and Select Lever Shaft Assembly


Object Number: 2010645  Size: FP
(1)Gasket
(2)Shift and Select Lever Shaft Assembly
(3)Control Shaft Cover
(4)Bolt
(5)Nut
(6)Spring Washer
(7)Control Shift Lever
(8)Shift Outer Lever Lock Pin
(9)Shift and Select Lever Bushing
(10)Selecting Bellcrank Assembly
(11)Bolt