GM Service Manual Online
For 1990-2009 cars only

Removal Procedure

  1. Drain the manual transaxle oil.
  2. Remove the front drive shaft assembly. Refer to Front Wheel Drive Shaft Replacement - Left Side or Front Wheel Drive Shaft Replacement - Right Side.

  3. Object Number: 2010226  Size: SH
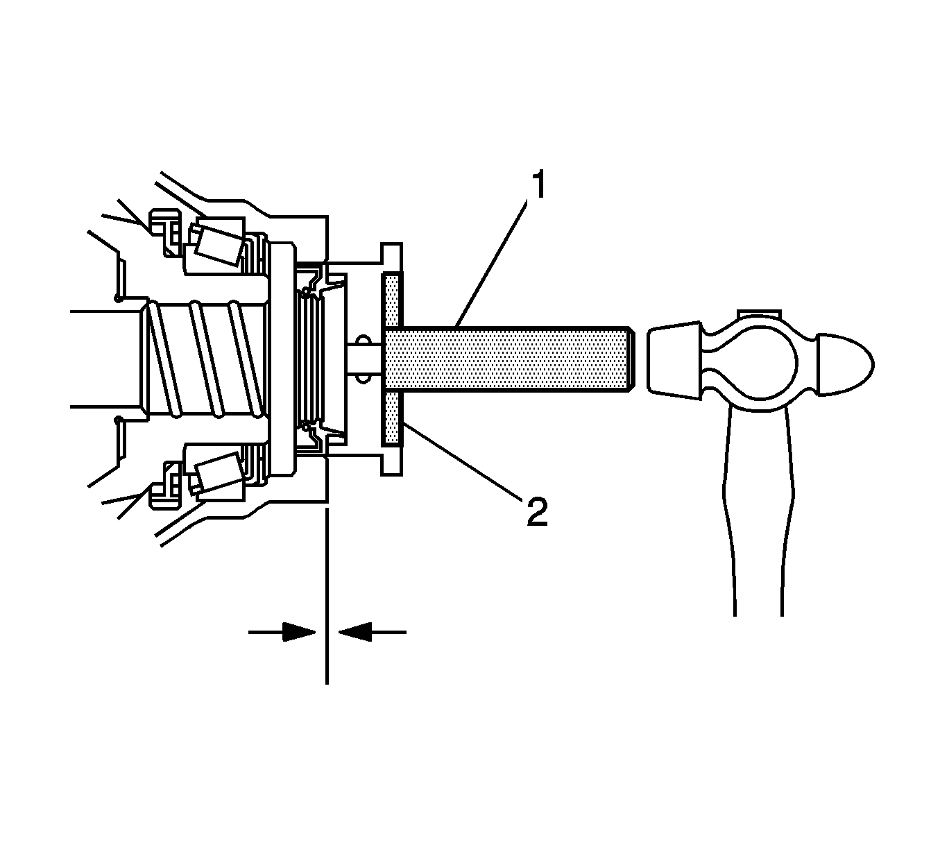
  4. Using a suitable puller (1), remove the transaxle case oil seal.

  5. Object Number: 2010175  Size: SH
  6. Using a suitable puller (1), remove the transmission case oil seal.

Installation Procedure


    Object Number: 2010231  Size: SH
  1. Coat the lip of a new oil seal with MP grease.
  2. Using a suitable seal driver (1) and a hammer, tap in the oil seal.
  3. Specifications
    Standard depth: -0.5-0.5 mm (-0.020 -0.020 in)


    Object Number: 2010234  Size: SH
  4. Coat the lip of a new oil seal with MP grease.
  5. Using a suitable seal driver (1) and a hammer, tap in the oil seal.
  6. Specifications
    Standard depth: 3.0-4.0 mm (0.11181- 0.020 in)

  7. Install the front drive shaft assembly. Refer to Front Wheel Drive Shaft Replacement - Left Side or Front Wheel Drive Shaft Replacement - Right Side.
  8. Add manual transaxle oil.
  9. Inspect the manual transaxle oil. Refer to Transmission Fluid Replacement.