GM Service Manual Online
For 1990-2009 cars only

Special Tools

J 35405 Differential Preload Wrench


    Object Number: 2011253  Size: SH
  1. Coat the sliding and rotating surfaces of the front differential side gear with gear oil.
  2. Install the front No. 1 differential side gear thrust washers onto the front differential side gears.
  3. Note: While rotating the front differential side gear, install the front differential pinions and front differential pinion thrust washers.

  4. Install the front differential side gears, front differential pinions, and front differential pinion thrust washers onto the front differential case.

  5. Object Number: 2011251  Size: SH
  6. Coat the front No. 1 differential pinion shaft with MP grease.
  7. Install the front No. 1 differential pinion shaft onto the front differential case so that the hole for the front differential pinion shaft straight pin is aligned with the hole in the front differential case.

  8. Object Number: 2011244  Size: SH
  9. Adjust the front differential side gear backlash.
  10. Install the front differential pinion to the front differential case side. Using a dial indicator, measure the front differential side gear backlash.
  11. Specification
    Standard Backlash: 0.05-0.20 mm (0.0020-0.0079 in)

  12. If the backlash is out of the specification, replace the side gear thrust washers.

  13. Object Number: 2011261  Size: SH
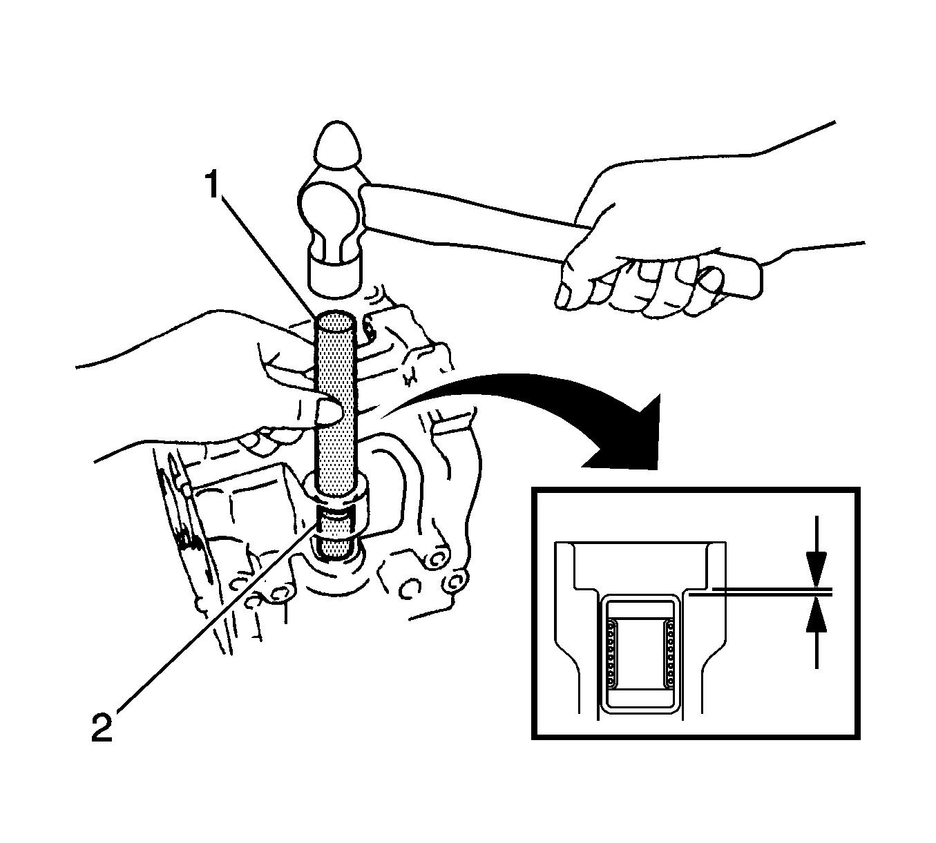
  14. Using a pin punch (3 mm) and a hammer, install the front differential pinion shaft straight pin onto the front differential case.

  15. Object Number: 2011263  Size: SH
  16. Using a chisel and a hammer, stake the front differential case hole.

  17. Object Number: 2011266  Size: SH
  18. Clean the contact surfaces of the front differential case and ring gear.
  19. Using a heater, heat the front differential ring gear to 90-100°C (194-230°F).
  20. After the moisture on the ring gear has completely evaporated, quickly install the ring gear onto the differential case.

  21. Object Number: 2011241  Size: SH
  22. Aligning the matchmarks (1), quickly install the front differential ring gear onto the front differential case.
  23. Caution: Refer to Fastener Caution in the Preface section.

  24. Install the bolts and tighten to 77 N·m (57 lb ft).

  25. Object Number: 2011239  Size: SH
  26. Install the speedometer drive gear onto the front differential case.

  27. Object Number: 2011114  Size: SH
  28. Coat the No. 2 transmission hub sleeve with gear oil.
  29. Install the synchromesh shifting key springs and synchromesh shifting keys to the No. 2 transmission clutch hub.

  30. Object Number: 2011117  Size: SH

    Note: Position the No. 2 transmission hub sleeve and No. 2 transmission clutch hub correctly together.

  31. Install the No. 2 transmission clutch hub onto the No. 2 transmission hub sleeve.

  32. Object Number: 2011121  Size: SH
  33. Coat the 3rd gear needle roller bearing with gear oil and install it onto the input shaft.

  34. Object Number: 2011124  Size: SH
  35. Coat the 3rd gear with gear oil and install it onto the input shaft.

  36. Object Number: 2011126  Size: SH
  37. Coat the 3rd gear synchronizer ring with gear oil and install it onto the 3rd gear.

  38. Object Number: 2011128  Size: SH

    Note: Fit the synchromesh shifting keys into the grooves of the synchronizer ring correctly.

  39. Using a press, install the No. 2 transmission clutch hub (1) onto the input shaft.

  40. Object Number: 2011130  Size: SH
  41. Select a snap ring that will allow minimum axial play. Refer to Manual Transmission Specifications for Snap Ring Thickness 1.
  42. Specification
    Standard Clearance: 0.1 mm (0.0039 in) or less

  43. Using a brass bar and a hammer, install the snap ring onto the input shaft.

  44. Object Number: 2011135  Size: SH
  45. Coat the 4th gear synchronizer ring with gear oil and install it onto the No. 2 transmission clutch hub.

  46. Object Number: 2011067  Size: SH
  47. Coat the 4th gear needle roller bearing and 4th gear bearing spacer with gear oil and install them onto the No. 2 transmission clutch hub.

  48. Object Number: 2011137  Size: SH
  49. Coat the 4th gear with gear oil and install it onto the input shaft.

  50. Object Number: 2011138  Size: SH
  51. Using a press (1), install the input shaft rear radial ball bearing onto the input shaft.

  52. Object Number: 2011142  Size: SH
  53. Select a snap ring that will allow minimum axial play. Refer to Manual Transmission Specifications for Snap Ring Thickness 2.
  54. Specification
    Standard Clearance: 0.1 mm (0.0039 in) or less

    Note: Do not damage the journal surface of the snap ring.

  55. Using a brass bar and a hammer, install the snap ring onto the input shaft.
  56. Inspect the 3rd gear radial clearance.

  57. Object Number: 2011046  Size: SH
  58. Using a dial indicator, measure the 3rd gear radial clearance.
  59. Specifications

        • Standard clearance, NSK made bearing - 0.015-0.056 mm (0.0005-0.0022 in)
        • Standard clearance, KOYO made bearing - 0.015-0.058 mm (0.0005-0.0022 in)
        • Maximum clearance, NSK made bearing - 0.056 mm (0.0022 in)
        • Maximum clearance, KOYO made bearing - 0.058 mm (0.0022 in)
  60. If the clearance exceeds the maximum, replace the 3rd gear, 3rd gear needle roller bearing or input shaft.
  61. Inspect the 4th gear radial clearance.

  62. Object Number: 2011045  Size: SH
  63. Using a dial indicator, measure the 4th gear radial clearance between the gear and shaft.
  64. Specifications

        • Standard clearance, NSK made bearing - 0.009-0.050 mm (0.0003-0.0019 in)
        • Standard clearance, KOYO made bearing - 0.009-0.050 mm (0.0003-0.0019 in)
        • Maximum clearance, NSK made bearing - 0.050 mm (0.0019 in)
        • Maximum clearance, KOYO made bearing - 0.050 mm (0.0019 in)
  65. If the clearance exceeds the maximum, replace the 4th gear, 4th gear needle roller bearing or input shaft.
  66. Inspect the 3rd gear thrust clearance.

  67. Object Number: 2011043  Size: SH
  68. Using a dial indicator, measure the 3rd gear thrust clearance.
  69. Specifications

        • Standard clearance - 0.10-0.35 mm (0.0039-0.0138 in)
        • Maximum clearance - 0.35 mm (0.0138 in)
  70. If the clearance exceeds the maximum, replace the No. 2 transmission clutch hub, 3rd gear or input shaft.

  71. Object Number: 2011037  Size: SH
  72. Inspect the 4th gear thrust clearance.
  73. Using a feeler gage, measure the 4th gear thrust clearance.
  74. Specifications

        • Standard clearance - 0.10-0.55 mm (0.0039-0.0217 in)
        • Maximum clearance - 0.55 mm (0.0217 in)
  75. If the clearance exceeds the maximum, replace the No. 2 transmission clutch hub, 4th gear or input shaft rear radial ball bearing.

  76. Object Number: 2011201  Size: MH
  77. Inspect the reverse gear.
  78. Using vernier calipers, measure the width of the reverse gear groove (a) and the thickness of the claw part on the reverse shift fork (b), and calculate the clearance.
  79. Specifications
    Standard Clearance (a-b): 0.15-0.35 mm (0.0059-0.0138 in)

  80. If the clearance is out of the specification, replace the reverse gear and reverse shift fork.

  81. Object Number: 2011202  Size: SH
  82. Inspect that the No. 1 transmission clutch hub and reverse gear slide smoothly.
  83. Inspect that the edges of the reverse gear spline gear are not worn down.

  84. Object Number: 2011204  Size: SH
  85. Coat the reverse gear and No. 1 transmission clutch hub with gear oil.
  86. Install the synchromesh shifting key springs and synchromesh keys to the No. 1 transmission clutch hub.

  87. Object Number: 2011207  Size: SH

    Note: Position the reverse gear and No. 1 transmission clutch hub correctly.

  88. Install the reverse gear onto the No. 1 transmission clutch hub assembly.

  89. Object Number: 2011171  Size: SH
  90. Coat the 1st gear thrust washer pin or ball (1) with MP grease and install it onto the output shaft.

  91. Object Number: 2011170  Size: SH
  92. Coat the 1st gear thrust washer (1) with gear oil and install it onto the output shaft.

  93. Object Number: 2011168  Size: SH
  94. Coat the 1st gear needle roller bearing (1) with gear oil and install it onto the output shaft.

  95. Object Number: 2011191  Size: SH
  96. Coat the 1st gear cone and No. 1 synchronizer ring set (inner ring, middle ring, and outer ring) with gear oil.
  97. Install the inner ring onto the 1st gear.

  98. Object Number: 2011192  Size: SH
  99. Install the middle ring onto the 1st gear.

  100. Object Number: 2011193  Size: SH
  101. Install the outer ring onto the 1st gear.

  102. Object Number: 2011212  Size: SH
  103. Coat the 1st gear with gear oil and install it onto the output shaft.

  104. Object Number: 2011217  Size: SH

    Note: 

       • The 1st gear can be turned.
       • While checking that the 1st gear thrust washer pin or ball is inserted into the groove of the 1st gear thrust washer, press and fit the No. 1 clutch hub.

  105. Using a press, install the No. 1 transmission clutch hub (1) onto the output shaft.

  106. Object Number: 2011218  Size: SH
  107. Select a snap ring that will allow minimum axial play. Refer to Manual Transmission Specifications for Snap Ring Thickness 3.
  108. Specification
    Standard Clearance: 0.1 mm (0.004 in)

  109. Using a brass bar and a hammer, install the snap ring onto the output shaft.

  110. Object Number: 2011222  Size: SH
  111. Coat the 2nd gear needle roller bearing (1) and 2nd gear bearing spacer with gear oil, and install them onto the output shaft.

  112. Object Number: 2011181  Size: SH
  113. Coat the 2nd gear cone and No. 2 synchronizer ring set (inner ring, middle ring, and outer ring) with gear oil.
  114. Install the inner ring onto the 2nd gear.

  115. Object Number: 2011182  Size: SH
  116. Install the middle ring onto the 2nd gear.

  117. Object Number: 2011187  Size: SH
  118. Install the outer ring onto the 2nd gear.

  119. Object Number: 2011225  Size: SH
  120. Coat the 2nd gear with gear oil and install it onto the output shaft.

  121. Object Number: 2011229  Size: SH
  122. Using a press, install the 3rd driven gear (1) onto the output shaft.

  123. Object Number: 2011159  Size: SH
  124. Install the output gear spacer (1) onto the output shaft.

  125. Object Number: 2011231  Size: SH
  126. Using a press (1), install the 4th driven gear onto the output shaft.

  127. Object Number: 2011234  Size: SH
  128. Using a press (1), install the output shaft rear bearing onto the output shaft.

  129. Object Number: 2011156  Size: SH
  130. Using a dial indicator, measure the 2nd gear radial clearance.
  131. Specifications

        • Standard clearance, NSK made bearing - 0.015-0.056 mm (0.0006-0.0022 in)
        • Standard clearance, KOYO made bearing - 0.015-0.058 mm (0.0006-0.0023 in)
        • Maximum clearance, NSK made bearing - 0.056 mm (0.0022 in)
        • Maximum clearance, KOYO made bearing - 0.058 mm (0.0023 in)
  132. If the clearance exceeds the maximum, replace the 2nd gear, 2nd gear needle roller bearing or input shaft.

  133. Object Number: 2011154  Size: SH
  134. Using a dial indicator, measure the 1st gear radial clearance.
  135. Specifications

        • Standard clearance, NSK made bearing - 0.015-0.056 mm (0.0006-0.0022 in)
        • Standard clearance, KOYO made bearing - 0.015-0.058 mm (0.0006-0.0023 in)
        • Maximum clearance, NSK made bearing - 0.056 mm (0.0022 in)
        • Maximum clearance, KOYO made bearing - 0.058 mm (0.0023 in)
  136. If the clearance exceeds the maximum, replace the 1st gear, 1st gear needle roller bearing or input shaft.

  137. Object Number: 2011152  Size: SH
  138. Using a dial indicator, measure the 2nd gear thrust clearance.
  139. Specifications

        • Standard Clearance - 0.010-0.55 mm (0.0006-0.0022 in)
        • Maximum Clearance - 0.055 mm (0.0217 in)
  140. If the clearance exceeds the maximum, replace the No. 1 transmission clutch hub, 2nd gear or 3rd driven gear.

  141. Object Number: 2011151  Size: SH
  142. Using a feeler gage, measure the 1st gear thrust clearance.
  143. Specifications

        • Standard Clearance - 0.010-0.40 mm (0.0039-0.0157 in)
        • Maximum Clearance - 0.40 mm (0.0157 in)
  144. If the clearance exceeds the maximum, replace the 1st gear thrust washer, 1st gear or No. 1 transmission clutch hub.

  145. Object Number: 2010808  Size: SH
  146. Using a caliper gage, inspect the reverse idler gear.
  147. Specifications

        • Standard inside diameter - 18.040-18.058 mm (0.7102-0.7109 in)
        • Maximum inside diameter - 18.058 mm (0.7109 in)
  148. If the inside diameter exceeds the maximum, replace the reverse idler gear sub-assembly.
  149. Using a micrometer, inspect the reverse idler gear shaft.
  150. Specifications

        • Standard outer diameter - 17.966-17.984 mm (0.7073-0.7080 in)
        • Minimum outer diameter - 17.966 mm (0.7073 in)
  151. If the outer diameter is less than the minimum, replace the reverse idler gear shaft.

  152. Object Number: 2010810  Size: SH

    Note: Insert the output shaft cover key into the case groove.

  153. Coat the output shaft cover with MP grease and install it onto the transaxle case.

  154. Object Number: 2010812  Size: SH
  155. Coat a new output shaft front bearing with gear oil.
  156. Note: 

       • Install the new bearing in the correct direction.
       • When replacing the output shaft front bearing, replace the output shaft front bearing inner race at the same time.

  157. Using a press (1), install it onto the transaxle case.

  158. Object Number: 2010818  Size: SH
  159. Coat the lip of the front transaxle case oil seal with MP grease.
  160. Using a suitable driver (2) and a hammer (1), install a new front transaxle case oil seal onto the transaxle case.
  161. Specification
    Driven in depth - 15.6-16.0 mm (0.6141-0.6299 in)


    Object Number: 2010821  Size: SH
  162. Coat a new input shaft front bearing with gear oil, and using a press (1), install it onto the transaxle case.
  163. Specification
    Driven in depth - 0-0.3 mm (0-0.0118 in)


    Object Number: 2010823  Size: SH
  164. Using a suitable driver (1) and a hammer, install a new shift and select lever shaft slide ball bearing onto the manual transmission case.
  165. Specification
    Driven in depth - 0-0.5 mm (0-0.020 in)


    Object Number: 2010825  Size: SH
  166. Install a new shift and select lever shaft oil seal (1) onto the manual transmission case.
  167. Specification
    Driven in depth - 9.7-10.3 mm (0.382-0.406 in)


    Object Number: 2010827  Size: SH
  168. Using a press (1), install a new front differential case front tapered roller bearing (inner race) onto the front differential case.

  169. Object Number: 2010836  Size: SH
  170. Using a press (1), install the front differential case front tapered roller bearing (outer race) together with the plate washer onto the transaxle case.

  171. Object Number: 2010837  Size: SH
  172. Using a press (1), install a new front differential case rear tapered roller bearing (inner race) to the differential case.

  173. Object Number: 2010840  Size: SH

    Note: Use a plate washer of the same thickness as the removed one.

  174. Using a press (1), install the front differential case rear tapered roller bearing (outer race) with the plate washer onto the manual transmission case.

  175. Object Number: 2010742  Size: SH
  176. Coat the differential case assembly with gear oil and install it onto the transaxle case.
  177. Install the manual transmission case with the bolts and tighten to 29 N·m (22 lb ft).

  178. Object Number: 2010842  Size: SH

    Object Number: 2010846  Size: SH
  179. Using J 35405 wrench , check the preload.
  180. Preload

        • New bearing: 0.78-1.57 N·m (6.9-13.89 lb in)
        • Used bearing: 0.49-0.98 N·m (4.34-8.67 lb in)
  181. If the preload is out of the specification, select a different plate washer. Refer to Manual Transmission Specifications for Plate Washer Thickness.
  182. Note: The preload changes by approximately 0.3-0.4 N·m (2.6-3.5 lb in) per each 0.05 mm (0.0020 in) change in the plate washer thickness.

  183. Remove the bolts and the manual transmission case.
  184. Remove the differential case assembly from the transaxle case.

  185. Object Number: 2010848  Size: SH
  186. Coat the lip of the front transmission case oil seal with MP grease.
  187. Using a suitable driver (1) and a hammer, install a new transmission case oil seal onto the manual transmission case.
  188. Specification
    Driven in depth: 9.6-10.2 mm (0.378-0.402 in)


    Object Number: 2010853  Size: SH
  189. Coat the lip of the transaxle case oil seal with MP grease.
  190. Using a suitable driver (1) and a hammer, install a new transaxle case oil seal onto the transaxle case.
  191. Specification
    Driven in depth: 1.6-2.2 mm (0.063-0.087 in)


    Object Number: 2010758  Size: SH
  192. Clean the transmission magnet and install it onto the transaxle case.

  193. Object Number: 2010755  Size: SH
  194. Install the bearing lock plate onto the transaxle case with the bolt (1) and tighten to 11 N·m (97 lb in).

  195. Object Number: 2010855  Size: SH

    Note: 

       • Do not deform the No. 1 oil receiver pipe.
       • Install the No. 1 oil receiver pipe while holding it against the manual transmission case.

  196. Install the No. 1 oil receiver pipe onto the manual transmission case with the bolt and tighten to 17 N·m (13 lb ft).

  197. Object Number: 2010857  Size: SH

    Note: 

       • Do not deform the No. 2 oil receiver pipe.
       • Install the No. 2 oil receiver pipe (1) while holding it against the manual transmission case.

  198. Install the No. 2 oil receiver pipe onto the manual transmission case with the bolt and tighten to 17 N·m (13 lb ft).

  199. Object Number: 2010860  Size: SH

    Note: Set the reverse restrict pin assembly in the correct direction.

  200. Install the reverse restrict pin assembly onto the manual transmission case.

  201. Object Number: 2010862  Size: SH
  202. Using a pin punch (5 mm) and a hammer, install the slotted spring pin onto the reverse restrict pin assembly.
  203. Specification
    Drive in depth: 15.5-16.5 mm (0.6102-0.6496 in)


    Object Number: 2010863  Size: SH
  204. Apply Three Bond 1344 or equivalent sealant to the reverse restrict pin plug.
  205. Using a hexagon wrench and a torque wrench, install the reverse restrict pin plug onto the manual transmission case and tighten to 13 N·m (115 lb in).

  206. Object Number: 2010747  Size: SH
  207. Install the manual transaxle case receiver onto the transaxle case with the bolt (1) and tighten to 11 N·m (97 lb in).

  208. Object Number: 2010742  Size: SH
  209. Coat the differential case tapered roller bearing with gear oil and install the differential case assembly onto the transaxle case.

  210. Object Number: 2010740  Size: SH
  211. Coat the sliding and rotating surfaces of the input and output shafts with gear oil and install them onto the transaxle case.

  212. Object Number: 2010869  Size: SH

    Note: Align the mark (1) on the reverse idler gear shaft with the bolt hole.

  213. Coat the reverse idler gear sub-assembly, thrust washer, and reverse idler gear shaft with gear oil, and install them.

  214. Object Number: 2010871  Size: SH
  215. Coat the No. 1 gear shift fork (1) and No. 2 gear shift fork (2) with gear oil and install them.

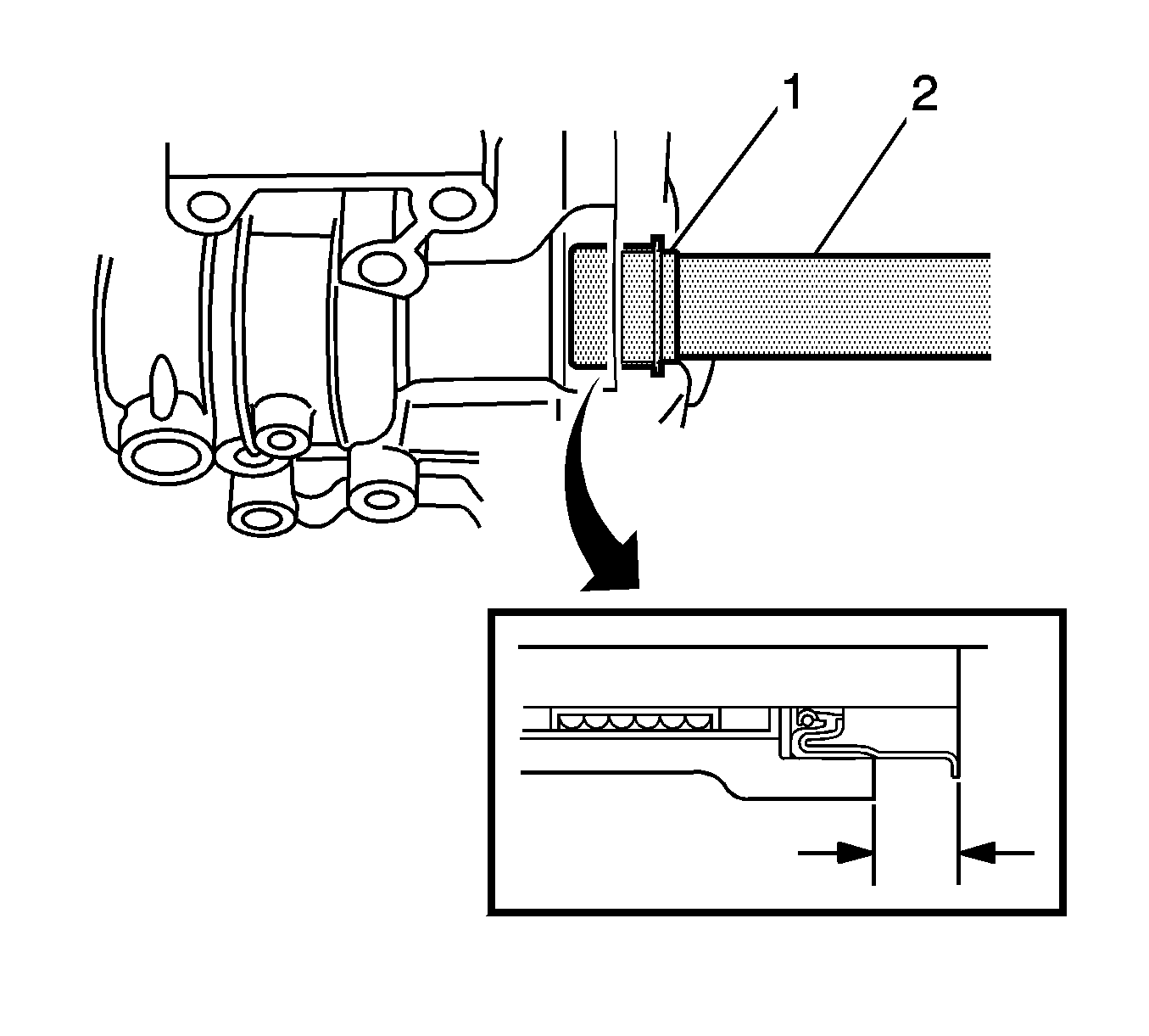
  216. Object Number: 2010872  Size: SH
  217. Coat the No. 1 gear shift fork (2) shaft with gear oil and install it.
  218. Apply three bond 1344 sealant, or equivalent, to the shift fork set bolt.
  219. Install the shift fork set bolt (2) and tighten to 16 N·m (12 lb ft).

  220. Object Number: 2010876  Size: SH
  221. Using a brass bar and a hammer, install a new shaft snap ring onto the No. 1 gear shift fork shaft.

  222. Object Number: 2010881  Size: SH
  223. Coat the shift fork balls (1) with MP grease and install them onto the reverse shift fork.
  224. Install the reverse shift fork onto the No. 3 gear shift fork shaft.

  225. Object Number: 2010883  Size: SH
  226. Using a brass bar and a hammer, install new shift fork shaft snap rings (1, 2) onto the No. 3 shift fork shaft.

  227. Object Number: 2010886  Size: SH
  228. Coat the No. 3 gear shift fork shaft with gear oil and install it.

  229. Object Number: 2010888  Size: MH

    Note: To avoid interference by the shift fork balls, lift up the No. 3 gear shift fork shaft to the position.

  230. Coat the No. 1 gear shift head and No. 2 gear shift fork shaft with gear oil and install them.

  231. Object Number: 2010720  Size: SH
  232. Coat the shift lock bolts (1, 2) with three bond 1344 sealant, or equivalent, and install them onto the No. 2 gear shift fork and No. 1 shift head. Tighten the bolts to 16 N·m (12 lb ft).

  233. Object Number: 2010717  Size: SH
  234. Install the reverse shift arm bracket assembly onto the front transaxle case with the bolts (1, 2) and tighten to 17 N·m (13 lb ft).

  235. Object Number: 2010902  Size: SH
  236. Apply three bond 1281 sealant (1), or equivalent, to the manual transmission case.

  237. Object Number: 2010709  Size: SH
  238. Install the bolts (1-13) onto the manual transmission side and tighten to 29 N·m (22 lb ft).

  239. Object Number: 2010707  Size: SH
  240. Coat the bolts (1-3) with three bond 1344 sealant, or equivalent, and install them onto the manual transaxle side. Tighten the bolts to 29 N·m (22 lb ft).

  241. Object Number: 2010686  Size: SH
  242. Coat the reverse idler gear shaft bolt (1) with three bond 1344 sealant, or equivalent, and install it with a new gasket. Tighten the bolt to 29 N·m (22 lb ft).

  243. Object Number: 2010701  Size: SH
  244. Coat the No. 2 lock ball assembly with three bond 1344 sealant, or equivalent, and install it using a hexagon wrench. Tighten the bolts to 29 N·m (22 lb ft).

  245. Object Number: 2010913  Size: SH
  246. Install the shift detent balls, shift detent ball springs, and shift spring seats onto the manual transmission case.

  247. Object Number: 2010692  Size: SH
  248. Coat the threads of the shift detent ball plugs with three bond 1344 sealant, or equivalent, and install them using a hexagon wrench. Tighten the bolts to 22 N·m (16 lb ft).

  249. Object Number: 2010915  Size: SH
  250. Install the shift detent ball, shift detent ball compression spring, and spring seat onto the transaxle case.

  251. Object Number: 2010695  Size: SH
  252. Coat the threads of the shift detent ball plug with three bond 1344 sealant, or equivalent, and install it using a hexagon wrench. Tighten the bolts to 22 N·m (16 lb ft).

  253. Object Number: 2010685  Size: SH
  254. Using a snap ring expander, install a new input shaft rear bearing hole snap ring onto the input shaft.

  255. Object Number: 2010682  Size: SH
  256. Using a snap ring expander, install a new output shaft rear bearing hole snap ring onto the output shaft.

  257. Object Number: 2010933  Size: SH
  258. Using a brass bar and a hammer, install a new shift fork shaft snap ring onto the No. 2 shift fork shaft.

  259. Object Number: 2010936  Size: SH
  260. Coat the bolts with three bond 1344 sealant, or equivalent, and install the rear bearing retainer onto the manual transmission case with the bolts. Tighten the bolts to 27 N·m (20 lb ft).

  261. Object Number: 2010985  Size: SH
  262. Using a suitable tool (1,2), install the 5th driven gear onto the output shaft.

  263. Object Number: 2010672  Size: SH
  264. Coat the 5th gear needle roller bearing and 5th gear bearing spacer with gear oil, and install them onto the input shaft.

  265. Object Number: 2010986  Size: SH
  266. Coat the 5th gear with gear oil and install it onto the input shaft.

  267. Object Number: 2010989  Size: SH
  268. Coat the No. 3 synchronizer ring with gear oil and install it onto the 5th gear.

  269. Object Number: 2010993  Size: SH

    Note: Do not set the shifting key spring openings in the same position.

  270. Install the synchromesh shifting keys and synchromesh shifting key springs onto the No. 3 transmission clutch hub.

  271. Object Number: 2010996  Size: MH

    Note: 

       • Do not install the No. 3 transmission clutch hub in the wrong direction.
       • Install the No. 3 transmission clutch hub with the No. 3 synchronizer ring key groove and the No. 3 synchromesh shifting key aligned.
       • Check that the 5th gear can rotate smoothly.
       • Place a suitable sized wooden block to support the input shaft.

  272. Using a suitable driver (1) and a hammer, install the No. 3 transmission clutch hub onto the input shaft.
  273. Select a snap ring that will allow minimum axial play. Refer to Manual Transmission Specifications for Snap Ring Thickness 4.

  274. Object Number: 2010997  Size: SH
  275. Using a brass bar and a hammer, install a new snap ring onto the input shaft.

  276. Object Number: 2010659  Size: SH
  277. Using a dial indicator, measure the 5th gear thrust clearance.
  278. Specification

        • Standard clearance: 0.10-0.55 mm (0.0039-0.0217 in)
        • Maximum clearance: 0.55 mm (0.0217 in)
  279. If the clearance exceeds the maximum, replace the No. 3 transmission clutch hub, 5th gear or input shaft rear radial ball bearing.

  280. Object Number: 2010661  Size: SH
  281. Using a dial indicator, measure the 5th gear radial clearance.
  282. Specification

        • Standard clearance: NSK made bearing: 0.015-0.05  mm (0.0006-0.0022 in)
        • Standard clearance: KOYO made bearing: 0.015-0.058 mm (0.0006-0.0023 in)
        • Maximum clearance: NSK made bearing: 0.056 mm (0.0022 in)
        • Maximum clearance: KOYO made bearing: 0.058 mm (0.0023 in)
  283. If the clearance exceeds the maximum, replace the 5th gear, 5th gear needle roller bearing or input shaft.

  284. Object Number: 2011001  Size: SH

    Note: Set the No. 3 transmission clutch hub in the correct direction.

  285. Coat the No. 3 transmission clutch hub sleeve with gear oil and install it together with the No. 3 gear shift fork onto the No. 3 transmission clutch hub.

  286. Object Number: 2011003  Size: SH
  287. Coat the gear shift fork lock bolt with three bond 1344 sealant, or equivalent, and install it onto the No. 3 gear shift fork. Tighten the bolt to 16 N·m (12 lb ft).

  288. Object Number: 2011011  Size: SH
  289. Engage the gears simultaneously to lock the transmission.
  290. Install a new manual transmission output shaft rear nut and tighten to 118 N·m (87 lb ft).

  291. Object Number: 2011013  Size: SH
  292. Using a chisel and a hammer, stake the manual transmission output shaft rear set nut.
  293. Disengage the gears.

  294. Object Number: 2011017  Size: SH

    Note: Assemble the parts within 10 minutes of application. Otherwise, the sealant must be removed and reapplied.

  295. Apply three bond 1344 sealant (1), or equivalent, to the manual transmission case cover sub-assembly.

  296. Object Number: 2010643  Size: SH
  297. Install the manual transmission case cover sub-assembly with the bolts onto the manual transmission case and tighten to 21 N·m (15 lb ft).

  298. Object Number: 2010639  Size: SH
  299. Coat the shift and select lever shaft assembly with gear oil and install it onto the transmission case.

  300. Object Number: 2011022  Size: SH
  301. Using a suitable driver (1) and a hammer, install a new control shaft cover oil seal onto the control shaft cover.
  302. Specification
    Driven in depth: 0.2-1.2 mm (0.0079-0.0472 in)

  303. Coat the control shaft cover oil seal with MP grease.

  304. Object Number: 2010635  Size: SH

    Note: Set the claws of the shift interlock plate into the shift head part of the gear shift fork shaft securely.

  305. Coat the threads of the bolts (1-4) with sealant, three bond 1344 or equivalent.
  306. Install a new gasket and the control shaft cover onto the manual transmission case with the bolts and tighten to 20 N·m (14 lb ft).


    Object Number: 2010634  Size: SH
  307. Coat the threads of the shift guide pin with sealant, three bond 1344 or equivalent.
  308. Install the washer and shift guide pin (1) and tighten the bolts to 11 N·m (97 lb in).

  309. Object Number: 2010633  Size: SH
  310. Coat the threads of the No. 1 lock ball assembly (1) with three bond 1344 sealant, or equivalent, and install it onto the manual transmission case. Tighten the bolts to 29 N·m (22 lb ft).

  311. Object Number: 2010629  Size: SH
  312. Install the dust boot onto the control shaft cover.
  313. Install the shift lever damper with the lock pin onto the shift and select lever shaft assembly.
  314. Install the washer with the nut (1) and tighten the bolts to 12 N·m (106 lb in).

  315. Object Number: 2010626  Size: SH
  316. Install the dust boot onto the shift and select lever shaft oil seal.
  317. Install the floor shift control shift lever with the lock pin onto the shift and select lever shaft assembly.
  318. Install the washer with the nut (1) and tighten the bolts to 12 N·m (106 lb in).

  319. Object Number: 2010623  Size: SH

    Note: Apply MP grease to the inside circumferential surface of the control shift lever bush.

  320. Install the selecting bellcrank assembly together with the control bellcrank dust cover onto the manual transmission case with the bolts (1, 2) and nut (3).
  321. • Tighten the bolts to 25 N·m (18 lb ft).
    • Tighten the nuts to 12 N·m (106 lb in).
  322. Install the back-up light switch assembly onto the manual transmission case with a new gasket and tighten to 40 N·m (30 lb ft).
  323. Install the back-up light switch wire harness into the clamps.
  324. Install a new O-ring onto the speedometer driven hole cover sub-assembly.

  325. Object Number: 2010616  Size: SH
  326. Install the speedometer driven hole cover sub-assembly onto the manual transaxle case with the bolt and tighten to 11 N·m (97 lb in).

  327. Object Number: 2010610  Size: SH
  328. Install the manual transmission filler plug onto the manual transmission case with a new gasket and tighten to 39 N·m (29 lb ft).

  329. Object Number: 2010612  Size: SH
  330. Install the drain plug onto the manual transmission case with a new gasket and tighten to 39 N·m (29 lb ft).