GM Service Manual Online
For 1990-2009 cars only

Removal Procedure

  1. Drain the manual transaxle oil. Refer to Transmission Fluid Replacement.
  2. Remove the front drive shaft assembly. Refer to Front Wheel Drive Shaft Replacement - Left Side for the left side or Front Wheel Drive Shaft Replacement - Right Sidefor the right side.

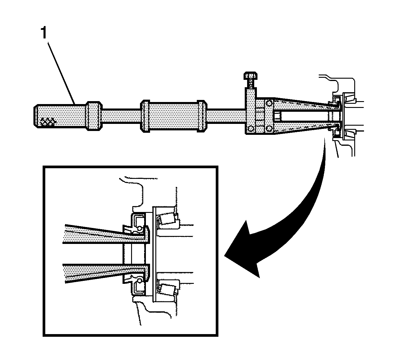
  3. Object Number: 2010175  Size: SH
  4. Using a slide hammer (1), remove the transmission case oil seal.

Installation Procedure

  1. Coat the lip of a new oil seal with MP grease.
  2. Install the left side transmission case oil seal using a suitable tool.
  3. Caution: Refer to Fastener Caution in the Preface section.

  4. Tap in the oil seal.
  5. Specification
    Standard depth: 9.6-10.2 mm (0.378-0.402 in)

  6. Coat the lip of a new oil seal with MP grease.
  7. Specification
    Standard depth: 1.6-2.2 mm (0.0630-0.0866 in)

  8. Install the right side transaxle case oil seal.
  9. Install the front drive shaft assembly. Refer to Front Wheel Drive Shaft Replacement - Left Side for the left side or Front Wheel Drive Shaft Replacement - Right Sidefor the right side.
  10. Add manual transaxle oil.
  11. Inspect the manual transaxle oil.