GM Service Manual Online
For 1990-2009 cars only
Figure 1:

Auto Trans Assembly - LAX U140F


Object Number: 2022207  Size: LF
(1)Transmission Connector
(2)Oil Cooler Outlet Tube
(3)Input Speed Sensor (ISS) NC
(4)Input Speed Sensor (ISS) NT
(5)Park/Neutral Position (PNP) Switch
(6)Oil Cooler Inlet Tube
Figure 2:

Auto Trans Assembly - LAX U250E


Object Number: 2022216  Size: LF
(1)Input Speed Sensor (ISS) NC
(2)Input Speed Sensor (ISS) NT
(3)Automatic Transaxle Assembly
(4)Transmission Connector
(5)Park/Neutral Position (PNP) Switch
(6)Starter
Figure 3:

Auto Trans Assembly - LAY U341E


Object Number: 2022212  Size: LF
(1)Input Speed Sensor (ISS)
(2)Transmission Connector
(3)Park/Neutral Position (PNP) Switch
Figure 4:

Engine 1.8L LAY


Object Number: 2022204  Size: LF
(1)Ignition Coil
(2)Camshaft Position (CMP) Actuator Solenoid Bank 2 Intake
(3)Camshaft Position (CMP) Actuator Solenoid Bank 2 Exhaust
(4)Camshaft Position (CMP) Sensor - Bank 2 Intake
(5)Camshaft Position (CMP) Sensor - Bank 2 Exhaust
(6)Heated Oxygen Sensor (H02S) Bank 1 Sensor 1
(7)Park/Neutral Position (PNP) Switch
(8)Engine Coolant Temperature (ECT) Sensor
(9)Throttle Actuator Control (TAC) Module
(10)Knock Sensor
(11)Crankshaft Position (CKP) Sensor
(12)Intake Manifold
(13)Fuel Injector
Figure 5:

Engine 2.4L LAX


Object Number: 2022199  Size: LF
(1)Exhaust Manifold Heat Insulator
(2)Ignition Coil
(3)Camshaft Timing Oil Valve
(4)Fuel Injector
(5)Knock Sensor
(6)Camshaft Position Sensor
(7)Throttle Actuator Control (TAC) Module
(8)Engine Coolant Temperature (ECT) Sensor
(9)Park/Neutral Position (PNP) Switch
(10)Heated Oxygen Sensor (H02S) Bank 1 Sensor 2
(11)Heated Oxygen Sensor (H02S) Bank 1 Sensor 1
(12)Exhaust Manifold Converter
(13)Crankshaft Position (CKP) Sensor
Figure 6:

Heated Oxygen Sensor AWD LAX


Object Number: 2022154  Size: MF
(1)Heated Oxygen Sensor (H02S) Bank 1 Sensor 2
(2)Center Exhaust Pipe
Figure 7:

Heated Oxygen Sensor FWD LAX


Object Number: 2022159  Size: MF
(1)Heated Oxygen Sensor (H02S) Bank 1 Sensor 1
(2)Front Exhaust Pipe
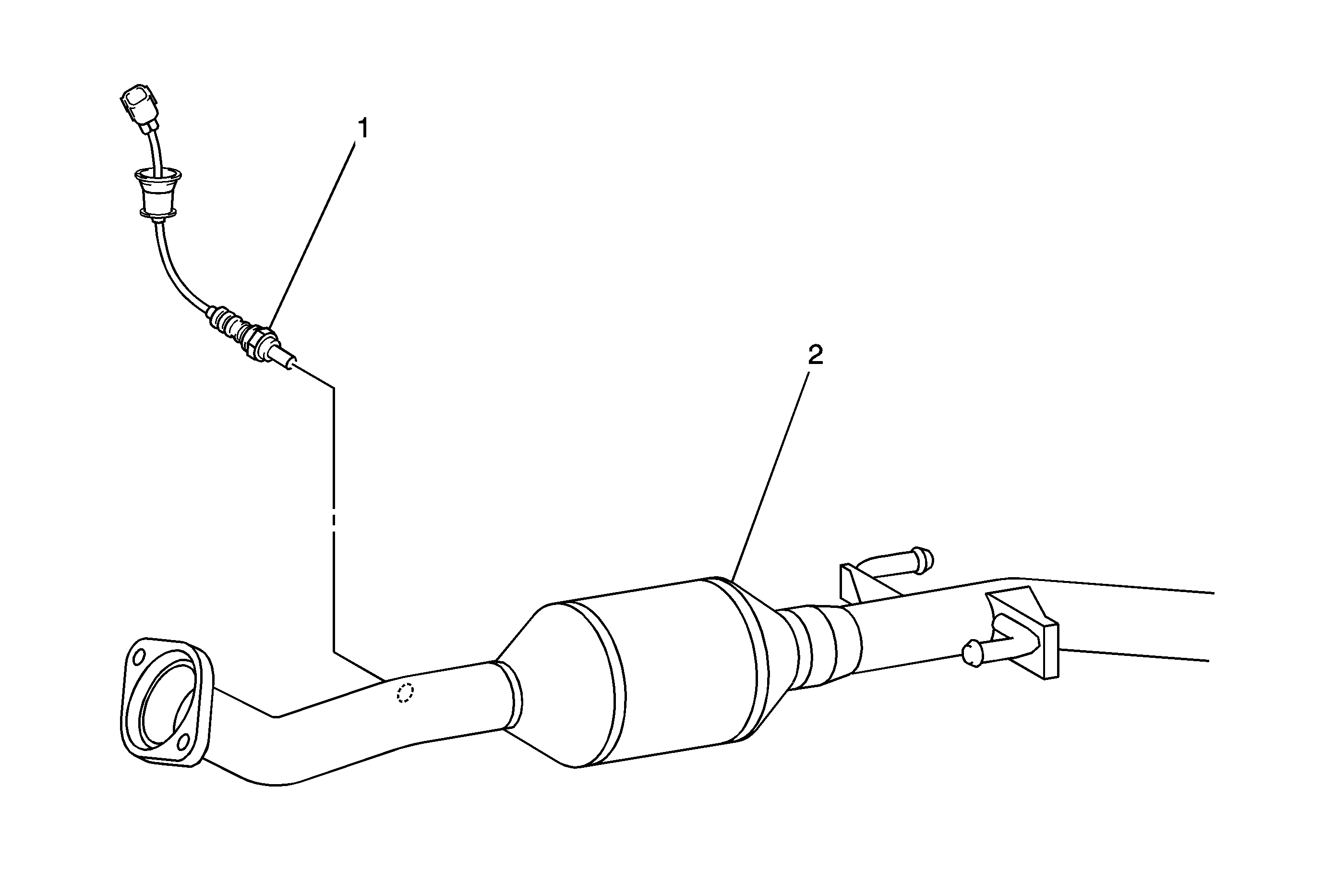
Figure 8:

Heated Oxygen Sensor LAY


Object Number: 2022158  Size: MF
(1)Front Exhaust Pipe
(2)Heated Oxygen Sensor (H02S) Bank 1 Sensor 1
Figure 9:

Manual Trans Assembly - LAX E351


Object Number: 2022214  Size: LF
(1)Manual Transaxle Case
(2)Backup Lamp Switch
(3)Control Shift Lever
(4)Manual Transmission Case Cover
(5)Manual Transmission Case
(6)Starter
Figure 10:

Manual Trans Assembly - LAY C59


Object Number: 2022209  Size: LF
(1)Manual Transaxle Case
(2)Backup Lamp Switch
(3)Control Shift Lever
(4)Manual Transmission Case Cover
(5)Manual Transmission Case
(6)Floor Shift Control Shift Lever
(7)Selecting Bellcrank Assembly
Figure 11:

Oil Pressure Switch


Object Number: 2046898  Size: LF
(1)LAX Engine 2.4L
(2)Engine Coolant Temperature (ECT) Sensor
(3)Oil Pressure Switch
(4)LAY Engine 1.8L