GM Service Manual Online
For 1990-2009 cars only
Connector 1: X100 Engine Harness to Engine Room Main Harness
Connector 2: X101 Engine Harness to Engine Room Main Harness
Connector 3: X102 Engine Harness to Engine Room Main Harness
Connector 4: X103 Engine Harness to Engine No. 4 Harness
Connector 5: X204 Engine Room Main Harness to Instrument Panel Harness
Connector 6: X205 Engine Room Main Harness to Instrument Panel Harness
Connector 7: X206 Engine Room Main Harness to Instrument Panel Harness
Connector 8: X207 Engine Room Main Harness to Instrument Panel Harness
Connector 9: X208 Engine Room Main Harness to Instrument Panel Harness
Connector 10: X209 Engine Room Main Harness to Instrument Panel Harness
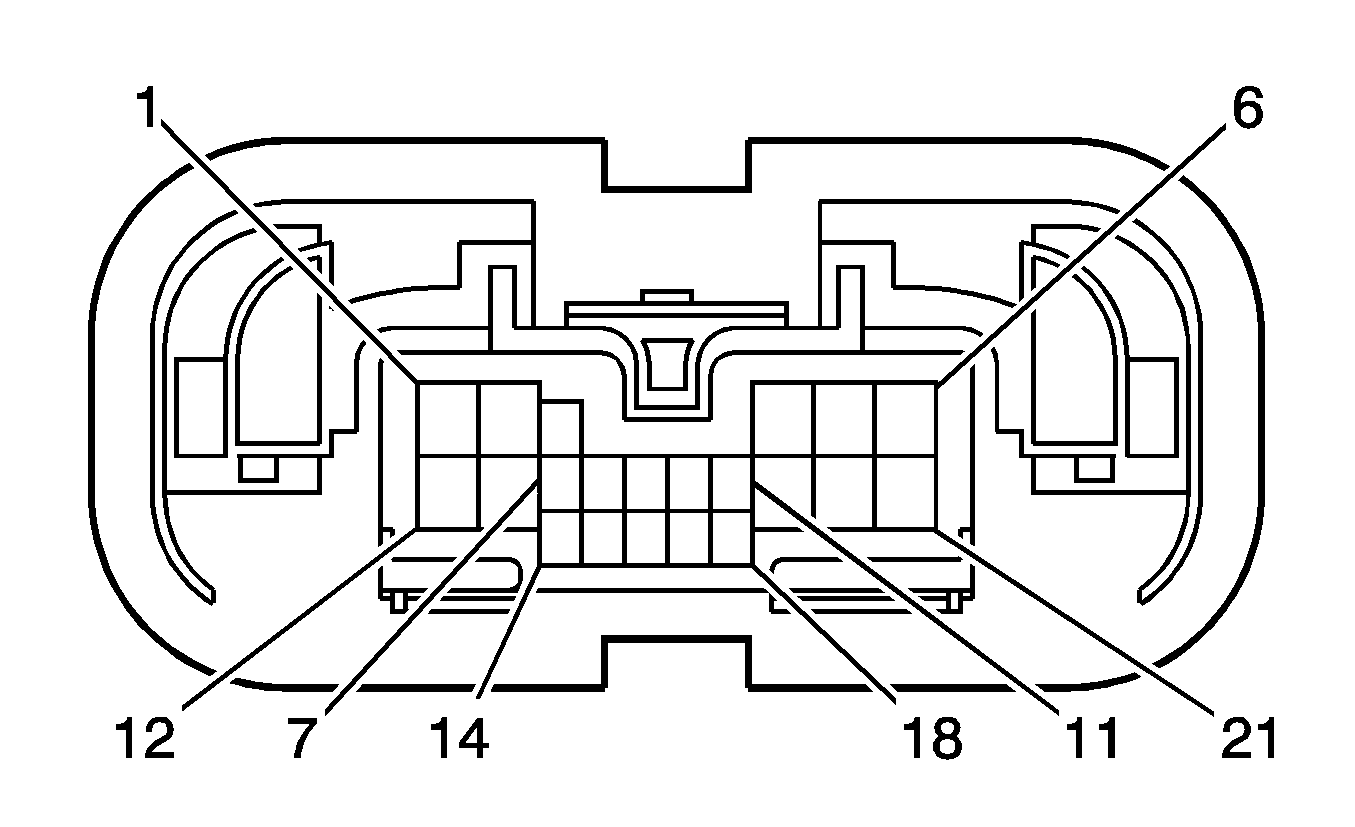
Connector 11: X212
Connector 12: X215 Engine Room Main Harness to Instrument Panel Harness
Connector 13: X216 Engine Room Main Harness to Instrument Panel Harness
Connector 14: X217 Engine Room Main Harness to Floor No. 2 Harness
Connector 15: X218 Instrument Panel Harness to Floor No. 2 Harness
Connector 16: X219 Instrument Panel Harness to Floor No. 2 Harness
Connector 17: X220 Instrument Panel Harness to Floor No. 2 Harness
Connector 18: X221 Instrument Panel Harness to Floor Harness
Connector 19: X222 Instrument Panel Harness to Floor Harness
Connector 20: X223 Instrument Panel Harness to Floor Harness
Connector 21: X224 Instrument Panel Harness to Instrument Panel No. 2 Harness
Connector 22: X225 Engine Room Main Harness to Instrument Panel Harness
Connector 23: X227 Instrument Panel Harness to Instrument Panel Assembly Harness
Connector 24: X228 Roof Harness to Instrument Panel Harness
Connector 25: X301 Floor No. 3 Harness to Floor No. 2 Harness
Connector 26: X303 Floor No. 2 Harness to Fuel Tank Harness (LAX)
Connector 27: X306 Floor No. 2 Harness to Right Front Seat Harness
Connector 28: X400 Back Door No. 1 Harness to Floor Harness
Connector 29: X401 Back Door No. 1 Harness to Floor Harness
Connector 30: X500 Front Door Left Harness to Instrument Panel Harness
Connector 31: X501 Front Door Left Harness to Instrument Panel Harness
Connector 32: X600 Front Door Right Harness to Instrument Panel Harness
Connector 33: X601 Front Door Right Harness to Instrument Panel Harness
Connector 34: X700 Rear Door No. 2 Harness to Floor Harness
Connector 35: X800 Rear Door No. 1 Harness to Floor No. 2 Harness

X100 Engine Harness to Engine Room Main Harness


Object Number: 2029526  Size: CH

Object Number: 2029525  Size: CH

Connector Part Information

  • OEM: 90980-11531
  • Service:
  • Description: 12-Way F

Connector Part Information

  • OEM: 90980-11530
  • Service:
  • Description: 12-Way M

X100 Engine Harness to Engine Room Main Harness

Pin

Wire

Circuit

Function

Pin

Wire

Circuit

Function

1

0.5 D-BU

--

(LAY)

1

0.5 D-BU

--

(LAY)

2

--

--

Not Used

2

--

--

Not Used

3

0.5 YE/BK

--

Engine Oil Pressure Signal

3

0.3 YE/BK

--

Engine Oil Pressure Signal

4

0.85 RD

--

Battery Positive Voltage

4

0.85 RD

--

Battery Positive Voltage

5

0.5 RD

--

--

5

0.5 RD

--

--

6

0.5 YE

--

Ignition Voltage

6

0.3 YE

--

Ignition Voltage

7

0.5 WH

--

Battery Positive Voltage

7

0.3 WH

--

Battery Positive Voltage

8

0.85 RD

--

Battery Positive Voltage

8

0.85 RD

--

Battery Positive Voltage

9

1.25 BK

--

Ignition Voltage

9

0.5 BK

--

Ignition Voltage

10

0.5 L-GN

--

Clutch Start Switch Signal

10

0.5 L-GN

--

Clutch Start Switch Signal

11

0.5 BK

--

Ignition Voltage (LAX)

11

0.5 BK

--

Ignition Voltage (LAX)

12

0.5 BK

--

Battery Positive Voltage

12

0.5 BK

--

Battery Positive Voltage

X101 Engine Harness to Engine Room Main Harness


Object Number: 428546  Size: CH

Object Number: 2029529  Size: CH

Connector Part Information

  • OEM: 90980-11527
  • Service:
  • Description: 10-Way F

Connector Part Information

  • OEM: 90980-11596
  • Service:
  • Description: 10-Way M

X101 Engine Harness to Engine Room Main Harness

Pin

Wire

Circuit

Function

Pin

Wire

Circuit

Function

1

0.5 WH

--

Ignition 1 Voltage

1

0.5 WH

--

Ignition 1 Voltage

2

0.5 L-GN

--

Park/Neutral Switch Signal

2

0.5 L-GN

--

Park/Neutral Switch Signal

3

0.5 L-GN

--

A/C Compressor Clutch Control

3

0.5 L-GN

--

A/C Compressor Clutch Control

4

0.5 BN

--

Ground

4

0.5 BN

--

Ground

5

0.5 D-GN

--

Ignition Voltage

5

0.5 D-GN

--

Ignition Voltage

6

0.5 WH

--

Start Switch Signal

6

0.5 WH

--

Start Switch Signal

7

--

--

Not Used

7

--

--

Not Used

8

3 D-BU

--

Ignition Voltage

8

3 D-BU

--

Ignition Voltage

9

0.5 PK

--

Shift Lock Relay (+)

9

0.5 PK

--

Shift Lock Relay (+)

10

--

--

Not Used

10

--

--

Not Used (LAY)

0.5 D-BU

--

(LAX)

X102 Engine Harness to Engine Room Main Harness


Object Number: 2029531  Size: CH

Object Number: 2029530  Size: CH

Connector Part Information

  • OEM: 90980-11537
  • Service:
  • Description: 10-Way F (GY)

Connector Part Information

  • OEM: 90980-11536
  • Service:
  • Description: 10-Way M (GY)

X102 Engine Harness to Engine Room Main Harness

Pin

Wire

Circuit

Function

Pin

Wire

Circuit

Function

1

0.5 D-GN

--

Low Reference

1

0.3 D-GN

--

Low Reference

2

0.5 YE

--

EVAP Canister Pressure Sensor Signal

2

0.3 YE

--

EVAP Canister Pressure Sensor Signal

3

0.5 VT

--

5-Volt Reference

3

0.3 VT

--

5-Volt Reference

4

0.5 WH/BK

--

Ground

4

0.3 WH/BK

--

Ground

5

0.5 PK

--

HO2S Heater Low Control (B1S2)

5

0.5 PK

--

HO2S Heater Low Control (B1S2)

6

--

--

Not Used

6

--

--

Not Used

7

0.5 BK

--

HO2S High Signal (B1S2)

7

0.5 BK

--

HO2S High Signal (B1S2)

8

BARE

--

Drain Wire

8

BARE

--

Drain Wire

9

--

--

Not Used

9

--

--

Not Used

10

0.5 L-GN/BK

--

HO2S Low Signal (B1S2)

10

0.5 L-GN

--

HO2S Low Signal (B1S2)

X103 Engine Harness to Engine No. 4 Harness


Object Number: 339854  Size: CH

Object Number: 2035335  Size: CH

Connector Part Information

  • OEM: 90980-11156
  • Service:
  • Description: 2-Way F (GY)

Connector Part Information

  • OEM: 90980-11155
  • Service:
  • Description: 2-Way M (GY)

X103 Engine Harness to Engine No. 4 Harness

Pin

Wire

Circuit

Function

Pin

Wire

Circuit

Function

1

WH

--

Knock Sensor 1 Signal

1

WH

--

Knock Sensor 1 Signal

2

BK

--

Knock Sensor 1 Signal

2

BK

--

Knock Sensor 1 Signal

X204 Engine Room Main Harness to Instrument Panel Harness


Object Number: 2029534  Size: CH

Object Number: 2029533  Size: CH

Connector Part Information

  • OEM: 90980-11890
  • Service:
  • Description: 2-Way F (YE)

Connector Part Information

  • OEM: 90980-11889
  • Service:
  • Description: 2-Way M (YE)

X204 Engine Room Main Harness to Instrument Panel Harness

Pin

Wire

Circuit

Function

Pin

Wire

Circuit

Function

1

0.5 WH

--

Discriminating Sensor - Signal

1

0.5 WH

--

Discriminating Sensor - Signal

2

0.5 BK

--

Discriminating Sensor - Low Reference

2

0.5 BK

--

Discriminating Sensor - Low Reference

X205 Engine Room Main Harness to Instrument Panel Harness


Object Number: 2029537  Size: CH

Object Number: 2029536  Size: CH

Connector Part Information

  • OEM: 90980-11742
  • Service:
  • Description: 4-Way F

Connector Part Information

  • OEM: 90980-11878
  • Service:
  • Description: 4-Way M

X205 Engine Room Main Harness to Instrument Panel Harness

Pin

Wire

Circuit

Function

Pin

Wire

Circuit

Function

1

3 D-BU

--

Ignition Voltage

1

3 D-BU

--

Ignition Voltage

2

3 D-BU

--

Ignition Voltage

2

3 L-BU

--

Ignition Voltage

3-4

--

--

Not Used

3-4

--

--

Not Used

X206 Engine Room Main Harness to Instrument Panel Harness


Object Number: 2029540  Size: CH

Object Number: 2029539  Size: CH

Connector Part Information

  • OEM: 90980-12376
  • Service:
  • Description: 18-Way F

Connector Part Information

  • OEM: 90980-12375
  • Service:
  • Description: 18-Way M

X206 Engine Room Main Harness to Instrument Panel Harness

Pin

Wire

Circuit

Function

Pin

Wire

Circuit

Function

1

GY

--

--

1

BN

--

--

2-4

--

--

Not Used

2-4

--

--

Not Used

5

0.5 RD/BK

--

Dimmer Relay Supply Voltage - High Beam

5

0.35 RD

--

Dimmer Relay Supply Voltage - High Beam

6

0.3 BK

--

Headlamp Relay Control

6

0.35 VT

--

Headlamp Relay Control

7

0.3 L-GN/BK

--

Park Lamp Relay Control

7

0.22 PK

--

Park Lamp Relay Control

8

2 BK

--

Low Speed Wiper Signal

8

1.25 BK

--

Low Speed Wiper Signal

9

2 D-GN

--

Intermediate Wiper Speed Signal

9

1.25 D-GN

--

Intermediate Wiper Speed Signal

10

1.25 D-GN

--

Front Fog Lamp Control

10

0.75 PK

--

Front Fog Lamp Control

11

0.85 D-BU

--

Battery Positive Voltage

11

0.75 D-BU

--

Battery Positive Voltage

12-16

--

--

Not Used

12-16

--

--

Not Used

17

1.25 D-BU/YE

--

Battery Positive Voltage

17

1.25 L-BU

--

Battery Positive Voltage

18

2 RD

--

High Speed Wiper Signal

18

1.25 RD

--

High Speed Wiper Signal

X207 Engine Room Main Harness to Instrument Panel Harness


Object Number: 2029542  Size: CH

Object Number: 2029541  Size: CH

Connector Part Information

  • OEM: 90980-11542
  • Service:
  • Description: 13-Way F (BU)

Connector Part Information

  • OEM: 90980-11541
  • Service:
  • Description: 13-Way M (BU)

X207 Engine Room Main Harness to Instrument Panel Harness

Pin

Wire

Circuit

Function

Pin

Wire

Circuit

Function

1

0.3 BK

--

5-Volt Reference

1

0.35 BK

--

5-Volt Reference

2

0.3 D-BU/WH

--

A/C Refrigerant Pressure Sensor Signal

2

0.35 D-BU

--

A/C Refrigerant Pressure Sensor Signal

3

0.3 D-GN

--

Low Reference

3

0.35 D-GN

--

Low Reference

4

0.85 PK

--

Ignition 1 Voltage

4

0.5 L-GN

--

Ignition 1 Voltage

5

0.85 WH

--

Washer Pump Control

5

0.75 WH

--

Washer Pump Control

6-10

--

--

Not Used

6-10

--

--

Not Used

11

0.85 D-BU

--

Ignition 1 Voltage

11

0.5 VT

--

Ignition 1 Voltage

12

--

--

Not Used

12

--

--

Not Used

13

0.3 OG

--

Washer Fluid Level Switch Indicator Control

13

0.35 BG

--

Washer Fluid Level Switch Indicator Control

X208 Engine Room Main Harness to Instrument Panel Harness


Object Number: 2029545  Size: CH

Object Number: 2029544  Size: CH

Connector Part Information

  • OEM: 90980-12372
  • Service:
  • Description: 22-Way F (GY)

Connector Part Information

  • OEM: 90980-12371
  • Service:
  • Description: 22-Way M (GY)

X208 Engine Room Main Harness to Instrument Panel Harness

Pin

Wire

Circuit

Function

Pin

Wire

Circuit

Function

1

0.5 BK

--

Ignition Voltage

1

0.5 BK

--

Ignition Voltage

2

0.5 PK

--

HO2S Heater Low Control (B1S2)

2

0.5 RD

--

HO2S Heater Low Control (B1S2)

3

0.5 L-GN

--

HO2S Low Signal (B1S2)

3

0.5 BN

--

HO2S Low Signal (B1S2)

4

BARE

--

Drain Wire

4

BARE

--

Drain Wire

5

0.5 BK

--

HO2S High Signal (B1S2)

5

0.5 YE

--

HO2S High Signal (B1S2)

6

0.5 PK

--

Shift Lock Relay (+)

6

0.35 VT

--

Shift Lock Relay (+)

7

OG (LAX)

--

Shift Lock Relay (-)

7

0.35 BG

--

Shift Lock Relay (-)

7

WH (LAY)

--

Shift Lock Relay (-)

8

0.5 BN

--

Ground

8

0.35 BN

--

Ground

9

0.3 VT

--

Vehicle Speed Sensor Signal

9

0.35 VT

--

Vehicle Speed Sensor Signal

10

0.3 GY

--

Low Speed Serial Data

10

0.35 GY

--

Low Speed Serial Data

11

0.5 BK

--

Rear Defog Supply Voltage

11

0.35 L-BU

--

Rear Defog Supply Voltage

12-13

--

--

Not Used

12-13

--

--

Not Used

14

0.5 D-BU

--

Generator Turn On Signal

14

0.35 D-BU

--

Generator Turn On Signal

15

0.3 RD

--

Shift Switch Tap Down Signal

15

0.35 BK

--

Shift Switch Tap Down Signal

16

0.3 WH

--

Shift Switch Tap Up Signal

16

0.35 L-GN

--

Shift Switch Tap Up Signal

17

0.5 D-BU

--

PNP Switch Low Signal

17

0.35 WH

--

PNP Switch Low Signal

18

0.3 D-BU/BK

--

--

18

0.35 YE

--

--

19

0.3 PK

--

Not Used

19

0.35 PK

--

Not Used

20

0.3 WH/BK

--

Battery Positive Voltage

20

0.35 WH/BK

--

Battery Positive Voltage

21

0.3 L-GN/BK

--

Not Used

21

0.35 L-GN

--

Not Used

22

0.3 L-GN

--

A/C Compressor Clutch Control

22

0.35 VT

--

A/C Compressor Clutch Control

X209 Engine Room Main Harness to Instrument Panel Harness


Object Number: 2029550  Size: CH

Object Number: 2029549  Size: CH

Connector Part Information

  • OEM: 90980-12414
  • Service:
  • Description: 25-Way F

Connector Part Information

  • OEM: 90980-12413
  • Service:
  • Description: 25-Way M

X209 Engine Room Main Harness to Instrument Panel Harness

Pin

Wire

Circuit

Function

Pin

Wire

Circuit

Function

1

0.85 RD

--

Battery Positive Voltage

1

0.75 YE

--

Battery Positive Voltage

2

0.5 WH

--

Start Switch Signal

2

0.35 WH

--

Start Switch Signal

3

0.5 L-GN

--

Park/Neutral Switch Signal

3

0.35 L-BU

--

Park/Neutral Switch Signal

4

0.5 YE

--

Brake Fluid Level Sensor Signal

4

0.35 BG

--

Brake Fluid Level Sensor Signal

5

0.3 RD

--

MIL Control

5

0.35 RD

--

MIL Control

6

0.3 WH

--

Ambient Air Temperature Sensor Signal

6

0.35 GY

--

Ambient Air Temperature Sensor Signal

7

0.3 D-GN

--

Low Reference

7

0.35 L-GN

--

Low Reference

8

0.3 YE/BK

--

Engine Oil Pressure Signal

8

0.35 D-GN

--

Engine Oil Pressure Signal

9

0.3 PK

--

Battery Positive Voltage

9

0.3 PK

--

Battery Positive Voltage

10-11

--

--

Not Used

10-11

--

--

Not Used

12

0.3 WH

--

Start Switch Signal

12

0.35 WH

--

Start Switch Signal

13

0.5 WH

--

Start Switch Signal

13

0.35 WH

--

Start Switch Signal

14

0.3 D-BU/YE

--

Ignition Voltage

14

0.35 PK

--

Ignition Voltage

15

0.3 WH/D-GN

--

Start Switch Signal

15

0.35 BK

--

Start Switch Signal

16

0.5 WH

--

Ignition Voltage

16

0.35 D-BU

--

Ignition Voltage

17-24

--

--

Not Used

17-24

--

--

Not Used

25

2 RD

--

Ignition Voltage

25

2 RD

--

Ignition Voltage

X212


Object Number: 2029550  Size: CH

Object Number: 2029549  Size: CH

Connector Part Information

  • OEM: 90980-12414
  • Service:
  • Description: 25-Way F (GY)

Connector Part Information

  • OEM: 90980-12413
  • Service:
  • Description: 25-Way M (GY)

X212 Engine Room Main Harness to Floor Harness

Pin

Wire

Circuit

Function

Pin

Wire

Circuit

Function

1-6

--

--

Not Used

1-6

--

--

Not Used

7

0.3 WH

--

Left Rear Wheel Speed Sensor Signal

7

0.35 PK

--

Left Rear Wheel Speed Sensor Signal

8

0.3 BK

--

Left Rear Wheel Speed Sensor Control

8

0.35 L-BU

--

Left Rear Wheel Speed Sensor Control

9

--

--

Not Used

9

--

--

Not Used

10

0.3 YE

--

EVAP Canister Pressure Sensor Signal

10

0.35 VT

--

EVAP Canister Pressure Sensor Signal

11

0.3 D-GN

--

Low Reference

11

0.35 BN

--

Low Reference

12

0.3 WH/BK

--

Ground

12

0.35 WH/BK

--

Ground

13

0.3 VT

--

5-Volt Reference

13

0.35 YE

--

5-Volt Reference

14

0.5 BK

--

Ignition Voltage

14

0.35 BN

--

Ignition Voltage

15

0.3 RD

--

EVAP Pump Control

15

0.35 D-BU

--

EVAP Pump Control

16

0.3 WH

--

EVAP Vent Solenoid Control

16

0.35 WH

--

EVAP Vent Solenoid Control

17-25

--

--

Not Used

17-25

--

--

Not Used

X215 Engine Room Main Harness to Instrument Panel Harness


Object Number: 2029537  Size: CH

Object Number: 2029536  Size: CH

Connector Part Information

  • OEM: 90980-11742
  • Service:
  • Description: 4-Way F

Connector Part Information

  • OEM: 90980-11878
  • Service:
  • Description: 4-Way M

X215 Engine Room Main Harness to Instrument Panel Harness

Pin

Wire

Circuit

Function

Pin

Wire

Circuit

Function

1

2 RD

--

Battery Positive Voltage

1

3 BN

--

Battery Positive Voltage

2-4

--

--

Not Used

2-4

--

--

Not Used

X216 Engine Room Main Harness to Instrument Panel Harness


Object Number: 2029533  Size: CH

Object Number: 2029534  Size: CH

Connector Part Information

  • OEM: 90980-11890
  • Service:
  • Description: 2-Way F (YE)

Connector Part Information

  • OEM: 90980-11889
  • Service:
  • Description: 2-Way M (YE)

X216 Engine Room Main Harness to Instrument Panel Harness

Pin

Wire

Circuit

Function

Pin

Wire

Circuit

Function

1

0.5 WH

--

Discriminating Sensor - Low Reference

1

0.5 WH

--

Discriminating Sensor - Low Reference

2

0.5 BK

--

Discriminating Sensor - Signal

2

0.5 BK

--

Discriminating Sensor - Signal

X217 Engine Room Main Harness to Floor No. 2 Harness


Object Number: 2029550  Size: CH

Object Number: 2029549  Size: CH

Connector Part Information

  • OEM: 90980-12414
  • Service:
  • Description: 25-Way F (GY)

Connector Part Information

  • OEM: 90980-12413
  • Service:
  • Description: 25-Way M (GY)

X217 Engine Room Main Harness to Floor No. 2 Harness

Pin

Wire

Circuit

Function

Pin

Wire

Circuit

Function

1

--

--

Not Used

1

--

--

Not Used

2

0.3 RD

--

Right Rear Wheel Speed Sensor Control

2

0.35 RD

--

Right Rear Wheel Speed Sensor Control

3

0.3 D-GN

--

Right Rear Wheel Speed Sensor Signal

3

0.35 D-GN

--

Right Rear Wheel Speed Sensor Signal

4-9

--

--

Not Used

4-9

--

--

Not Used

10

0.3 YE

--

EVAP Canister Pressure Sensor Signal

10

0.35 VT

--

EVAP Canister Pressure Sensor Signal

11

0.3 D-GN

--

Low Reference

11

0.35 BN

--

Low Reference

12

0.3 WH/BK

--

Ground

12

0.35 WH/BK

--

Ground

13

0.3 VT

--

5-Volt Reference

13

0.35 YE

--

5-Volt Reference

14

0.5 BK

--

Ignition Voltage

14

0.35 BK

--

Ignition Voltage

15

0.3 RD

--

EVAP Pump Control

15

0.35 D-BU

--

EVAP Pump Control

16

0.3 WH

--

EVAP Vent Solenoid Control

16

0.35 WH

--

EVAP Vent Solenoid Control

17-25

--

--

Not Used

17-25

--

--

Not Used

X218 Instrument Panel Harness to Floor No. 2 Harness


Object Number: 2029550  Size: CH

Object Number: 2029549  Size: CH

Connector Part Information

  • OEM: 90980-12414
  • Service:
  • Description: 25-Way F (GY)

Connector Part Information

  • OEM: 90980-12413
  • Service:
  • Description: 25-Way M (GY)

X218 Instrument Panel Harness to Floor No. 2 Harness

Pin

Wire

Circuit

Function

Pin

Wire

Circuit

Function

1

1.25 BG

--

Right Rear Door Lock Motor Lock Control

1

1.25 BG

--

Right Rear Door Lock Motor Lock Control

2

0.35 BG

--

Front Passenger Door Ajar Switch Signal

2

0.5 BG

--

Front Passenger Door Ajar Switch Signal

3

0.35 YE

--

Right Rear Door Ajar Switch Signal

3

0.5 YE

--

Right Rear Door Ajar Switch Signal

4-9

--

--

Not Used

4-9

--

--

Not Used

10

0.35 PK

--

Battery Positive Voltage

10

0.35 PK

--

Battery Positive Voltage

11

0.22 VT

--

Serial Data

11

0.35 VT

--

Serial Data

12

0.22 L-BU

--

Keyless Entry Program Enable Signal

12

0.35 L-BU

--

Keyless Entry Program Enable Signal

13

0.35 RD

--

Left Speaker (-)

13

0.35 RD

--

Left Speaker (-)

14

0.35 D-GN

--

Left Speaker (-)

14

0.35 D-GN

--

Left Speaker (-)

15

0.35 D-GN

--

Rear Door Lock Position Switch Input

15

0.35 D-GN

--

Rear Door Lock Position Switch Input

16

--

--

Not Used

16

--

--

Not Used

17

1.25 D-GN

--

Right Rear Door Lock Motor Unlock Control

17

1.25 D-GN

--

Right Rear Door Lock Motor Unlock Control

18

--

--

Not Used

18

--

--

Not Used

19

0.35 BG

--

TMX +

19

0.35 BG

--

TMX +

20

0.5 L-BU

--

--

20

0.5 L-BU

--

--

21

0.35 BK

--

Right Speaker (+)

21

0.35 BK

--

Right Speaker (+)

22

0.35 WH

--

Right Speaker (-)

22

0.35 WH

--

Right Speaker (-)

23

0.01 BARE

--

Drain Wire

23

0.01 BARE

--

Drain Wire

24-25

--

--

Not Used

24-25

--

--

Not Used

X219 Instrument Panel Harness to Floor No. 2 Harness


Object Number: 334469  Size: CH

Object Number: 2029541  Size: CH

Connector Part Information

  • OEM: 90980-11542
  • Service:
  • Description: 13-Way F (GY)

Connector Part Information

  • OEM: 90980-11541
  • Service:
  • Description: 13-Way M (GY)

X219 Instrument Panel Harness to Floor No. 2 Harness

Pin

Wire

Circuit

Function

Pin

Wire

Circuit

Function

1

RD

--

Right Rear Speaker Output (+)

1

1.25 RD

--

Right Rear Speaker Output (+)

2

WH

--

Right Rear Speaker Output (-)

2

1.25 WH

--

Right Rear Speaker Output (-)

3-4

--

--

Not Used

3-4

--

--

Not Used

5

2 YE

--

Right Rear Window Motor (-)

5

2 YE

--

Right Rear Window Motor (-)

6-9

--

--

Not Used

6-9

--

--

Not Used

10

0.35 BK

--

Battery Positive Voltage

10

0.35 BK

--

Battery Positive Voltage

11

0.35 WH

--

Battery Positive Voltage

11

0.35 WH

--

Battery Positive Voltage

12

1 BG

--

Ignition Voltage

12

1 BG

--

Ignition Voltage

13

2 BK

--

Right Rear Window Motor (+)

13

2 BK

--

Right Rear Window Motor (+)

X220 Instrument Panel Harness to Floor No. 2 Harness


Object Number: 428545  Size: CH

Object Number: 2029555  Size: CH

Connector Part Information

  • OEM: 90980-11539
  • Service:
  • Description: 11-Way F (GY)

Connector Part Information

  • OEM: 90980-11538
  • Service:
  • Description: 11-Way M (GY)

X220 Instrument Panel Harness to Floor No. 2 Harness

Pin

Wire

Circuit

Function

Pin

Wire

Circuit

Function

1

1.25 L-GN

--

Rear Subwoofer Speaker Output (+)

1

1.25 L-GN

--

Rear Subwoofer Speaker Output (+)

2

1.25 D-BU

--

Rear Subwoofer Speaker Output (-)

2

1.25 D-BU

--

Rear Subwoofer Speaker Output (-)

3

1.25 YE

--

Rear Subwoofer Speaker Output (+)

3

1.25 YE

--

Rear Subwoofer Speaker Output (+)

4

1.25 BK

--

Rear Subwoofer Speaker Output (-)

4

1.25 BK

--

Rear Subwoofer Speaker Output (-)

5-7

--

--

Not Used

5-7

--

--

Not Used

8

0.35 WH

--

--

8

0.35 WH

--

--

9

0.35 BK

--

--

9

0.35 BK

--

--

10

BARE

--

Drain Wire

10

BARE

--

Drain Wire

11

--

--

Not Used

11

--

--

Not Used

X221 Instrument Panel Harness to Floor Harness


Object Number: 334469  Size: CH

Object Number: 2029541  Size: CH

Connector Part Information

  • OEM: 90980-11542
  • Service:
  • Description: 13-Way F (GY)

Connector Part Information

  • OEM: 90980-11541
  • Service:
  • Description: 13-Way M (GY)

X221 Instrument Panel Harness to Floor Harness

Pin

Wire

Circuit

Function

Pin

Wire

Circuit

Function

1-9

--

--

Not Used

1-9

--

--

Not Used

10

0.35 BK

--

Left Rear Door Ajar Switch Signal

10

0.5 BK

--

Left Rear Door Ajar Switch Signal

11

--

--

Not Used

11

--

--

Not Used

12

YE

--

Left Rear Speaker Output (-)

12

1.25 YE

--

Left Rear Speaker Output (-)

13

BK

--

Left Rear Speaker Output (+)

13

1.25 BK

--

Left Rear Speaker Output (+)

X222 Instrument Panel Harness to Floor Harness


Object Number: 2029545  Size: CH

Object Number: 2029544  Size: CH

Connector Part Information

  • OEM: 90980-12372
  • Service:
  • Description: 22-Way F (GY)

Connector Part Information

  • OEM: 90980-12371
  • Service:
  • Description: 22-Way M (GY)

X222 Instrument Panel Harness to Floor Harness

Pin

Wire

Circuit

Function

Pin

Wire

Circuit

Function

1-8

--

--

Not Used

1-8

--

--

Not Used

9

0.35 D-GN

--

Rear Door Lock Position Switch Input

9

0.35 D-GN

--

Rear Door Lock Position Switch Input

10-11

--

--

Not Used

10-11

--

--

Not Used

12

0.35 BN

--

Low Reference

12

0.35 BN

--

Low Reference

13

0.35 PK

--

Fuel Level Sensor Signal

13

0.35 PK

--

Fuel Level Sensor Signal

14-15

--

--

Not Used

14-15

--

--

Not Used

16

0.35 L-GN

--

Ground

16

0.35 L-GN

--

Ground

17

0.35 RD

--

Tire Pressure Receiver Signal

17

0.35 RD

--

Tire Pressure Receiver Signal

18

0.35 BK

--

5-Volt Reference

18

0.35 BK

--

5-Volt Reference

19-22

--

--

Not Used

19-22

--

--

Not Used

X223 Instrument Panel Harness to Floor Harness


Object Number: 428546  Size: CH

Object Number: 2029557  Size: CH

Connector Part Information

  • OEM: 90980-11527
  • Service:
  • Description: 10-Way F (GY)

Connector Part Information

  • OEM: 90980-11596
  • Service:
  • Description: 10-Way M (GY)

X223 Instrument Panel Harness to Floor Harness

Pin

Wire

Circuit

Function

Pin

Wire

Circuit

Function

1

2 D-BU

--

Left Rear Window Motor (-)

1

2 D-BU

--

Left Rear Window Motor (-)

2

2 RD

--

Left Rear Window Motor (+)

2

2 RD

--

Left Rear Window Motor (+)

3

1 BG

--

Ignition Voltage

3

1 BG

--

Ignition Voltage

4

0.5 VT

--

Ignition 1 Voltage

4

1 VT

--

Ignition 1 Voltage

5

--

--

Not Used

5

--

--

Not Used

6

0.5 L-GN

--

Ignition 1 Voltage

6

0.5 L-GN

--

Ignition 1 Voltage

7

2 BK

--

Rear Defog Element Supply Voltage

7

2 BK

--

Rear Defog Element Supply Voltage

8

--

--

Not Used

8

--

--

Not Used

9

0.35 BN

--

Rear Wiper Common

9

0.22 BN

--

Rear Wiper Common

10

0.35 PK

--

Rear Wiper Voltage

10

0.22 PK

--

Rear Wiper Voltage

X224 Instrument Panel Harness to Instrument Panel No. 2 Harness


Object Number: 2029565  Size: CH

Object Number: 2029563  Size: CH

Connector Part Information

  • OEM: 90980-12368
  • Service:
  • Description: 10-Way F

Connector Part Information

  • OEM: 90980-12367
  • Service:
  • Description: 10-Way M

X224 Instrument Panel Harness to Instrument Panel No. 2 Harness

Pin

Wire

Circuit

Function

Pin

Wire

Circuit

Function

1-5

--

--

Not Used

1-5

--

--

Not Used

6

0.35 GY

--

--

6

0.35 GY

--

Ambient Light Sensor - Power

7

0.35 D-GN

--

--

7

0.35 D-GN

--

Ground

8

0.35 L-BU

--

--

8

0.35 L-BU

--

Ambient Light Sensor Signal

9-10

--

--

Not Used

9-10

--

--

Not Used

X225 Engine Room Main Harness to Instrument Panel Harness


Object Number: 2029550  Size: CH

Object Number: 2029549  Size: CH

Connector Part Information

  • OEM: 90980-12414
  • Service:
  • Description: 25-Way F (GY)

Connector Part Information

  • OEM: 90980-12413
  • Service:
  • Description: 25-Way M (GY)

X225 Engine Room Main Harness to Instrument Panel Harness

Pin

Wire

Circuit

Function

Pin

Wire

Circuit

Function

1-4

--

--

Not Used

1-4

--

--

Not Used

5

0.3 PK

--

Vehicle Stability Control Switch Input

5

0.35 GY

--

Vehicle Stability Control Switch Input

6

--

--

Not Used

6

--

--

Not Used

7

0.3 VT

--

Vehicle Speed Sensor Signal

7

0.35 L-GN

--

Vehicle Speed Sensor Signal

8

0.3 RD/BK

--

Brake Pressure Modulator Valve Signal

8

0.35 RD

--

Brake Pressure Modulator Valve Signal

9

0.3 BK

--

High Speed GMLAN Serial Data Bus+

9

0.35 BK

--

High Speed GMLAN Serial Data Bus+

10-22

--

--

Not Used

10-22

--

--

Not Used

23

0.3 WH

--

Heater Sub #1 Relay Control

23

0.35 PK

--

Heater Sub #1 Relay Control

24

0.3 BK

--

Heater Sub #3 Relay Control

24

0.35 BK

--

Heater Sub #3 Relay Control

25

0.3 WH

--

High Speed GMLAN Serial Data Bus-

25

0.35 WH

--

High Speed GMLAN Serial Data Bus-

X227 Instrument Panel Harness to Instrument Panel Assembly Harness


Object Number: 820245  Size: CH

Object Number: 820019  Size: CH

Connector Part Information

  • OEM: 90980-12160
  • Service:
  • Description: 4-Way F (YE)

Connector Part Information

  • OEM: 90980-12159
  • Service:
  • Description: 4-Way M (YE)

X227 Instrument Panel Harness to Instrument Panel Assembly Harness

Pin

Wire

Circuit

Function

Pin

Wire

Circuit

Function

1

0.5 YE/BK

--

I/P Module - Stage 2 - Low Control

1

YE/BK

--

I/P Module - Stage 2 - Low Control

2

0.5 YE

--

I/P Module - Stage 2 - High Control

2

YE/D-GN

--

I/P Module - Stage 2 - High Control

3

0.5 YE/RD

--

I/P Module - Stage 1 - High Control

3

YE/BK

--

I/P Module - Stage 1 - High Control

4

0.5 YE/D-GN

--

I/P Module - Stage 1 - Low Control

4

YE

--

I/P Module - Stage 1 - Low Control

X228 Roof Harness to Instrument Panel Harness


Object Number: 2029550  Size: CH

Object Number: 2029549  Size: CH

Connector Part Information

  • OEM: 90980-12414
  • Service:
  • Description: 25-Way F (GY)

Connector Part Information

  • OEM: 90980-12413
  • Service:
  • Description: 25-Way M (GY)

X228 Roof Harness to Instrument Panel Harness

Pin

Wire

Circuit

Function

Pin

Wire

Circuit

Function

1

--

--

Not Used

1

--

--

Not Used

2

0.35 L-GN

--

Illumination Control

2

0.35 L-GN

--

Illumination Control

3

0.35 BG

--

Indicator Control

3

0.35 BG

--

Indicator Control

4

0.35 L-BU

--

Key Pad Signal

4

0.35 L-BU

--

Key Pad Signal

5

0.35 YE

--

Accessory Power

5

0.35 RD

--

Accessory Power

6

0.35 VT

--

Vehicle Speed Sensor Signal

6

0.35 VT

--

Vehicle Speed Sensor Signal

7-8

--

--

Not Used

7-8

--

--

Not Used

9

1 YE

--

Ignition 1 Voltage

9

1 YE

--

Ignition 1 Voltage

10

BARE

--

Drain Wire

10

BARE

--

Drain Wire

11

0.35 RD

--

Microphone (+)

11

0.35 RD

--

Microphone (+)

12

0.35 D-GN

--

Microphone (-)

12

0.35 D-GN

--

Microphone (-)

13

--

--

Not Used

13

--

--

Not Used

14

0.5 BN

--

Ground

14

0.5 BN

--

Ground

15-25

--

--

Not Used

15-25

--

--

Not Used

X301 Floor No. 3 Harness to Floor No. 2 Harness


Object Number: 820083  Size: CH

Object Number: 820688  Size: CH

Connector Part Information

  • OEM: 90980-10908
  • Service:
  • Description: 3-Way F

Connector Part Information

  • OEM: 90980-10907
  • Service:
  • Description: 3-Way M

X301 Floor No. 3 Harness to Floor No. 2 Harness

Pin

Wire

Circuit

Function

Pin

Wire

Circuit

Function

1

0.5 WH

--

Transfer Case Clutch Control - High

1

0.35 WH

--

Transfer Case Clutch Control - High

2

0.5 BK

--

Transfer Case Clutch Control - Low

2

0.35 BK

--

Transfer Case Clutch Control - Low

3

BARE

--

Drain Wire

3

BARE

--

Drain Wire

X303 Floor No. 2 Harness to Fuel Tank Harness (LAX)


Object Number: 2029570  Size: CH

Object Number: 2029569  Size: CH

Connector Part Information

  • OEM: 90980-12520
  • Service:
  • Description: 8-Way F (GY)

Connector Part Information

  • OEM: 90980-12519
  • Service:
  • Description: 8-Way M (GY)

X303 Floor No. 2 Harness to Fuel Tank Harness (LAX)

Pin

Wire

Circuit

Function

Pin

Wire

Circuit

Function

1

0.35 D-BU

--

EVAP Pump Control

1

0.3 D-BU

--

EVAP Pump Control

2

0.35 BN

--

Low Reference

2

0.3 BN

--

Low Reference

3

0.35 VT

--

EVAP Canister Pressure Sensor Signal

3

0.3 VT

--

EVAP Canister Pressure Sensor Signal

4

0.35 YE

--

5-Volt Reference

4

0.3 YE

--

5-Volt Reference

5

0.35 WH/BK

--

Ground

5

0.3 WH/BK

--

Ground

6

0.35 WH

--

EVAP Vent Solenoid Control

6

0.3 WH

--

EVAP Vent Solenoid Control

7

--

--

Not Used

7

--

--

Not Used

8

0.35 BK

--

Ignition Voltage

8

0.3 BK

--

Ignition Voltage

X306 Floor No. 2 Harness to Right Front Seat Harness


Object Number: 1489449  Size: CH

Object Number: 2035336  Size: CH

Connector Part Information

  • OEM: 90980-12380
  • Service:
  • Description: 10-Way F (BK)

Connector Part Information

  • OEM: 90980-12379
  • Service:
  • Description: 10-Way M (BK)

X306 Floor No. 2 Harness to Right Front Seat Harness

Pin

Wire

Circuit

Function

Pin

Wire

Circuit

Function

1

--

--

Not Used

1

--

--

Not Used

2

0.35 WH

--

Low Speed Serial Data

2

0.35 WH

--

Low Speed Serial Data

3

0.35 BK

--

Battery Positive Voltage

3

0.35 BK

--

Battery Positive Voltage

4

0.35 RD

--

Passenger Seat Belt Tension Sensor Voltage Signal

4

0.35 RD

--

Passenger Seat Belt Tension Sensor Voltage Signal

5

0.35 WH

--

Occupant Sensor - Serial Data (+)

5

0.35 WH

--

Occupant Sensor - Serial Data (+)

6

0.5 WH/BK

--

Ground

6

0.5 WH/BK

--

Ground

7

--

--

Not Used

7

--

--

Not Used

8

0.35 YE

--

Low Reference

8

0.35 YE

--

Low Reference

9

0.35 D-GN

--

Passenger Seat Belt Tension Sensor Voltage Reference

9

0.35 D-GN

--

Passenger Seat Belt Tension Sensor Voltage Reference

10

0.35 BK

--

Occupant Sensor - Serial Data (-)

10

0.35 BK

--

Occupant Sensor - Serial Data (-)

X400 Back Door No. 1 Harness to Floor Harness


Object Number: 2029574  Size: CH

Object Number: 2029571  Size: CH

Connector Part Information

  • OEM: 90980-10986
  • Service:
  • Description: 5-Way F (BU)

Connector Part Information

  • OEM: 90980-10985
  • Service:
  • Description: 5-Way M (BU)

X400 Back Door No. 1 Harness to Floor Harness

Pin

Wire

Circuit

Function

Pin

Wire

Circuit

Function

1

WH/BK

--

Ground

1

WH/BK

--

Ground

2

BG

--

Rear Motor Latch Control

2

BG

--

Rear Motor Latch Control

3

--

--

Not Used

3

--

--

Not Used

4

BK

--

Rear Motor Unlatch Control

4

BK

--

Rear Motor Unlatch Control

5

D-GN

--

Tail Lamp Relay Supply Voltage

5

D-GN

--

Tail Lamp Relay Supply Voltage

X401 Back Door No. 1 Harness to Floor Harness


Object Number: 2029581  Size: CH

Object Number: 2029576  Size: CH

Connector Part Information

  • OEM: 90980-12500
  • Service:
  • Description: 13-Way F

Connector Part Information

  • OEM: 90980-12499
  • Service:
  • Description: 13-Way M

X401 Back Door No. 1 Harness to Floor Harness

Pin

Wire

Circuit

Function

Pin

Wire

Circuit

Function

1

0.5 D-BU

--

Stop Lamp Supply Voltage

1

0.5 D-BU

--

Stop Lamp Supply Voltage

2

0.35 PK

--

Rear Wiper Voltage

2

0.35 PK

--

Rear Wiper Voltage

3

0.35 BN

--

Rear Wiper Common

3

0.35 BN

--

Rear Wiper Common

4

0.35 L-GN

--

--

4

0.35 L-GN

--

--

5-8

--

--

Not Used

5-8

--

--

Not Used

9

0.5 L-GN

--

Rear Wiper Switch Signal

9

0.5 L-GN

--

Rear Wiper Switch Signal

10-12

--

--

Not Used

10-12

--

--

Not Used

13

0.5 VT

--

Ignition 1 Voltage

13

0.5 VT

--

Ignition 1 Voltage

X500 Front Door Left Harness to Instrument Panel Harness


Object Number: 2029526  Size: CH

Object Number: 2029525  Size: CH

Connector Part Information

  • OEM: 90980-11531
  • Service:
  • Description: 12-Way F

Connector Part Information

  • OEM: 90980-11530
  • Service:
  • Description: 12-Way M

X500 Front Door Left Harness to Instrument Panel Harness

Pin

Wire

Circuit

Function

Pin

Wire

Circuit

Function

1

--

--

Not Used

1

--

--

Not Used

2

WH/BK

--

Ground

2

WH/BK

--

Ground

3

2 D-BU

--

Left Rear Window Motor (-)

3

2 D-BU

--

Left Rear Window Motor (-)

4-5

--

--

Not Used

4-5

--

--

Not Used

6

2 BN

--

Right Front Window Motor (-)

6

2 BN

--

Right Front Window Motor (-)

7

2 BK

--

Right Rear Window Motor (+)

7

2 BK

--

Right Rear Window Motor (+)

8

2 RD

--

Left Rear Window Motor (+)

8

2 RD

--

Left Rear Window Motor (+)

9

0.35 YE

--

Driver Door Lock Position Switch Input

9

0.35 YE

--

Driver Door Lock Position Switch Input

10

--

--

Not Used

10

--

--

Not Used

11

2 D-GN

--

Right Front Window Motor (+)

11

2 D-GN

--

Right Front Window Motor (+)

12

2 YE

--

Right Rear Window Motor (-)

12

2 YE

--

Right Rear Window Motor (-)

X501 Front Door Left Harness to Instrument Panel Harness


Object Number: 2029540  Size: CH

Object Number: 2029539  Size: CH

Connector Part Information

  • OEM: 90980-12376
  • Service:
  • Description: 18-Way F

Connector Part Information

  • OEM: 90980-12375
  • Service:
  • Description: 18-Way M

X501 Front Door Left Harness to Instrument Panel Harness

Pin

Wire

Circuit

Function

Pin

Wire

Circuit

Function

1

1.25 RD

--

Left Front Speaker Output (-)

1

1.25 RD

--

Left Front Speaker Output (-)

2

2 WH

--

Ignition Voltage

2

2 WH

--

Ignition Voltage

3

0.35 D-BU

--

Power Window Switch Up/Down Control

3

0.35 D-BU

--

Power Window Switch Up/Down Control

4

0.35 YE

--

Mirror Motor Power

4

0.35 YE

--

Mirror Motor Power

5

--

--

Not Used

5

--

--

Not Used

6

0.35 PK

--

Driver Door Key Switch Unlock Signal

6

0.35 PK

--

Driver Door Key Switch Unlock Signal

7

0.35 BK

--

Driver Door Key Switch Lock Signal

7

0.35 BK

--

Driver Door Key Switch Lock Signal

8

1.25 BG

--

Driver Door Lock Motor Lock Control

8

1.25 BG

--

Driver Door Lock Motor Lock Control

9

VT

--

Left Front Speaker Output (-)

9

VT

--

Left Front Speaker Output (-)

10

1.25 WH

--

Left Front Speaker Output (+)

10

1.25 WH

--

Left Front Speaker Output (+)

11

--

--

Not Used

11

--

--

Not Used

12

0.35 BK

--

Power Window Switch Left/Right Control

12

0.35 BK

--

Power Window Switch Left/Right Control

13-14

--

--

Not Used

13-14

--

--

Not Used

15

0.35 BG

--

Unlock Switch Signal

15

0.35 BG

--

Unlock Switch Signal

16

0.35 VT

--

Lock Switch Signal

16

0.35 VT

--

Lock Switch Signal

17

1.25 D-GN

--

Driver Door Lock Motor Unlock Control

17

1.25 D-GN

--

Driver Door Lock Motor Unlock Control

18

PK

--

Left Front Speaker Output (+)

18

PK

--

Left Front Speaker Output (+)

X600 Front Door Right Harness to Instrument Panel Harness


Object Number: 2029526  Size: CH

Object Number: 2029525  Size: CH

Connector Part Information

  • OEM: 90980-11531
  • Service:
  • Description: 12-Way F

Connector Part Information

  • OEM: 90980-11530
  • Service:
  • Description: 12-Way M

X600 Front Door Right Harness to Instrument Panel Harness

Pin

Wire

Circuit

Function

Pin

Wire

Circuit

Function

1

0.35 RD

--

Passenger Door Lock Position Switch Input

1

0.5 RD

--

Passenger Door Lock Position Switch Input

2

0.5 WH/BK

--

Ground

2

0.75 WH/BK

--

Ground

3-5

--

--

Not Used

3-5

--

--

Not Used

6

2 BN

--

Right Front Window Motor (+)

6

2 BN

--

Right Front Window Motor (+)

7-10

--

--

Not Used

7-10

--

--

Not Used

11

2 D-GN

--

Right Front Window Motor (-)

11

2 D-GN

--

Right Front Window Motor (-)

12

--

--

Not Used

12

--

--

Not Used

X601 Front Door Right Harness to Instrument Panel Harness


Object Number: 2029540  Size: CH

Object Number: 2029539  Size: CH

Connector Part Information

  • OEM: 90980-12376
  • Service:
  • Description: 18-Way F

Connector Part Information

  • OEM: 90980-12375
  • Service:
  • Description: 18-Way M

X601 Front Door Right Harness to Instrument Panel Harness

Pin

Wire

Circuit

Function

Pin

Wire

Circuit

Function

1

1.25 PK

--

Right Front Speaker Output (-)

1

1.25 PK

--

Right Front Speaker Output (-)

2

1.25 BN

--

Right Front Speaker Output (+)

2

1.25 BN

--

Right Front Speaker Output (+)

3

0.35 D-GN

--

Power Window Switch Up/Down Control

3

0.35 D-GN

--

Power Window Switch Up/Down Control

4

0.35 YE

--

Mirror Motor Power

4

0.35 YE

--

Mirror Motor Power

5

--

--

Not Used

5

--

--

Not Used

6

0.35 D-BU

--

Passenger Door Key Switch Unlock Signal

6

0.22 D-BU

--

Passenger Door Key Switch Unlock Signal

7

0.35 BK

--

Passenger Door Key Switch Lock Signal

7

0.22 BK

--

Passenger Door Key Switch Lock Signal

8

1.25 D-GN

--

Passenger Door Lock Motor Unlock Control

8

1.25 D-GN

--

Passenger Door Lock Motor Unlock Control

9

D-BU

--

Right Front Speaker Output (-)

9

D-BU

--

Right Front Speaker Output (-)

10

1 YE

--

Window Motor - Power

10

1 YE

--

Window Motor - Power

11

--

--

Not Used

11

--

--

Not Used

12

0.35 L-GN

--

Power Window Switch Left/Right Control

12

0.35 L-GN

--

Power Window Switch Left/Right Control

13

0.35 BG

--

Unlock Door Signal

13

0.22 BG

--

Unlock Door Signal

14

0.35 VT

--

Lock Door Signal

14

0.22 VT

--

Lock Door Signal

15-16

--

--

Not Used

15-16

--

--

Not Used

17

1.25 BG

--

Passenger Door Lock Motor Lock Control

17

1.25 BG

--

Passenger Door Lock Motor Lock Control

18

L-GN

--

Right Front Speaker Output (+)

18

L-GN

--

Right Front Speaker Output (+)

X700 Rear Door No. 2 Harness to Floor Harness


Object Number: 2029567  Size: CH

Object Number: 2029566  Size: CH

Connector Part Information

  • OEM: 90980-12671
  • Service:
  • Description: 21-Way F

Connector Part Information

  • OEM: 90980-12670
  • Service:
  • Description: 21-Way M

X700 Rear Door No. 2 Harness to Floor Harness

Pin

Wire

Circuit

Function

Pin

Wire

Circuit

Function

1

1.25 YE

--

Window Motor - Power

1

1.25 YE

--

Window Motor - Power

2

1 PK

--

Window Motor - Power

2

1 PK

--

Window Motor - Power

3

--

--

Not Used

3

--

--

Not Used

4

2 D-BU

--

Left Rear Window Motor (-)

4

2 D-BU

--

Left Rear Window Motor (-)

5

--

--

Not Used

5

--

--

Not Used

6

1.25 BG

--

Left Rear Door Lock Motor Lock Control

6

1.25 BG

--

Left Rear Door Lock Motor Lock Control

7-10

--

--

Not Used

7-10

--

--

Not Used

11

0.35 D-GN

--

Rear Door Lock Position Switch Input

11

0.35 D-GN

--

Rear Door Lock Position Switch Input

12

1.25 BK

--

--

12

1.25 BK

--

--

13

0.35 WH/BK

--

--

13

0.35 WH/BK

--

--

14-18

--

--

Not Used

14-18

--

--

Not Used

19

2 RD

--

Left Rear Window Motor (+)

19

2 RD

--

Left Rear Window Motor (+)

20

--

--

Not Used

20

--

--

Not Used

21

1.25 D-GN

--

Left Rear Door Lock Motor Unlock Control

21

1.25 D-GN

--

Left Rear Door Lock Motor Unlock Control

X800 Rear Door No. 1 Harness to Floor No. 2 Harness


Object Number: 2029567  Size: CH

Object Number: 2029566  Size: CH

Connector Part Information

  • OEM: 90980-12671
  • Service:
  • Description: 21-Way F

Connector Part Information

  • OEM: 90980-12670
  • Service:
  • Description: 21-Way M

X800 Rear Door No. 1 Harness to Floor No. 2 Harness

Pin

Wire

Circuit

Function

Pin

Wire

Circuit

Function

1

1.25 WH

--

--

1

1.25 WH

--

--

2

2 BK

--

Right Rear Window Motor (+)

2

2 BK

--

Right Rear Window Motor (+)

3

3

--

Not Used

3

--

--

Not Used

4

1 BG

--

Window Motor - Power

4

1 BG

--

Window Motor - Power

5

--

--

Not Used

5

--

--

Not Used

6

1.25 BG

--

Right Rear Door Lock Motor Lock Control

6

1.25 BG

--

Right Rear Door Lock Motor Lock Control

7-10

--

--

Not Used

7-10

--

--

Not Used

11

0.35 D-GN

--

Rear Door Lock Position Switch Input

11

0.35 D-GN

--

Rear Door Lock Position Switch Input

12

1.25 RD

--

--

12

1.25 RD

--

--

13

0.35 WH/BK

--

--

13

0.35 WH/BK

--

--

14-18

--

--

Not Used

14-18

--

--

Not Used

19

2 YE

--

Right Rear Window Motor (-)

19

2 YE

--

Right Rear Window Motor (-)

20

--

--

Not Used

20

--

--

Not Used

21

1.25

D-GN

Right Rear Door Lock Motor Lock Control

21

1.25

D-GN

Right Rear Door Lock Motor Lock Control