GM Service Manual Online
For 1990-2009 cars only
Makes
🢒
Pontiac
🢒
2005
🢒
Wave
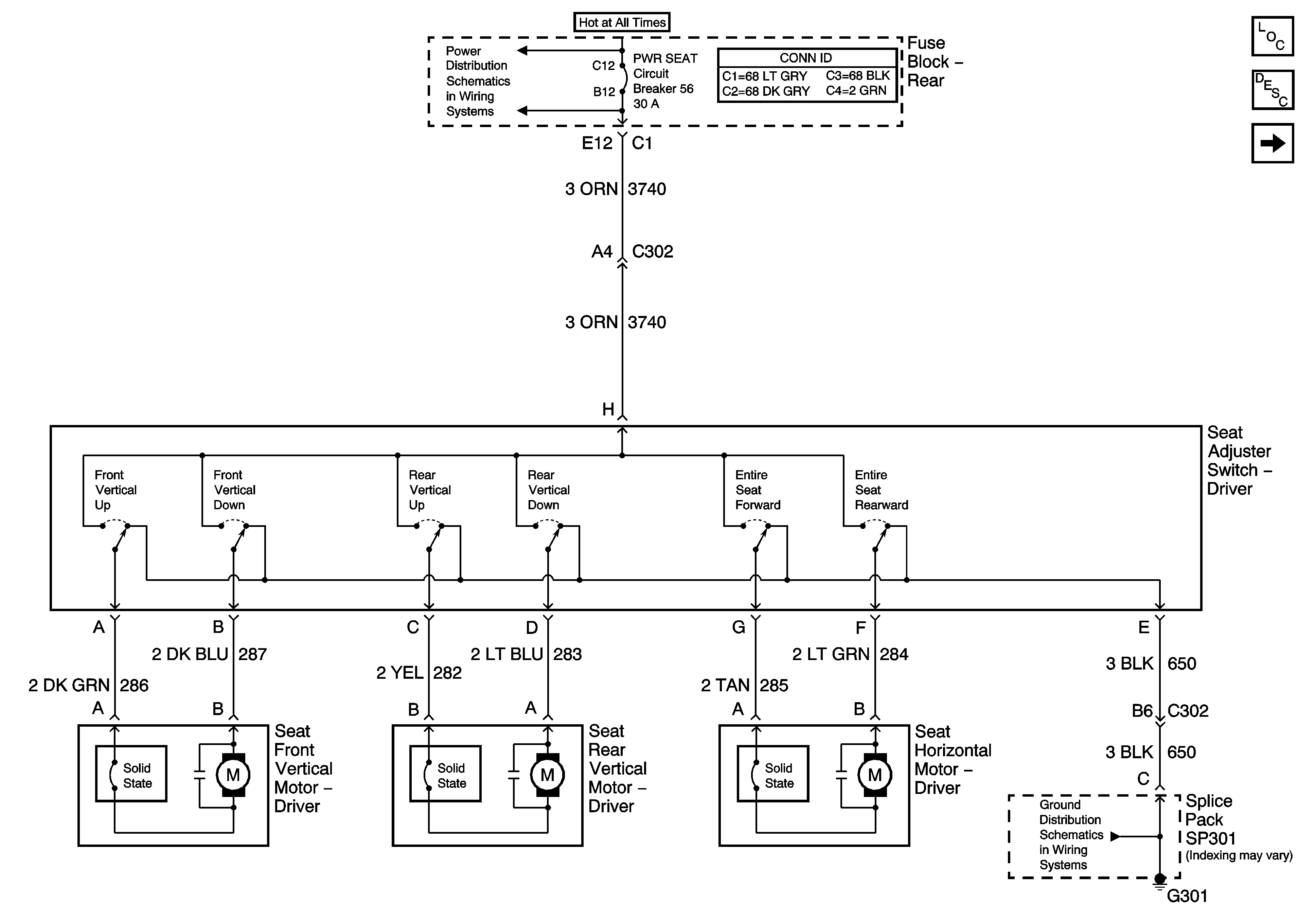
🢒 Power Seat Switch and Motors (w/o A51)
Power Seat Switch and Motors (w/o A51)
Seat Switch and Motors (w/o A51)
Master Electrical Component List
Power Seats System Description and Operation
Power Seat Switch and Motors (A51)
PWR WDO and PWR SEAT Circuit Breakers
G301 - 2 of 2