GM Service Manual Online
For 1990-2009 cars only
Makes
🢒
Pontiac
🢒
2005
🢒
Wave
🢒 Lumbar (w/o A45)
Lumbar (w/o A45)
Lumbar (w/o A45)
Master Electrical Component List
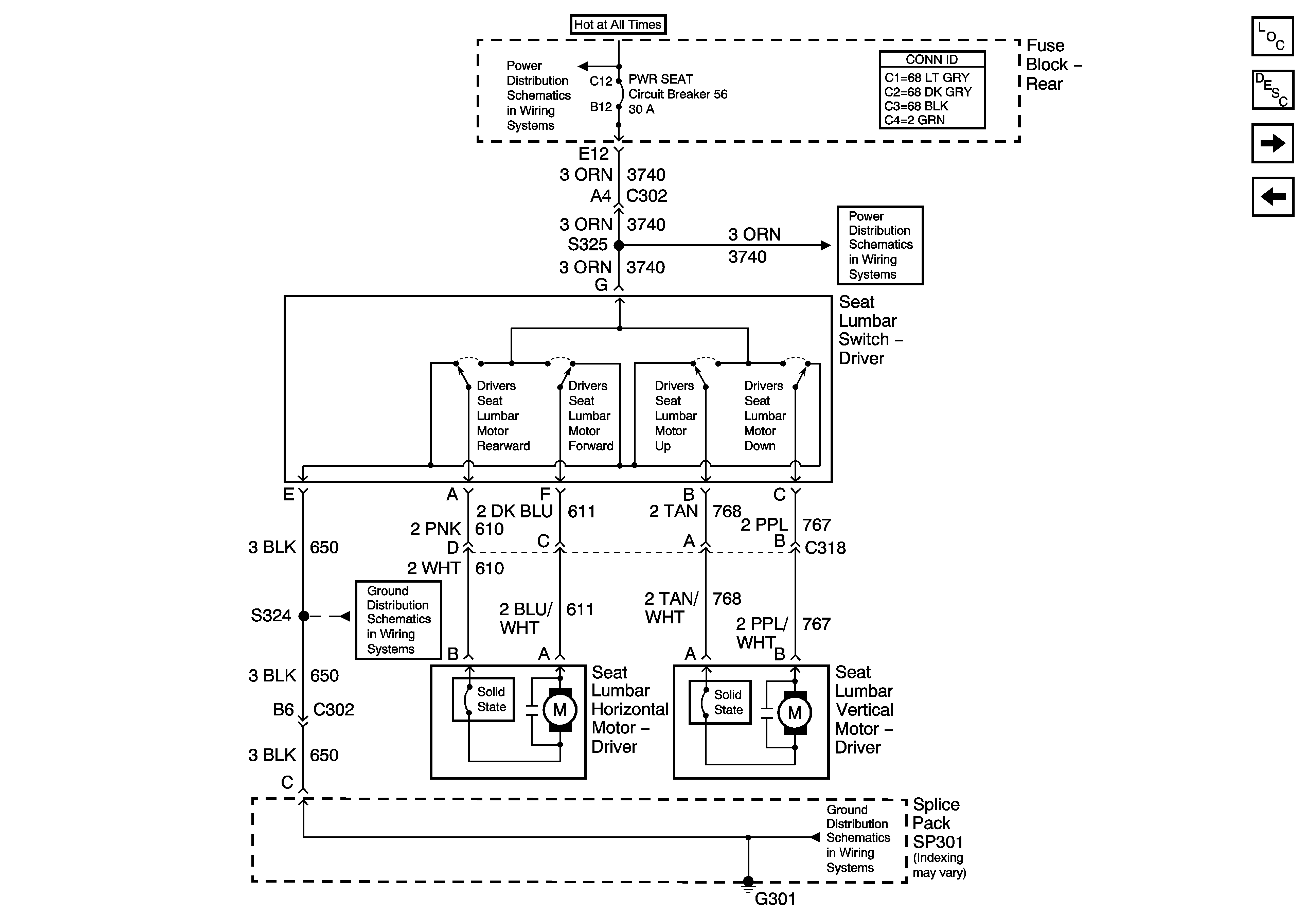
Lumbar Support Description and Operation w/o A45
Lumbar (A45)
Memory Seat Recline Motor and Sensor
PWR WDO and PWR SEAT Circuit Breakers
PWR WDO and PWR SEAT Circuit Breakers
G301 - 2 of 2
G301 - 2 of 2