GM Service Manual Online
For 1990-2009 cars only
Figure 1:

Upper End


Object Number: 1372466  Size: LF
(1)Engine Cover
(2)Oil Cap
(3)Valve Cover
(4)Valve Cover Bolt
(5)Valve Cover Washer
(6)Valve Cover Gasket
(7)Hydraulic Valve Lash Adjuster
(8)Valve Key
(9)Valve Spring Retainer
(10)Valve Spring
(11)Valve Stem Oil Seal
(12)Freeze Plug
(13)Exhaust manifold
(14)Nut
(15)Exhaust Manifold Heat Shield
(16)Oxygen Sensor
(17)Bolt
(18)Bolt
(19)Thermostat Housing Assembly
(20)Thermostat Housing Seal
(21)Cylinder Head Gasket
(22)Exhaust Valve
(23)Intake Valve
(24)Camshaft Seal
(25)Camshaft Position Sensor
(26)Washer
(27)Camshaft Gear Bolt
(28)Camshaft
(29)Plug
(30)Stud
(31)Engine Coolant Temperature Sensor
(32)Coolant Temperature Sensor
(33)Bolt
(34)Front Camshaft Cap
(35)Plug
(36)Valve Guide
(37)Intermediate Camshaft Cap
(38)Washer
(39)Head Bolt
(40)Exhaust Gas Recirculation Pipe
(41)Intake Manifold
(42)Throttle Body
(43)Intake Manifold Gasket
(44)Exhaust Manifold Gasket
(45)Cylinder Head
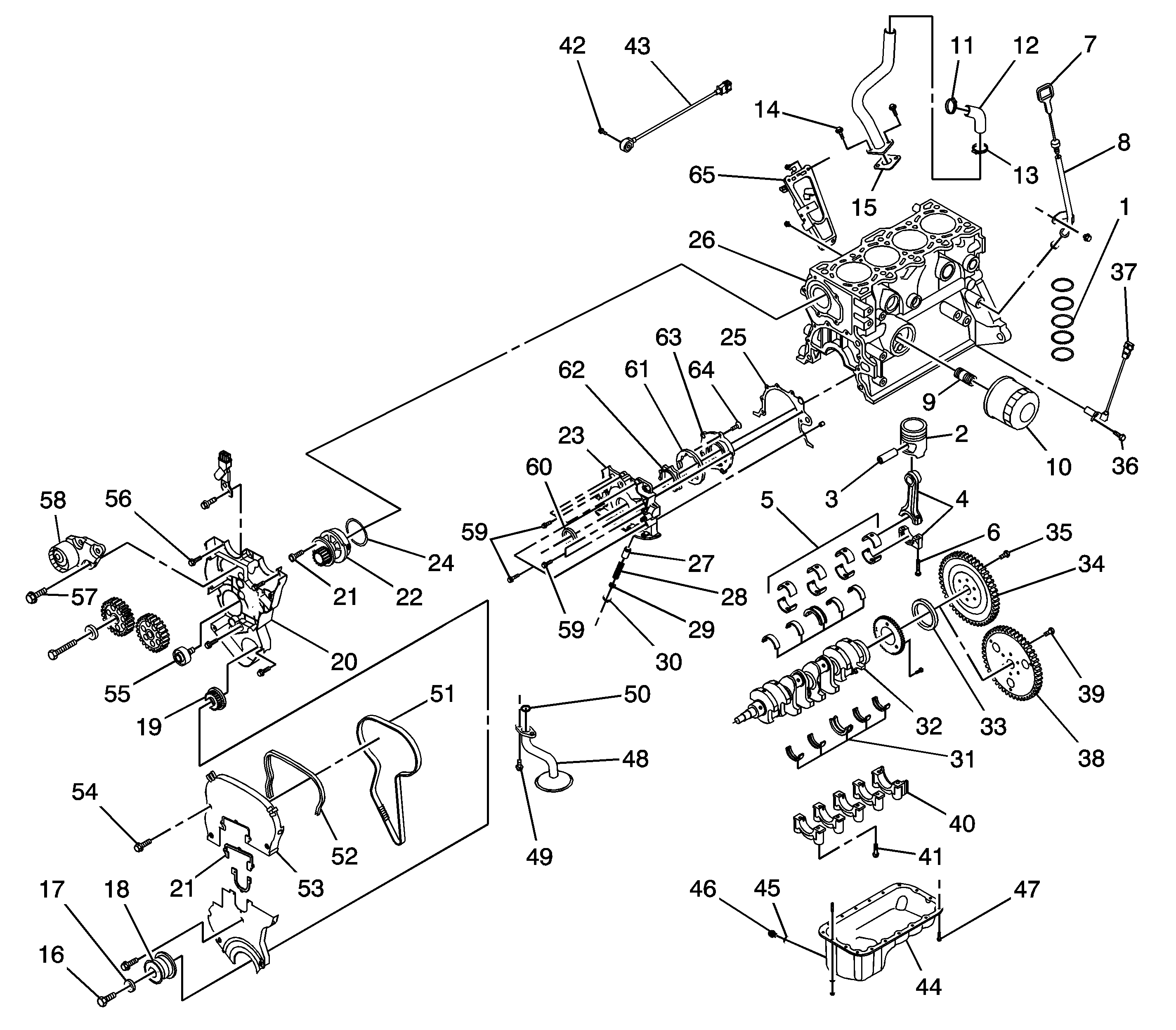
Figure 2:

Lower End


Object Number: 1372467  Size: LF
(1)Piston Ring Set
(2)Piston
(3)Piston Pin
(4)Connection Rod
(5)Connecting Rod Bearing Set
(6)Connecting Rod Bolt
(7)Oil Level Gage Stick
(8)Gage Stick Tube
(9)Connection Piece
(10)Oil Filter
(11)Hose Clamp
(12)Engine Ventilation Hose
(13)Engine Ventilation Pipe
(14)Bolt
(15)Oil Separator Gasket
(16)Crankshaft Pulley Bolt
(17)Washer
(18)Crankshaft Pulley
(19)Crankshaft Gear
(20)Rear Timing Belt Cover
(21)Bolt
(22)Coolant Pump
(23)Oil Pump
(24)Engine Block Seal Ring
(25)Oil Pump Body Gasket
(26)Engine Block
(27)Pressure Relief Valve Plunger
(28)Spring
(29)Oil Pump Seal Ring
(30)Bolt Plug
(31)Crankshaft Bearing Set
(32)Crankshaft
(33)Shaft Seal Ring
(34)Flywheel - Manual Transaxle
(35)Bolt - Manual Transaxle
(36)Bolt
(37)Crankshaft Position Sensor
(38)Flexible Plate - Automatic Transaxle
(39)Bolt - Automatic Transaxle
(40)Crankshaft Main Bearing Cap
(41)Bolt
(42)Bolt
(43)Knock Sensor
(44)Oil Pan
(45)Threaded Ring
(46)Bolt
(47)Bolt
(48)Oil Pickup Tube
(49)Bolt
(50)Seal
(51)Timing Belt
(52)Cover Seal
(53)Cover
(54)Bolt
(55)Idler Pulley
(56)Rear Cover Bolt
(57)Bolt
(58)Auto Tensioner
(59)Seal
(60)Bolt
(61)Gear
(62)Gear
(63)Cover
(64)Bolt
(65)Intake Manifold Support Bracket