GM Service Manual Online
For 1990-2009 cars only
Figure 1:

Upper End


Object Number: 1251621  Size: LF
(01)Bolt
(02)Cap - Bayonet Joint
(03)Valve Cover
(04)Cylinder Head Bolt
(05)Washer
(06)Camshaft Support
(07)Bolt
(08)Camshaft Pressure Plate
(09)Camshaft
(10)Roller Follower
(11)Roller Follower Lifter
(12)Cylinder Head Gasket
(13)Bolt
(14)Exhaust Manifold Heat Shield
(15)Exhaust Manifold
(16)Exhaust Oxygen Sensor
(17)Nut
(18)Exhaust Manifold Gasket
(19)Coolant Temperature Sensor
(20)Bolt-Stud
(21)Adapter
(22)Oil Duct Cap
(23)Oil Duct Cap
(24)Cylinder Head Oil Duct Sleeve
(25)Intake Valve
(26)Exhaust Valve
(27)Screw Plug
(28)Valve Guide
(29)Intake Valve Spring Seat
(30)Valve Key
(31)Valve Spring Plate
(32)Valve Spring
(33)Valve Stem Seal
(34)Exhaust Valve Spring Seat
(35)Bolt-Stud
(36)Valve Guide
(37)Bolt-Stud
(38)Thermostat
(39)Thermostat Housing Seal Ring
(40)Thermostat Housing
(41)Bolt
(42)Intake Manifold Gasket
(43)Nut
(44)Throttle Body
(45)Bolt
(46)Throttle Position Sensor
(47)Idle Air Control Valve
(48)Throttle Body Gasket
(49)Intake Manifold
(50)EGR Gasket
(51)EGR Valve
(52)Bolt
(53)Shaft Seal Ring
(54)Camshaft Position Sensor
(55)Valve Cover Gasket
(56)Tube
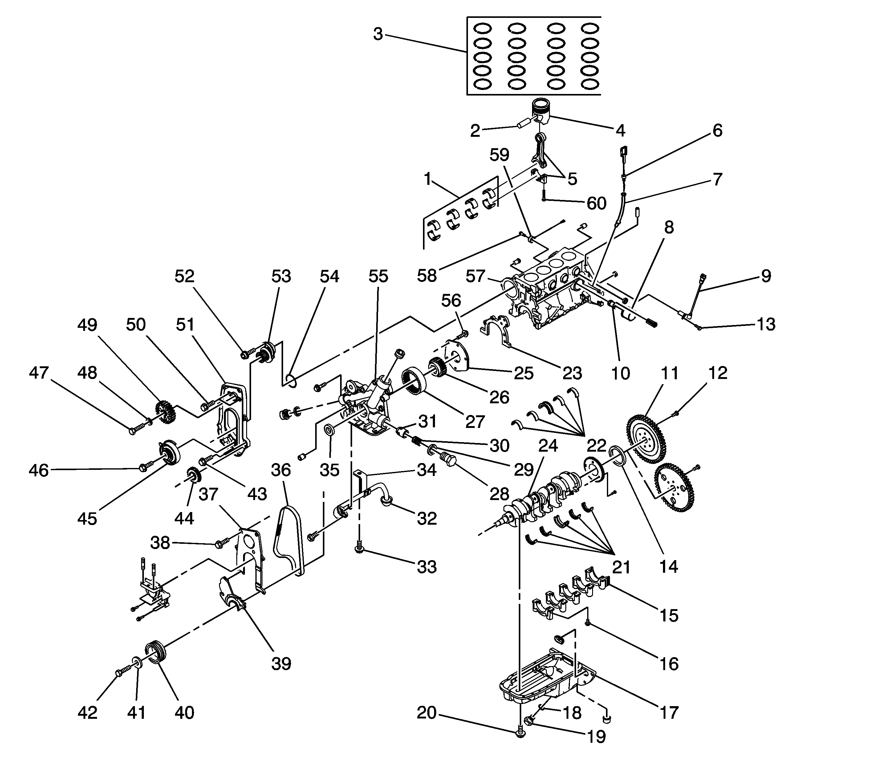
Figure 2:

Lower End


Object Number: 1248514  Size: LF
(1)Connecting Rod Bearing Set
(2)Piston Pin
(3)Piston Ring Set
(4)Piston
(5)Connecting Rod
(6)Oil Level Gage Stick
(7)Gage Stick Tube
(8)Oil Filter
(9)Crankshaft Position Sensor
(10)Connecting Piece
(11)Flywheel - Manual Transaxle
(12)Bolt - Manual Transaxle
(13)Bolt
(14)Shaft Seal Ring
(15)Main Bearing
(16)Main Bearing Cap Bolt
(17)Oil Pan
(18)Washer
(19)Drain Plug
(20)Bolt
(21)Crankshaft Bearing - Lower
(22)Crankshaft Bearing - Upper
(23)Oil Pump Body Gasket
(24)Gasket
(25)Cover
(26)Gear
(27)Gear
(28)Bolt Plug
(29)Oil Pump Seal Ring
(30)Spring
(31)Pressure Relief Valve Plunger
(32)Oil Pickup Tube
(33)Bolt
(34)Bracket
(35)Seal
(36)Timing Belt
(37)Upper Timing Belt Front Cover
(38)Bolt
(39)Lower Timing Belt Front Cover
(40)Crankshaft Pulley
(41)Washer
(42)Bolt
(43)Bolt
(44)Crankshaft Gear
(45)Auto Tensioner
(46)Bolt
(47)Camshaft Gear Bolt
(48)Washer
(49)Camshaft Gear
(50)Rear Cover Bolt
(51)Rear Timing Belt Cover
(52)Bolt
(53)Coolant Pump
(54)Seal Ring
(55)Oil Pump
(56)Bolt
(57)Engine Block
(58)Bolt
(59)Knock Sensor
(60)Connecting Rod Bolt