GM Service Manual Online
For 1990-2009 cars only
Figure 1:

Front Harness


Object Number: 1251612  Size: MF
(1)Position Lamp
(2)Theft Deterrent Alarm
(3)Turn Signal Lamp - LH Front
(4)Fog Lamp - LH Front
(5)Cooling Fan - Main
(6)Cooling Fan - Auxiliary
(7)A/C Compressor
(8)Fog Lamp - RH Front
(9)Position Lamp - RH
Figure 2:

Rear Compartment Lid Harness


Object Number: 1251613  Size: MF
(1)Tamper Switch
(2)License Plate Lamp
(3)Trunk Lid AJAR Switch
(4)Connector C402
Figure 3:

Body Harness


Object Number: 1251614  Size: MF
(1)Rear Speaker - RH
(2)CHMSL
(3)Trunk Room Lamp
(4)Rear Speaker - LH
(5)Connector C401
(6)Body Harness
(7)Rear Door AJAR Switch
(8)Rear Wheel Speed Sensor - LH
(9)Connector C371
(10)Front Door AJAR Switch
(11)Connectors C211, C210, C212, C213
(12)Hose
(13)Connector C351
(14)Roof Antenna Cable
(15)Door Lock Relay
(16)Connector C361
(17)Front Door AJAR Switch
(18)Connector C381
(19)Rear Wheel Speed Sensor - RH
(20)Rear Door AJAR Switch
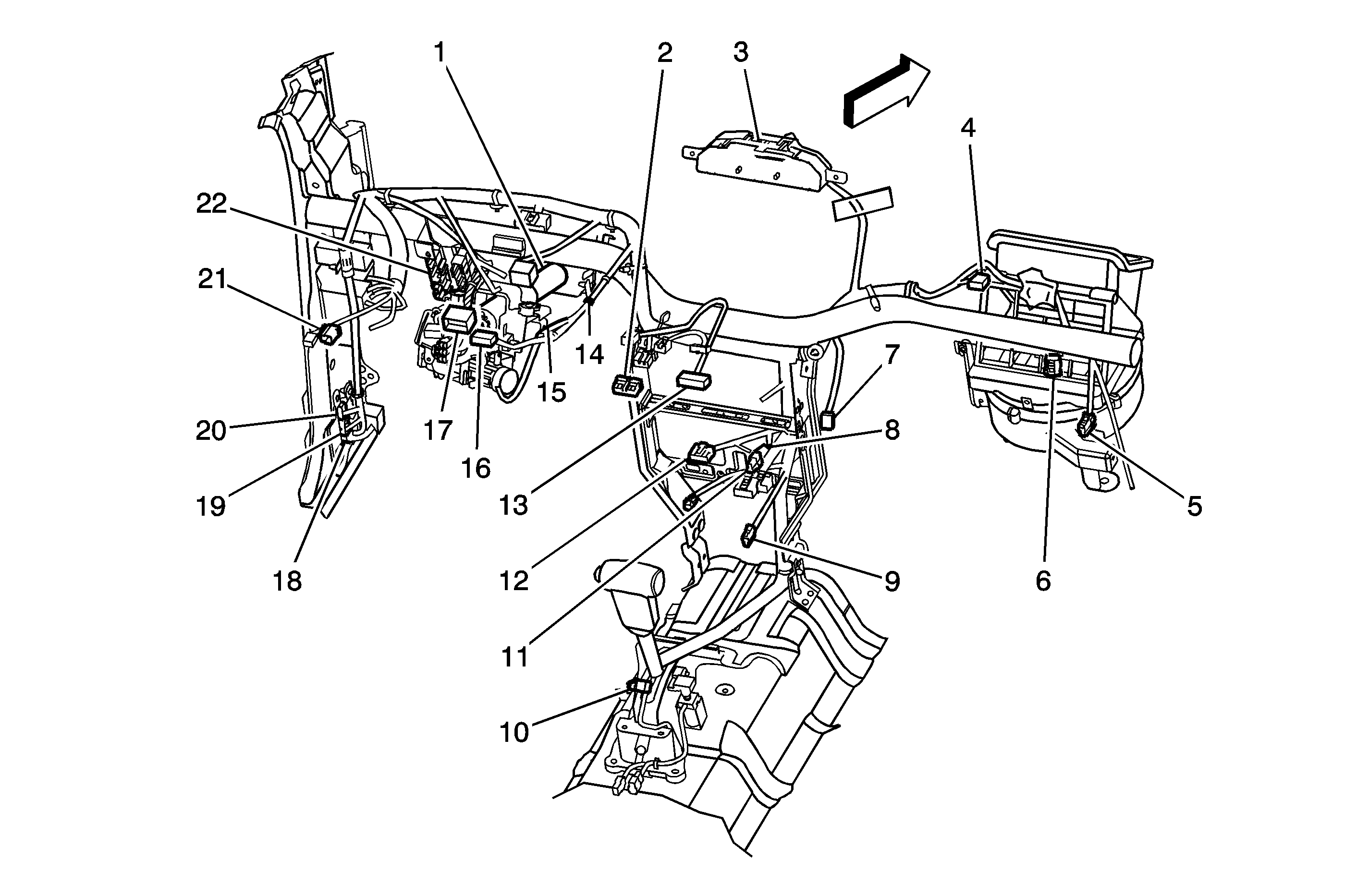
Figure 4:

I/P Harness


Object Number: 1251616  Size: MF
(1)Cluster
(2)DLC
(3)Clock
(4)Intake Actuator
(5)Blower Motor
(6)Resistor Blower
(7)DRL
(8)Connector C214
(9)Cigar Lighter
(10)BTSI Solenoid
(11)Illumination
(12)Blower Switch
(13)Audio
(14)Key Remind Switch
(15)Contact Coil
(16)Wiper Switch
(17)Inflatable Restraint Steering Wheel Module Coil
(18)Connector C210
(19)Connector C212
(20)Connector C213
(21)Head Lamp Leveling Switch
(22)C201 -- C205
Figure 5:

Door Harnesses


Object Number: 1251617  Size: LF
(1)Power Window Motor
(2)Power Window Switch
(3)Connector C371, C381 Similar
(4)Mirror Connector
(5)Mirror Switch
(6)Speaker
(7)Door Actuator - Front
(8)Door Actuator - Rear
Figure 6:

Ground Locations


Object Number: 1864226  Size: MF
(1)G104
(2)G101
(3)G105
(4)G103
(5)G202
(6)G201
(7)G301
(8)G402 Notchback
(9)G402 Hatchback
(10)G401
(11)G102