GM Service Manual Online
For 1990-2009 cars only

During reassembly, please refer to the spring specifications below to help you to discriminate between the different springs.

Upper Valve Body Spring


Object Number: 1225578  Size: LF
Figure 1:

Oil Pump


Object Number: 1248541  Size: MF
(1)Oil Pump Body
(2)Oil Pump Drive Gear
(3)Oil Pump Driven Gear
(4)Stator Shaft
(5)Bolt
Figure 2:

Direct Clutch


Object Number: 1248543  Size: MF
(1)Seal Ring
(2)Input Shaft Sub-Assembly
(3)O-Ring
(4)Piston
(5)O-Ring
(6)Return Spring
(7)Snap Ring
(8)Plate
(9)Disc
(10)Flange
(11)Snap Ring
Figure 3:

Planetary Ring Gear


Object Number: 1248544  Size: MF
(1)Snap Ring
(2)Planetary Ring Gear Flange
(3)Planetary Ring Gear
Figure 4:

One-Way Clutch


Object Number: 1248545  Size: MF
(1)Snap Ring
(2)One-Way Clutch
(3)Second Brake Hub
(4)Retainer
Figure 5:

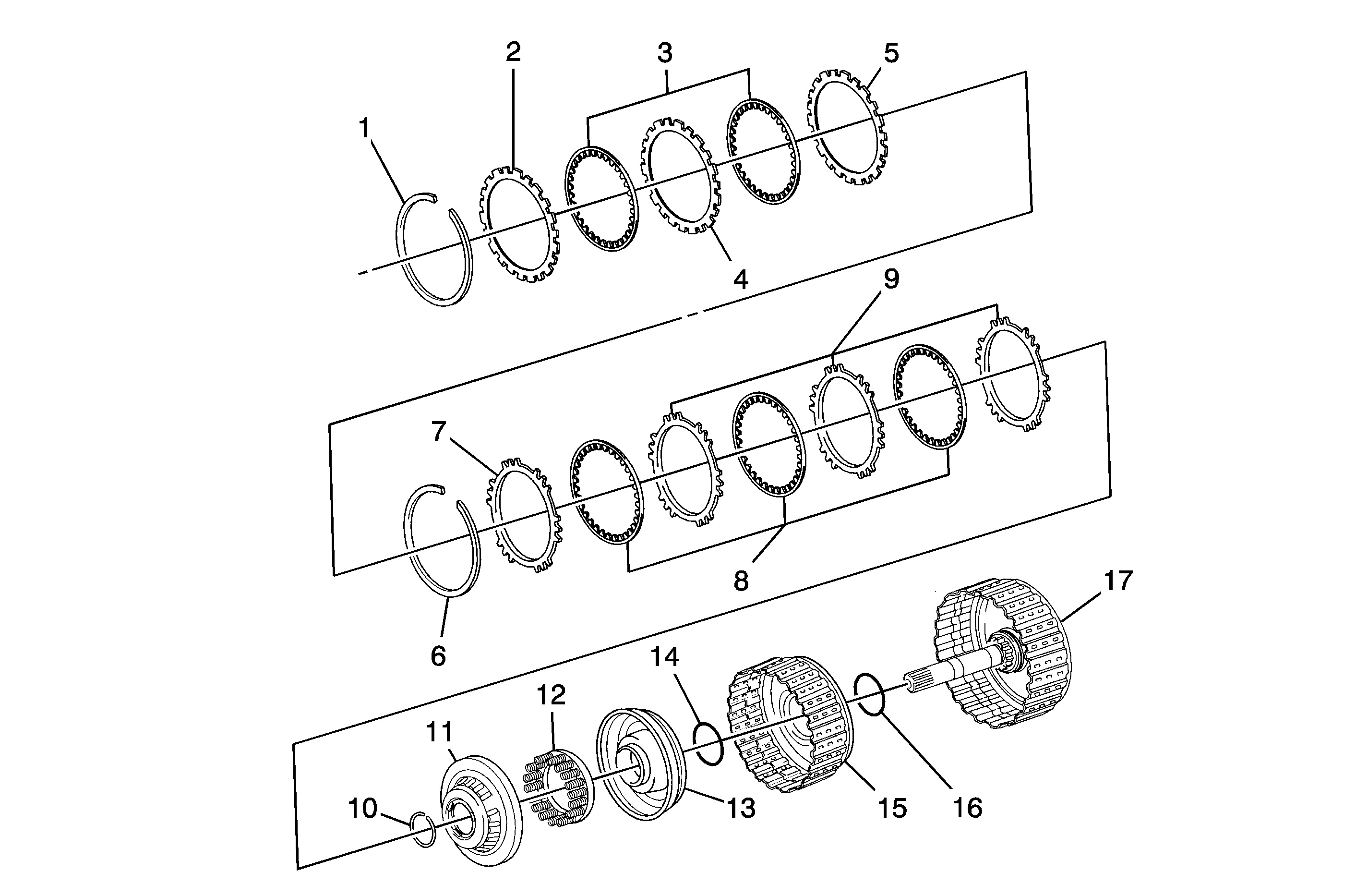
Forward and Reverse Clutch


Object Number: 1248546  Size: MF
(1)Seal Ring
(2)Flange
(3)Disc
(4)Plate
(5)Flange
(6)Snap Ring
(7)Flange
(8)Disc
(9)Plate
(10)Snap Ring
(11)Clutch Balancer
(12)Forward Clutch Return Spring
(13)Forward Clutch Piston
(14)O-Ring
(15)Forward Clutch Drum
(16)O-Ring
(17)Intermediate Shaft Sub-Assembly
Figure 6:

Counter Driven Gear


Object Number: 1225573  Size: MF
(1)Outer Tapered Roller Bearing Race
(2)Tapered Roller Bearing
(3)Counter Drive Pinion
(4)Counter Driven Gear
(5)Tapered Roller Bearing
(6)Outer Tapered Roller Bearing Race
Figure 7:

Valve Body 1 of 3


Object Number: 1225574  Size: LF
(1)Manual Valve
(2)Upper Valve Body
(3)Valve Body Plate
(4)Pressure Control Solenoid Valve
(5)Lower Valve Body
(6)Lock-Up Solenoid Valve
(7)Timing Solenoid Valve
(8)O-Ring
(9)O-Ring
(10)O-Ring
(11)No. 2 Solenoid Valve
(12)No. 1 Solenoid Valve
Figure 8:

Valve Body 2 of 3


Object Number: 1225575  Size: LF
(1)Cover
(2)Gasket
(3)Cover Plate
(4)Gasket
(5)Check Ball
(6)Spring
(7)Check Valve
(8)Ball
(9)Spring
(10)Pressure Relief Valve Spring Seat
Figure 9:

Valve Body 3 of 3


Object Number: 1225577  Size: LF
(1)Key
(2)Sleeve
(3)Spring
(4)Plunger
(5)Lock-Up Control Valve
(6)Reverse Control Valve
(7)Spring
(8)Key
(9)Plug
(10)Spring
(11)3-4 Shift Valve
(12)Spring
(13)O-Ring
(14)Reverse Clutch Accumulator Piston
(15)O-Ring
(16)Upper Valve Body Cover
(17)Spring
(18)O-Ring
(19)Second Brake Accumulator Piston
(20)O-Ring
(21)Spring
(22)3-4 Shift Timing Valve
(23)Plunger
(24)No. 1 Check Valve
(25)Ball
(26)No. 2 Check Valve
(27)Key
(28)Key
(29)Plug
(30)Secondary Regulator Valve
(31)Spring

Mark

Name

Color

Free Length

Outer Diameter

Total Number of Coils

Metric

English

Metric

English

1

3-4 Shift Valve

Red

25.5 mm

1.0039 in

9.73 mm

0.3831 in

7.75

2

Lock Up Control Valve

Yellow

20.87 mm

0.8217 in

5.55 mm

0.2185 in

11.15

3

Reverse Control Valve

--

25.58 mm

1.0071 in

8.64 mm

0.3402 in

8.75

4

Secondary Regulator Valve

White

34.56 mm

1.3606 in

8.8 mm

0.346 in

12.27

5

Reverse Clutch Accumulator Piston

--

65.4 mm

2.5748 in

17 mm

0.669 in

13.7

6

2nd Brake Accumulator Piston - Outer

White

69 mm

2.7165 in

16 mm

0.63 in

15.1

7

2nd Brake Accumulator Piston - Inner

--

45.9 mm

1.8071 in

10.5 mm

0.413 in

16.9

8

3-4 Shift Timing Valve

Pink

28.41 mm

1.1185 in

6.4 mm

0.252 in

10.49

Upper Valve Body Key


Object Number: 1225579  Size: LF

Mark

Retainer

Height

Width

Thickness

Metric

English

Metric

English

Metric

English

1

Check Valve

11.5 mm

0.453 in

5 mm

0.197 in

3.2 mm

0.126 in

2

Secondary Regulator Valve

16 mm

0.63 in

5 mm

0.197 in

3.2 mm

0.126 in

3

Lock Up Control Valve

16 mm

0.63 in

5 mm

0.197 in

3.2 mm

0.126 in

4

Reverse Control Valve

11.5 mm

0.453 in

5 mm

0.197 in

3.2 mm

0.126 in

Upper Valve Body Check Ball


Object Number: 1248159  Size: LF

Name

Metric

English

Check Ball

5.535 mm

0.21791 in

Figure 10:

Lower Valve Body


Object Number: 1225580  Size: LF
(1)Key
(2)Spring
(3)4-3 Shift Timing Valve
(4)Key
(5)Plug
(6)2-3 Shift Valve
(7)Spring
(8)Key
(9)Plug
(10)1-2 Shift Valve
(11)Spring
(12)Key
(13)Sleeve
(14)Plunger
(15)Spring
(16)Primary Regulator Valve
(17)Key
(18)Sleeve
(19)Plunger
(20)Spring
(21)Lock-Up Relay Valve
(22)Key
(23)Spring
(24)Solenoid Modulator Valve
(25)Solenoid Oil Strainer
(26)Lower Modulator Valve
(27)Spring
(28)Key
Figure 11:

Lower Valve Body Spring


Object Number: 1225582  Size: LF

Mark

Name

Color

Free Length

Outer Diameter

Total Number of Coils

Metric

English

Metric

English

1

4-3 Shift Timing Valve No. 1

--

33.95 mm

1.3366 in

8.2 mm

0.323 in

12.5

2

Primary Regulator Valve

--

50.53 mm

1.9894 in

13.6 mm

0.535 in

11.07

3

Lock Up Relay Valve

Red

23.42 mm

0.9221 in

5.86 mm

0.2307 in

12.25

4

Solenoid Modulator Valve

Yellow

32.13 mm

1.265 in

8 mm

0.315 in

15.75

5

1-2 Shift Valve

Red

25.5 mm

1.0039 in

9.73 mm

0.3831 in

7.75

6

2-3 Shift Valve

Red

25.5 mm

1.0039 in

9.73 mm

0.3831 in

7.75

7

Low Modulator Valve

--

30.43 mm

1.198 in

7.75 mm

0.3051 in

12.72

Lower Valve Body Key


Object Number: 1225583  Size: LF

Mark

Retainer

Height

Width

Thickness

Metric

English

Metric

English

Metric

English

1

4-3 Shift Timing Valve No. 1

36 mm

1.417 in

5 mm

0.197 in

3.2 mm

0.126 in

2

2-3 Shift Valve

10 mm

0.394 in

5 mm

0.197 in

3.2 mm

0.126 in

3

1-2 Shift Valve

10 mm

0.394 in

5 mm

0.197 in

3.2 mm

0.126 in

4

Primary Regulator Valve

9.8 mm

0.386 in

5.2 mm

0.205 in

3.2 mm

0.126 in

5

Lock Up Relay Valve

16 mm

0.63 in

5 mm

0.197 in

3.2 mm

0.126 in

6

Solenoid Modulator Valve

24 mm

0.945 in

5 mm

0.197 in

3.2 mm

0.126 in

7

Low Modulator Valve

24 mm

0.945 in

5 mm

0.197 in

3.2 mm

0.126 in

Differential Case


Object Number: 1225584  Size: LF
(1)Differential Pinion Thrust Washer
(2)Differential Pinion Gear
(3)Differential Side Gear Thrust Washer
(4)Differential Side Gear
(5)Pin
(6)Differential Pinion Shaft
(7)Oil Seal
(8)Side Bearing Outer Race
(9)Tapered Roller Bearing
(10)Differential Case
(11)Differential Ring Gear
(12)Tapered Roller Bearing
(13)Side Bearing Outer Race
(14)Shim
(15)Oil Seal