GM Service Manual Online
For 1990-2009 cars only

HVAC Component Views Hatchback

Figure 1:

HVAC Blower Controls


Object Number: 1467209  Size: MF
(1)Recirculation Actuator
(2)Blower Motor Resistor
(3)Blower Motor
(4)HVAC Control and Blower Switch
Figure 2:

A/C Compressor


Object Number: 1467211  Size: MF
(1)A/C Compressor Clutch
(2)A/C Refrigerent Pressure Sensor
Figure 3:

Left I/P Fuse Block


Object Number: 1495957  Size: LF
(1)Ignition Lock Module (North America)
(1)Rear Fog Relay (LHD - w/Rear Fog)
(2)Defog Relay (RHD)
(2)Turn Signal/Hazard Flasher (LHD)
(3)Wiper Relay
(4)Park/Neutral Position (PNP) Relay (RHD)
(4)Daytime Relay Lamp (DRL) Relay (Scandinavian)
(5)Blink Relay
(6)Blower Relay
(7)Turn Signal/Hazard Flasher (RHD)
(7)Park/Neutral Position (PNP) Relay (LHD)
(8)Defog Relay (LHD)
(8)Rear Fog Relay (RHD)
(9)Fuse Block - I/P
Figure 4:

V5 Compressor Assembly


Object Number: 1248561  Size: LF
(1)Shaft Nut
(2)Compressor Shaft
(3)Shaft and Guide Pin Assembly Cylinder
(4)Rear Head O-Ring
(5)Suction Reed
(6)Valve Plate
(7)Rear Head Gasket
(8)Retaining Ring
(9)Control Valve O-Ring
(10)Compressor Control Valve
(11)Rear Head Compressor
(12)Adaptor Compressor
(13)Pressure Relief Valve O-Ring
(14)Pressure Relief Valve
(15)Adaptor Bolt
(16)Through-Bolt
(17)Clutch Hub Key
(18)Clutch and Hub Keyway
(19)Through-Gasket
(20)Oil Drain Plug
(21)Bearing
(22)Compressor Housing-to-Cylinder O-Ring
(23)Race
(24)Thrust Washer
(25)Compressor Housing
(26)Shaft Seal O-Ring
(27)Shaft Lip Seal
(28)Seal Retaining Ring
(29)Clutch Coil
(30)Rotor Pulley
(31)Pulley Bearing
(32)Pulley Bearing-to-Head Retaining Ring
(33)Drive Plate Clutch
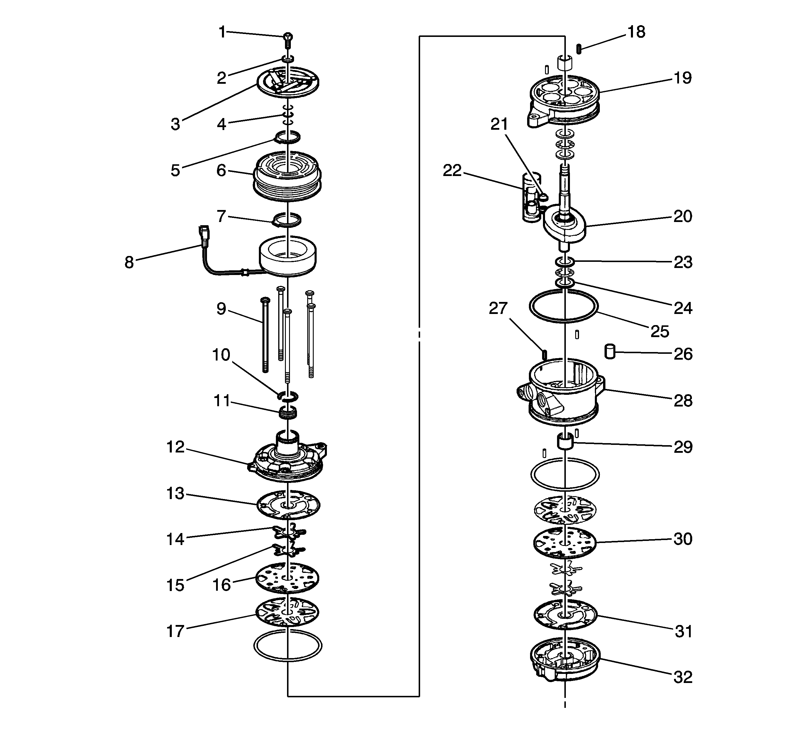
Figure 5:

SP10 Compressor Assembly (1.2L Engine)


Object Number: 1886637  Size: LF
(1)Shaft Bolt
(2)Shaft Bolt Washer
(3)Clutch and Drive Assembly
(4)Air Gap Shim
(5)Retaining Ring
(6)Pulley and Bearing Assembly
(7)Retaining Ring
(8)Coil and Housing Assembly
(9)Through Bolt
(10)Retaining Ring
(11)Lip Seal Assembly
(12)Front Head
(13)Front Head Gasket
(14)Discharge Reed Retainer
(15)Discharge Reed
(16)Front Valve Plate
(17)Suction Reed
(18)Parallel Locating Pin
(19)Front Compressor Cylinder
(20)Swash Plate and Shaft Assembly
(21)Piston Shoe
(22)Piston Assembly
(23)Thrust Bearing
(24)Thrust Bearing
(25)Cylinder O-Ring
(26)Bushing
(27)Roll Locating Pin
(28)Rear Compressor Cylinder
(29)Main Shaft Bearing
(30)Rear Valve Plate
(31)Rear Head Gasket
(32)Rear Head